- "Чудеса" случившиеся с вашими дорогими Куаси, Хмельницкими, Одесскими, Белорусскими, Русскими, Немецкими, Китайскими, Итальянскими и даже Американскими машинами.
- Various cases and problems with your IMM: Kuasy from DDR, Soviet-made machines, German, Chinese, American, Italian, Belarusian made machines.
-
ЗЮМ
- Эксперт Гидравлик
- Сообщения: 5583
- Зарегистрирован: 24 окт 2012, 20:41
- Страна, Регион, Область: СССР
- Город: Деревня Малая Малявня
- Откуда: деревня МАЛАЯ МАЛЯВНЯ
-
Благодарил (а):
602 раза
-
Поблагодарили:
816 раз
#91
Сообщение
ЗЮМ » 23 окт 2019, 21:46
ильшат 1 писал(а): ↑23 окт 2019, 21:03
Завтра по новой ,со снятыми фишками21-22,попробую отрегулировать кп6..., По поводу литья,в частности ,при недоливе продукции,рекомендуют увеличить скорость впрыска,вопрос,каким образом можно увеличить скорость и давление впрыска,набора,через Дельту или КП?
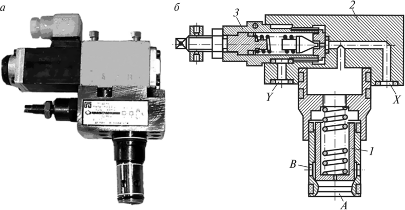
Повторяю: выкрутил винт-давления нету. Закручиваем рост от 0.......14 МПа. Контрим. Почему фишки снимаем?. Да потому что, если манжеты в цилиндре потрепанные, давление покажет меньше А на другом цилиндре исправном зашкалит. И с целью, по разнице давлений ( одеты фишки - сняты фишки) сделать вывод что пора разбирать цилиндр прижима сопла. Хорошо, если не понятно. Тупо нажимай руками ЭМ 29 и любой на насосе 51,52,42,53.- ВСЕ. И настраивай давление. На насосе надо нажимать потому, что без включения на насосе насос тупо не качает масло.Разбираемся с КП6. Итак уже кучу бумаги исписали об одном и том же

Да нервничаю , переживаю а как иначе.

-
ЗЮМ
- Эксперт Гидравлик
- Сообщения: 5583
- Зарегистрирован: 24 окт 2012, 20:41
- Страна, Регион, Область: СССР
- Город: Деревня Малая Малявня
- Откуда: деревня МАЛАЯ МАЛЯВНЯ
-
Благодарил (а):
602 раза
-
Поблагодарили:
816 раз
#92
Сообщение
ЗЮМ » 23 окт 2019, 22:17
Поймите еще одну вещь, при помощи манометра мы проверим состояние не только цилиндра прижима сопла а и цилиндра впрыска на КПД герметичность поршня. При помощи сбрасывания и одевания нужных фишек. Ни чего не разбирая. Это будет называться ДИАГНОСТИКОЙ. Проверка торпеды это отдельная история. Без всего этого дробилка будет плакать и молить о пощаде.
- За это сообщение автора ЗЮМ поблагодарил:
- Figaro
-
ЗЮМ
- Эксперт Гидравлик
- Сообщения: 5583
- Зарегистрирован: 24 окт 2012, 20:41
- Страна, Регион, Область: СССР
- Город: Деревня Малая Малявня
- Откуда: деревня МАЛАЯ МАЛЯВНЯ
-
Благодарил (а):
602 раза
-
Поблагодарили:
816 раз
#93
Сообщение
ЗЮМ » 24 окт 2019, 19:27
Что с КП6???
-
ЗЮМ
- Эксперт Гидравлик
- Сообщения: 5583
- Зарегистрирован: 24 окт 2012, 20:41
- Страна, Регион, Область: СССР
- Город: Деревня Малая Малявня
- Откуда: деревня МАЛАЯ МАЛЯВНЯ
-
Благодарил (а):
602 раза
-
Поблагодарили:
816 раз
#94
Сообщение
ЗЮМ » 25 окт 2019, 12:39
Тайм аут. Изучаем теорию.
-
ЗЮМ
- Эксперт Гидравлик
- Сообщения: 5583
- Зарегистрирован: 24 окт 2012, 20:41
- Страна, Регион, Область: СССР
- Город: Деревня Малая Малявня
- Откуда: деревня МАЛАЯ МАЛЯВНЯ
-
Благодарил (а):
602 раза
-
Поблагодарили:
816 раз
#95
Сообщение
ЗЮМ » 25 окт 2019, 16:52
pnevmoapparat.ru›upload/uf/a72/….pdf Разалио Агро ни когда не сдавался. Как я понял пока остановка. И в момент очень рискованный. Не сбрасывается давление на КП6. Либо принудительно заперли... Нужно перебирать. Очень опасно продолжать работать. По теории; за материалами даже не пришлось подключать жесткий диск. Все в открытом доступе есть.
-
Вложения
-

- линия управления в идет в обход желт.
-

- линия управления идет в обход желт.
-

- Линия управления сквозная через поршень.Наш клиент
-

- Линия управления через поршень наш клиент
-
ильшат 1
- Сообщения: 122
- Зарегистрирован: 26 сен 2019, 14:59
- Страна, Регион, Область: тАТАРСТАН
- Город: КУКМОР
-
Благодарил (а):
22 раза
-
Поблагодарили:
9 раз
#96
Сообщение
ильшат 1 » 26 окт 2019, 17:07
Добрый вечер всем,хотелось бы выразить огромную благодарность всем пользователям форума,участвовавшие в моей теме,особенно признателен товарищу ЗЮМ(Вячеславу),который как отец сыну обьяснил суть гидравлики в общем,и целенаправленно касаемо регулировок тпа по безопасной работе на них.... На сегодняшний день касаемо кп 6 все выставлено по манометру,дальше будем работать по плану №2(жду приезд манометров). Всем спасибо за участие!
-
Просто Жора
- Сообщения: 28
- Зарегистрирован: 24 дек 2019, 12:00
- Страна, Регион, Область: Россия.Южный Урал.74.
- Город: Карталы
-
Благодарил (а):
15 раз
-
Поблагодарили:
2 раза
#97
Сообщение
Просто Жора » 18 янв 2020, 10:35
Здравствуйте!Сделал я все рекомендации по посту 23,но никаких результатов,насос гудит но гидроцилиндр не двигается и обороты шнека маленькие.Подскажите что еще просмотреть?
-
ЗЮМ
- Эксперт Гидравлик
- Сообщения: 5583
- Зарегистрирован: 24 окт 2012, 20:41
- Страна, Регион, Область: СССР
- Город: Деревня Малая Малявня
- Откуда: деревня МАЛАЯ МАЛЯВНЯ
-
Благодарил (а):
602 раза
-
Поблагодарили:
816 раз
#98
Сообщение
ЗЮМ » 18 янв 2020, 10:53
Что на манометре У29 ? И какой цилиндр не двигает? Или все цилиндры ? Я так понимаю, регуляторы производительности закручены до конца? Но мы не видим стрелку наклона траверсы.? Давление управления на голову производительности поворота поворотного механизма? ШЕСТЬ ВОПРОСОВ.
-
Просто Жора
- Сообщения: 28
- Зарегистрирован: 24 дек 2019, 12:00
- Страна, Регион, Область: Россия.Южный Урал.74.
- Город: Карталы
-
Благодарил (а):
15 раз
-
Поблагодарили:
2 раза
#99
Сообщение
Просто Жора » 18 янв 2020, 11:36
Манометр на ноле,пк6 не реагирует,насос гудит!
-
Просто Жора
- Сообщения: 28
- Зарегистрирован: 24 дек 2019, 12:00
- Страна, Регион, Область: Россия.Южный Урал.74.
- Город: Карталы
-
Благодарил (а):
15 раз
-
Поблагодарили:
2 раза
#100
Сообщение
Просто Жора » 18 янв 2020, 11:43
ТПА работал нормально,но месяц назад отказала левая сторона гидравлики,порекомендовали промыть все клапана и распределители,в итоге отказала и правая. Неделю назад зашел на этот форум,прочитал все посты,сделал по рекомендации, результата никакого.
-
ЗЮМ
- Эксперт Гидравлик
- Сообщения: 5583
- Зарегистрирован: 24 окт 2012, 20:41
- Страна, Регион, Область: СССР
- Город: Деревня Малая Малявня
- Откуда: деревня МАЛАЯ МАЛЯВНЯ
-
Благодарил (а):
602 раза
-
Поблагодарили:
816 раз
#101
Сообщение
ЗЮМ » 18 янв 2020, 11:46
Нажмите вручную сороковой и смотрите на манометр У29-го. Давление появится или нет. ? То есть одновременно кнопкой нажать например набор материала и вручную нажать сороковой. Подозрение на разгрузку насоса через сороковой. Путь ухода масла от напэсла через неисправный У30. Версия такая. Проверить 30-й если давление появится.
-
Просто Жора
- Сообщения: 28
- Зарегистрирован: 24 дек 2019, 12:00
- Страна, Регион, Область: Россия.Южный Урал.74.
- Город: Карталы
-
Благодарил (а):
15 раз
-
Поблагодарили:
2 раза
#102
Сообщение
Просто Жора » 18 янв 2020, 12:09
Учусь осваивать форум,поэтому доходит медленно!

-
Просто Жора
- Сообщения: 28
- Зарегистрирован: 24 дек 2019, 12:00
- Страна, Регион, Область: Россия.Южный Урал.74.
- Город: Карталы
-
Благодарил (а):
15 раз
-
Поблагодарили:
2 раза
#103
Сообщение
Просто Жора » 18 янв 2020, 12:11
Разбирал 30,давил 40,манометр рабочий поставил.
-
ЗЮМ
- Эксперт Гидравлик
- Сообщения: 5583
- Зарегистрирован: 24 окт 2012, 20:41
- Страна, Регион, Область: СССР
- Город: Деревня Малая Малявня
- Откуда: деревня МАЛАЯ МАЛЯВНЯ
-
Благодарил (а):
602 раза
-
Поблагодарили:
816 раз
#105
Сообщение
ЗЮМ » 18 янв 2020, 12:21
Ой -я ей... Относительно чего с правой? Фотки умерли. Начинать надо с нуля. Иду в Мосгорархив за фоткой.

-
ЗЮМ
- Эксперт Гидравлик
- Сообщения: 5583
- Зарегистрирован: 24 окт 2012, 20:41
- Страна, Регион, Область: СССР
- Город: Деревня Малая Малявня
- Откуда: деревня МАЛАЯ МАЛЯВНЯ
-
Благодарил (а):
602 раза
-
Поблагодарили:
816 раз
#106
Сообщение
ЗЮМ » 18 янв 2020, 12:23
Просто Жора писал(а): ↑18 янв 2020, 12:09
Учусь осваивать форум,поэтому доходит медленно!
Учится, учится и еще раз , завещал великий Ленин.

Итак ищем У29. А где ИЛЬШАТ?
-
Вложения
-
![IMG_20191020_074230[1] Одесса 1000..jpg (2.86 МБ) 4963 просмотра IMG_20191020_074230[1] Одесса 1000..jpg](./download/file.php?id=24984&t=1)
-
Просто Жора
- Сообщения: 28
- Зарегистрирован: 24 дек 2019, 12:00
- Страна, Регион, Область: Россия.Южный Урал.74.
- Город: Карталы
-
Благодарил (а):
15 раз
-
Поблагодарили:
2 раза
#107
Сообщение
Просто Жора » 18 янв 2020, 12:35
Давил 40 стрелка чуть-чуть от ноля дернулась!
-
Просто Жора
- Сообщения: 28
- Зарегистрирован: 24 дек 2019, 12:00
- Страна, Регион, Область: Россия.Южный Урал.74.
- Город: Карталы
-
Благодарил (а):
15 раз
-
Поблагодарили:
2 раза
#108
Сообщение
Просто Жора » 18 янв 2020, 12:37
Давил 40 стрелка чуть-чуть от ноля дернулась!На Вашей фото 53 снизу,на ТПА у нас сверху по шильдику!
-
ЗЮМ
- Эксперт Гидравлик
- Сообщения: 5583
- Зарегистрирован: 24 окт 2012, 20:41
- Страна, Регион, Область: СССР
- Город: Деревня Малая Малявня
- Откуда: деревня МАЛАЯ МАЛЯВНЯ
-
Благодарил (а):
602 раза
-
Поблагодарили:
816 раз
#109
Сообщение
ЗЮМ » 18 янв 2020, 12:41
Хорошо. Давай по другому. Работаем в наладке: 1) Снимаем разъемы с У21-У22. Сняли. 2) Нажимаем подвод или отвод сопла КНОПКОЙ на пульте.. Смотрим давление на двадцать девятом. Определяемся с нужным манометром. При этом действии включаются У21,У29,У51. У21 обесточен снят разьем и У22. Все. Значит работают два магнита 29 и 51. Смотрим что происходит на манометре.
-
Просто Жора
- Сообщения: 28
- Зарегистрирован: 24 дек 2019, 12:00
- Страна, Регион, Область: Россия.Южный Урал.74.
- Город: Карталы
-
Благодарил (а):
15 раз
-
Поблагодарили:
2 раза
#110
Сообщение
Просто Жора » 18 янв 2020, 12:47
Если давить 53 как на Вашем фото, то насос гудит слабо!
-
Просто Жора
- Сообщения: 28
- Зарегистрирован: 24 дек 2019, 12:00
- Страна, Регион, Область: Россия.Южный Урал.74.
- Город: Карталы
-
Благодарил (а):
15 раз
-
Поблагодарили:
2 раза
#111
Сообщение
Просто Жора » 18 янв 2020, 12:49
Всю операцию провел по 23 посту,манометр только дернулся и то когда повернул регулятор на 1!
-
ЗЮМ
- Эксперт Гидравлик
- Сообщения: 5583
- Зарегистрирован: 24 окт 2012, 20:41
- Страна, Регион, Область: СССР
- Город: Деревня Малая Малявня
- Откуда: деревня МАЛАЯ МАЛЯВНЯ
-
Благодарил (а):
602 раза
-
Поблагодарили:
816 раз
#112
Сообщение
ЗЮМ » 18 янв 2020, 12:55
ЗЮМ писал(а): ↑18 янв 2020, 12:41
Хорошо. Давай по другому. Работаем в наладке: 1) Снимаем разъемы с У21-У22. Сняли. 2) Нажимаем подвод или отвод сопла КНОПКОЙ на пульте.. Смотрим давление на двадцать девятом. Определяемся с нужным манометром. При этом действии включаются У21-22,У29,У51. У21 обесточен снят разьем и У22. Все. Значит работают два магнита 29 и 51. Смотрим что происходит на манометре.
Жора ты вот это сделал что я написал.? И еще ты утверждаешь что магниты на голове подписаны не верно.
-
Вложения
-

-
Просто Жора
- Сообщения: 28
- Зарегистрирован: 24 дек 2019, 12:00
- Страна, Регион, Область: Россия.Южный Урал.74.
- Город: Карталы
-
Благодарил (а):
15 раз
-
Поблагодарили:
2 раза
#113
Сообщение
Просто Жора » 18 янв 2020, 13:04
Тов.ЗЮМ что еще нужно сделать ,что пустить машину?

-
Просто Жора
- Сообщения: 28
- Зарегистрирован: 24 дек 2019, 12:00
- Страна, Регион, Область: Россия.Южный Урал.74.
- Город: Карталы
-
Благодарил (а):
15 раз
-
Поблагодарили:
2 раза
#114
Сообщение
Просто Жора » 18 янв 2020, 13:07
Ну да,магниты у нас почему то по другому.Как на рисунке Вашем эти тоже нужно регулировать?
-
ЗЮМ
- Эксперт Гидравлик
- Сообщения: 5583
- Зарегистрирован: 24 окт 2012, 20:41
- Страна, Регион, Область: СССР
- Город: Деревня Малая Малявня
- Откуда: деревня МАЛАЯ МАЛЯВНЯ
-
Благодарил (а):
602 раза
-
Поблагодарили:
816 раз
#115
Сообщение
ЗЮМ » 18 янв 2020, 13:09
На мои просто вопросы отвечать, идет следствие что бы определить круг подозреваемых. Так что на манометре? При нажатии подвода отвода сопла? Давление- звук.?
-
Вложения
-
![IMG_20191020_074230[1] Одесса 1000..jpg (3.15 МБ) 4938 просмотров IMG_20191020_074230[1] Одесса 1000..jpg](./download/file.php?id=24987&t=1)
-
ЗЮМ
- Эксперт Гидравлик
- Сообщения: 5583
- Зарегистрирован: 24 окт 2012, 20:41
- Страна, Регион, Область: СССР
- Город: Деревня Малая Малявня
- Откуда: деревня МАЛАЯ МАЛЯВНЯ
-
Благодарил (а):
602 раза
-
Поблагодарили:
816 раз
#116
Сообщение
ЗЮМ » 18 янв 2020, 13:46
Так, я думал это автор темы Татарстан. А это Урал оказывается. Испорченный телефон получается. Звоню в Татарстан, ищу Жору, нет такого говорят. Теперь ясно, что ни чего не ясно.

Вчера был тяжелый день.
-
ЗЮМ
- Эксперт Гидравлик
- Сообщения: 5583
- Зарегистрирован: 24 окт 2012, 20:41
- Страна, Регион, Область: СССР
- Город: Деревня Малая Малявня
- Откуда: деревня МАЛАЯ МАЛЯВНЯ
-
Благодарил (а):
602 раза
-
Поблагодарили:
816 раз
#117
Сообщение
ЗЮМ » 18 янв 2020, 13:48
Просто Жора писал(а): ↑18 янв 2020, 13:04
Тов.ЗЮМ что еще нужно сделать ,что пустить машину?
начинать с контроля давления и исправных манометров.
-
ЗЮМ
- Эксперт Гидравлик
- Сообщения: 5583
- Зарегистрирован: 24 окт 2012, 20:41
- Страна, Регион, Область: СССР
- Город: Деревня Малая Малявня
- Откуда: деревня МАЛАЯ МАЛЯВНЯ
-
Благодарил (а):
602 раза
-
Поблагодарили:
816 раз
#118
Сообщение
ЗЮМ » 18 янв 2020, 14:41
Просто Жора писал(а): ↑18 янв 2020, 12:47
Если давить 53 как на Вашем фото, то насос гудит слабо!
Он и будет слабо гудеть! Надо пару нажимать 29 и любой из 51-52-53-42.
-
Просто Жора
- Сообщения: 28
- Зарегистрирован: 24 дек 2019, 12:00
- Страна, Регион, Область: Россия.Южный Урал.74.
- Город: Карталы
-
Благодарил (а):
15 раз
-
Поблагодарили:
2 раза
#119
Сообщение
Просто Жора » 20 янв 2020, 07:51
Приветствую!Все проводил по Вашим рекомендациям,даже закрутил винт на правом насосе.но ничего,как будто левый насос не работает или сбрасывает какой то клапан.

-
ЗЮМ
- Эксперт Гидравлик
- Сообщения: 5583
- Зарегистрирован: 24 окт 2012, 20:41
- Страна, Регион, Область: СССР
- Город: Деревня Малая Малявня
- Откуда: деревня МАЛАЯ МАЛЯВНЯ
-
Благодарил (а):
602 раза
-
Поблагодарили:
816 раз
#120
Сообщение
ЗЮМ » 20 янв 2020, 09:17
Написал в личку. разберемся потихоньку. Дай фото машины. гидроприводов с блоками.

Буду вечером. Левый правый насос это не понятно. Называем насосы по именам или по магнитам ( номерам) нагрузки.
Кто сейчас на конференции
Сейчас этот форум просматривают: Google Adsense [Bot] и 10 гостей