Принимайте новеньких. Куаси 170/55
-
- Сообщения: 87
- Зарегистрирован: 22 мар 2023, 10:16
- Страна, Регион, Область: Россия
- Город: Москва
- Благодарил (а): 6 раз
- Поблагодарили: 1 раз
Re: Принимайте новеньких. Куаси 170/55
DIN43650A - вот наша модель по размерам !
Вот только не знаю у нас все саленоиды 3pin или есть и 4pin ?
Ого 12 или 24 - у нас какие катушки в саленоидах AC или DC и на какое напряжение ?
на Али по 675р - но с маленькой поправочкой за 10шт !
Вот только не знаю у нас все саленоиды 3pin или есть и 4pin ?
Ого 12 или 24 - у нас какие катушки в саленоидах AC или DC и на какое напряжение ?
на Али по 675р - но с маленькой поправочкой за 10шт !
- Вложения
-
- DIN43650A .jpg (63.34 КБ) 8284 просмотра
-
- Эксперт Гидравлик
- Сообщения: 5584
- Зарегистрирован: 24 окт 2012, 20:41
- Страна, Регион, Область: СССР
- Город: Деревня Малая Малявня
- Откуда: деревня МАЛАЯ МАЛЯВНЯ
- Благодарил (а): 602 раза
- Поблагодарили: 816 раз
Re: Принимайте новеньких. Куаси 170/55
24 в. 3 контакта. В Котляково дешевле. 300 с копейками за шт. DIN 43650 LED DC 24v з контакта
Последний раз редактировалось ЗЮМ 29 мар 2023, 15:38, всего редактировалось 2 раза.
-
- Эксперт Гидравлик
- Сообщения: 5584
- Зарегистрирован: 24 окт 2012, 20:41
- Страна, Регион, Область: СССР
- Город: Деревня Малая Малявня
- Откуда: деревня МАЛАЯ МАЛЯВНЯ
- Благодарил (а): 602 раза
- Поблагодарили: 816 раз
- Олька
- Сообщения: 1012
- Зарегистрирован: 18 окт 2010, 17:36
- Страна, Регион, Область: Россия, Северо-западный регион, Новгородская обл.
- Город: Великий Новгород
- Откуда: Великий Новгород
- Благодарил (а): 32 раза
- Поблагодарили: 84 раза
Re: Принимайте новеньких. Куаси 170/55
Вячеслав привет!
Я чето не успеваю читать! Я так понимаю появилась машина и ее хотят "модернизировать"???!!!
Я чето не успеваю читать! Я так понимаю появилась машина и ее хотят "модернизировать"???!!!
Злая ты, Олечка!
-
- Эксперт Гидравлик
- Сообщения: 5584
- Зарегистрирован: 24 окт 2012, 20:41
- Страна, Регион, Область: СССР
- Город: Деревня Малая Малявня
- Откуда: деревня МАЛАЯ МАЛЯВНЯ
- Благодарил (а): 602 раза
- Поблагодарили: 816 раз
Re: Принимайте новеньких. Куаси 170/55
Олька привет. У Автора Стратегического плана нет. Опыта, знаний маловато. Но обещает удивить. Машина пока на улице. Предитстории нет. Автор загнал вопросами в угол это меня значит. Общим и учим матчасть и законы гидродинамики. Идеи есть. Конкретики мало. Помогай советами.
- Олька
- Сообщения: 1012
- Зарегистрирован: 18 окт 2010, 17:36
- Страна, Регион, Область: Россия, Северо-западный регион, Новгородская обл.
- Город: Великий Новгород
- Откуда: Великий Новгород
- Благодарил (а): 32 раза
- Поблагодарили: 84 раза
Re: Принимайте новеньких. Куаси 170/55
А есть ли смысл такой модернизации? Меня тоже 8 лет назад такие мысли посещали. Куаси 630/160-ll с пропорциональным впрыском тогда мне предложили пол ляма. Вопрос был закрыт.ЗЮМ писал(а): ↑29 мар 2023, 16:59Олька привет. У Автора Стратегического плана нет. Опыта, знаний маловато. Но обещает удивить. Машина пока на улице. Предитстории нет. Автор загнал вопросами в угол это меня значит. Общим и учим матчасть и законы гидродинамики. Идеи есть. Конкретики мало. Помогай советами.
У меня сейчас в работе 7мь куасишек. Самая молодая 91 года. Старая 82го. И пять китайцев в помощь.
Я куаси покупала в максимально возможном хорошем состоянии. Если можно так сказать. Естественно смотрела их в работе. Понимала что восстанавливать, меня не устраивало.
Машины приезжали ко мне и сразу чистка бака, масло, по максимуму устранить течь масла. По сей день давление как в паспорте. Блокировки и прочие органы управления всё работает.
Одна машина ко мне приехала как на запчасти. Я на неё посмотрела, и сказала: что будем жить дальше!
Масло, электричество, немного моей крови и она заработала.
Я просто к чему... Зачем такие сложности? Заливайте масло, подавайте напругу и вперёд!!! Далее по мере поступления проблем/вопросов!
- Рейтинг: 5%
Злая ты, Олечка!
-
- Сообщения: 87
- Зарегистрирован: 22 мар 2023, 10:16
- Страна, Регион, Область: Россия
- Город: Москва
- Благодарил (а): 6 раз
- Поблагодарили: 1 раз
Re: Принимайте новеньких. Куаси 170/55
На какое давление расчитан это бесконтактный выключатель ?
- Вложения
-
- Чегото нет _есть ответjpg.jpg (143.64 КБ) 8170 просмотров
-
- Эксперт Гидравлик
- Сообщения: 5584
- Зарегистрирован: 24 окт 2012, 20:41
- Страна, Регион, Область: СССР
- Город: Деревня Малая Малявня
- Откуда: деревня МАЛАЯ МАЛЯВНЯ
- Благодарил (а): 602 раза
- Поблагодарили: 816 раз
Re: Принимайте новеньких. Куаси 170/55
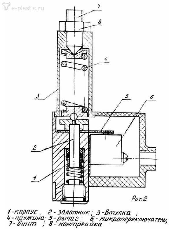
БВК на давление не рассчитан. Он реагирует на приближение инициатора (металла) который внутри , назавем его реле давления, ход инициатора линейный в мм и постоянный. БВК вкручивается и срабатывает с зазором от торца 0-3 мм примерно. В сторону БВК инициатор двигается под воздействием давления жидкости, назад возвращается под воздействие. Пружины. Принцип примерно такой. Только вместо геркона БВК. А внутри двигающийся золотничек поршень. Думаю закисло все там. Переберешь заодно и изучишь устройство.
- Вложения
-
- i (22).jpeg (51.15 КБ) 8159 просмотров
-
- Эксперт Гидравлик
- Сообщения: 5584
- Зарегистрирован: 24 окт 2012, 20:41
- Страна, Регион, Область: СССР
- Город: Деревня Малая Малявня
- Откуда: деревня МАЛАЯ МАЛЯВНЯ
- Благодарил (а): 602 раза
- Поблагодарили: 816 раз
Re: Принимайте новеньких. Куаси 170/55
Только сейчас заметил, что понимал работу реле наоборот. В смысле движения внутренностей. Оказывается: согласно понимания схемы. Инициатор поршень прижат пружиной к зоне действия БВК и это значит что выключатель нормально замкнутый. То есть при воздействии инициатора контакт разомкнут. При подаче жидкости поршень сжимая пружину отходит от БВК и контакт Замыкается передавая команду на впрыск , то есть на Y 351. Надо сразу отметить что поток сливной магистрали ( это не напорная магистраль) постоянно циркулирует через реле и поршень постоянно движется туда обратно. НО, по электросхеме он БВК , среагирует только при работе включении Y 271. Сопло прижать. И контрольный светодиод, постоянно промаргивает при работе всех движений , это нормально. Жалоб на работу этого узла очень много. Поэтому и подпись на фото. Дурацкий. Малейший задирчик, мусор блокирует его работу. так как давление на сливе идущим через реле дохлое. То есть низкое. К чему такие подробности. А что б вопросов в будущем было поменьше. Ведь все еще впереди.
Последний раз редактировалось ЗЮМ 30 мар 2023, 09:57, всего редактировалось 3 раза.
-
- Сообщения: 87
- Зарегистрирован: 22 мар 2023, 10:16
- Страна, Регион, Область: Россия
- Город: Москва
- Благодарил (а): 6 раз
- Поблагодарили: 1 раз
Re: Принимайте новеньких. Куаси 170/55
Ну если есть пружина - есть и сопротивление давлению ! по сути понял что оно минимально и это своего рода датчик протока жидкости.
-
- Эксперт Гидравлик
- Сообщения: 5584
- Зарегистрирован: 24 окт 2012, 20:41
- Страна, Регион, Область: СССР
- Город: Деревня Малая Малявня
- Откуда: деревня МАЛАЯ МАЛЯВНЯ
- Благодарил (а): 602 раза
- Поблагодарили: 816 раз
Re: Принимайте новеньких. Куаси 170/55
Да, ну и полностью дочитай редакцию поста выше. Не спеши.

-
- Сообщения: 87
- Зарегистрирован: 22 мар 2023, 10:16
- Страна, Регион, Область: Россия
- Город: Москва
- Благодарил (а): 6 раз
- Поблагодарили: 1 раз
Re: Принимайте новеньких. Куаси 170/55
Как все запутанно - получается сечение(разрез) датчика на фото - это не наш случай ! как правильно назвать этот датчик ? - для поиска правильного сечения(разреза).
-
- Эксперт Гидравлик
- Сообщения: 5584
- Зарегистрирован: 24 окт 2012, 20:41
- Страна, Регион, Область: СССР
- Город: Деревня Малая Малявня
- Откуда: деревня МАЛАЯ МАЛЯВНЯ
- Благодарил (а): 602 раза
- Поблагодарили: 816 раз
Re: Принимайте новеньких. Куаси 170/55
А зачем искать площадь сечения. Хочешь усовершенствовать то что не доработали в ГДР. Я понял чем подробнее объясняю, тем больше вопросов и каши. Это не наш случай- Это о чем???
-
- Эксперт Гидравлик
- Сообщения: 5584
- Зарегистрирован: 24 окт 2012, 20:41
- Страна, Регион, Область: СССР
- Город: Деревня Малая Малявня
- Откуда: деревня МАЛАЯ МАЛЯВНЯ
- Благодарил (а): 602 раза
- Поблагодарили: 816 раз
Re: Принимайте новеньких. Куаси 170/55
А зачем искать площадь сечения. Хочешь усовершенствовать то что не доработали в ГДР. Я понял чем подробнее объясняю, тем больше вопросов и каши. Это не наш случай- Это о чем??? Датчик контроля усилия прижатия сопла. При высоком давлении прижатия сопла, поток на сливе через датчик реле усиливается. НЕТ не усиливается а уменьшается. Со всех регуляторов сливной поток идет через 4077. В какой то момент усиливается, в какой то момент снижается. И зачем в этом разбираться? Может я и ошибаюсь и БВК там нормально разомкнутый и когда сильный слив , инициатор отодвинут, а когда слабый слив пружина его прижимает ближе к БВК. Вот такая абстракция. Суть в одном. При прижиме сопла передать команду на впрыск. Я не помню какой БВК нормально замкнут или нормально разомкнут. Зная это можно и понять от какого слива слабого или более сильного реагирует выключатель и как это зависит от силы прижатия сопла. Понимаю одно, когда добавляем давление на прижим сопла, циркуляция через 4077 уменьшается. А значит пружина сместит инициатор к БВК. И значит он нормально разомкнутый. Что бы еще больше запутаться добавлю: Что через VD 30.2 циркулирует поток Рх управления от 0 до примерно 6 литров в минуту. Затягиваем винт на большее давление прижима сопла, поток на сливе уменьшается. И может достигнуть нуля. А значит пружина прижмет на постоянку инициатор к БВК. Не советую пока это осмыслить. Дойдет дело до этого момента и будем разбираться. Иначе чернил не хватит. Ну вот времени не хватило закончить мысль. И со всех регуляторов давления слив идет через одну объединенную трубку к 4077. Прикинь какая там чехарда то сильнее льет то меньше, в момент регулирования и настройки других VD.....Но электросхема и БВК отреагирует только на поток слива при прижиме сопла. По включению 271. Вот как тут в двух словах сказать. Рисунок с датчиком протока воды это для общего представления об S4077.
-
- Сообщения: 87
- Зарегистрирован: 22 мар 2023, 10:16
- Страна, Регион, Область: Россия
- Город: Москва
- Благодарил (а): 6 раз
- Поблагодарили: 1 раз
Re: Принимайте новеньких. Куаси 170/55
Читал ссылку - но...
Сечение - это разрез на фото . Площадь поршня я совсем не имел в виду !
Понятно как работает - и если знать давление на выходе S4077 в конкретный момент времени - пусть оно и минимально мБар - то можно его и контролировать в этот момент времени и не использовать БВК.
Сечение - это разрез на фото . Площадь поршня я совсем не имел в виду !
Понятно как работает - и если знать давление на выходе S4077 в конкретный момент времени - пусть оно и минимально мБар - то можно его и контролировать в этот момент времени и не использовать БВК.
-
- Эксперт Гидравлик
- Сообщения: 5584
- Зарегистрирован: 24 окт 2012, 20:41
- Страна, Регион, Область: СССР
- Город: Деревня Малая Малявня
- Откуда: деревня МАЛАЯ МАЛЯВНЯ
- Благодарил (а): 602 раза
- Поблагодарили: 816 раз
Re: Принимайте новеньких. Куаси 170/55
А мы и не используем. Только реле давления ставим в трубку нагнетания высокого давления которая входит в цилиндр прижима сопла. Обычное реле высокого давления. А то о чем ты говоришь, так на выходе с 4077 давление практически ноль прямая связь с баком. В ссылке выше в темах еще ссылки. Изучай если времени достаточно. Есть уже готовые решения не усложняй. Или как Олька обошлась одним концевиком. В позиции сопло прижато. На гитаре подвода отвода сопла. А эту коробку 4077 оставить и пусть висит.sp34 писал(а): ↑30 мар 2023, 12:07Читал ссылку - но...
Сечение - это разрез на фото . Площадь поршня я совсем не имел в виду !
Понятно как работает - и если знать давление на выходе S4077 в конкретный момент времени - пусть оно и минимально мБар - то можно его и контролировать в этот момент времени и не использовать БВК.
-
- Эксперт Гидравлик
- Сообщения: 5584
- Зарегистрирован: 24 окт 2012, 20:41
- Страна, Регион, Область: СССР
- Город: Деревня Малая Малявня
- Откуда: деревня МАЛАЯ МАЛЯВНЯ
- Благодарил (а): 602 раза
- Поблагодарили: 816 раз
Re: Принимайте новеньких. Куаси 170/55
В голове опять три сосны возникло. В ранних постах поток на сливе увеличивается. В последних уменьшается. Нужны данные какого плана БВК нормально замкнут или нормально разомкнут. Это и определит мое мнение. Ели же судить состороны гидравлики то при затягивании иглы поток на слив через нее уменьшается и предохранительный клапан дает рост давления и наоборот.
-
- Эксперт Гидравлик
- Сообщения: 5584
- Зарегистрирован: 24 окт 2012, 20:41
- Страна, Регион, Область: СССР
- Город: Деревня Малая Малявня
- Откуда: деревня МАЛАЯ МАЛЯВНЯ
- Благодарил (а): 602 раза
- Поблагодарили: 816 раз
Re: Принимайте новеньких. Куаси 170/55
Что бы понять что происходит в потоке на входе в 4077 рассмотрим предохранительный клапан. Верхняя часть это клапан предварительного давления управления игла. VD 30.2 Просто она расположена дистанционно на панели для наладчика. А основная часть расположена в переходной плите распределителя 271-272. Отверстие обозначенное Y и есть линия слива которая идет к 4077 и является Тх-слив линии управления. При затяжке иглы идет рост давления на прижим сопла в цилиндре. А в Тх поток падает. И этот поток примерно происходит в диапазоне от 0 до 6 литров в минуту. Он и управляет работой 4077. Основной поток к цилиндру прижима сопла ни какого отношения к сливу Тх не имеет. При сливе в Тх-Y в сторону увеличения давление в цилиндре падает, если слив стремится к нулю давление в цилиндре растет. Это я к тому в какую сторону работает инициатор в 4077 при меняющемся потоке в линии Тх-Y/
-
- Эксперт Гидравлик
- Сообщения: 5584
- Зарегистрирован: 24 окт 2012, 20:41
- Страна, Регион, Область: СССР
- Город: Деревня Малая Малявня
- Откуда: деревня МАЛАЯ МАЛЯВНЯ
- Благодарил (а): 602 раза
- Поблагодарили: 816 раз
Re: Принимайте новеньких. Куаси 170/55
Что бы понять что происходит в потоке на входе в 4077 рассмотрим предохранительный клапан. Верхняя часть это клапан предварительного давления управления игла. VD 30.2 Просто она расположена дистанционно на панели для наладчика. А основная часть расположена в переходной плите распределителя 271-272. Отверстие обозначенное Y и есть линия слива которая идет к 4077 и является Тх-слив линии управления. При затяжке иглы идет рост давления на прижим сопла в цилиндре. А в Тх поток падает. И этот поток примерно происходит в диапазоне от 0 до 6 литров в минуту. Он и управляет работой 4077. Основной поток к цилиндру прижима сопла ни какого отношения к сливу Тх не имеет. При сливе в Тх-Y в сторону увеличения давление в цилиндре падает, если слив стремится к нулю давление в цилиндре растет. Это я к тому в какую сторону работает инициатор в 4077 при меняющемся потоке в линии Тх-Y. Когда сопло движется к форме, давление в цилиндре и на манометре не высокое необходимое преодолеть силу трения по направляющим. допустим 2МПа. И на сливе иглы поток уменьшается. 4077 должен молчать. Что бы не произошел ранний впрыск на улицу. При упоре сопла в форму давление в цилиндре вырастает до установки задания. Допустим 10 МПа. По логике и поток на сливе Тх вырастет до своего расчетного для поддержания автоматически давления 10 МПа. И 4077 должен сработать. А дальше что бы это доказать. Надо разобрать коробку, продуть каналы что куда идет как расположен инициатор с пружиной и сделать окончательные выводы. если кто уверен в алгоритме этой штуки. Мы внимательно почитаем. И на это этот вопрос притормозим. А так в общем задача 4077 понятна. Остается посидеть около него и попытаться настроить. Вот тогда и вопросы не сразу но исчезнут. На этой машине предохранительные клапана такого плана. Тх идет к 4077. Это VD01. На остальных иглы вынесены дистанционно .
-
- Эксперт Гидравлик
- Сообщения: 5584
- Зарегистрирован: 24 окт 2012, 20:41
- Страна, Регион, Область: СССР
- Город: Деревня Малая Малявня
- Откуда: деревня МАЛАЯ МАЛЯВНЯ
- Благодарил (а): 602 раза
- Поблагодарили: 816 раз
Re: Принимайте новеньких. Куаси 170/55
Что бы опять не запутать. Это VD01. На блоке нагрузки насосов. Отвечает за максимум настроенного давления. При меньших давлениях в системе всегда закрыт. При достижении максимума лишнее сливает в бак.
-
- Эксперт Гидравлик
- Сообщения: 5584
- Зарегистрирован: 24 окт 2012, 20:41
- Страна, Регион, Область: СССР
- Город: Деревня Малая Малявня
- Откуда: деревня МАЛАЯ МАЛЯВНЯ
- Благодарил (а): 602 раза
- Поблагодарили: 816 раз
Re: Принимайте новеньких. Куаси 170/55
Параметр Исполнения
1РД(П)УХЛ4 2РД(П)УХЛ4 3РД(П)УХЛ4 4РД(П)УХЛ4
Давление на входе номин. / макс. / мин., МПа 6,3 / 7,0 / 0,6 10 / 11 / 0,8 20 / 22 / 1,0 32 / 35 / 3,0
Зона нечувствительности, МПа 0,8 1,2 1,8 2,2
Масса реле давления, кг 0,8
Пример условного обозначения реле давления с номинальным давлением на входе 32 МПа, стыкового присоединения, с нечувствительностью до 2,2 МПа, предназначенного для работы в умеренном и холодном климате, категория размещения 4:
Реле давления 4РДП УХЛ4.
1РД(П)УХЛ4 2РД(П)УХЛ4 3РД(П)УХЛ4 4РД(П)УХЛ4
Давление на входе номин. / макс. / мин., МПа 6,3 / 7,0 / 0,6 10 / 11 / 0,8 20 / 22 / 1,0 32 / 35 / 3,0
Зона нечувствительности, МПа 0,8 1,2 1,8 2,2
Масса реле давления, кг 0,8
Пример условного обозначения реле давления с номинальным давлением на входе 32 МПа, стыкового присоединения, с нечувствительностью до 2,2 МПа, предназначенного для работы в умеренном и холодном климате, категория размещения 4:
Реле давления 4РДП УХЛ4.
-
- Эксперт Гидравлик
- Сообщения: 5584
- Зарегистрирован: 24 окт 2012, 20:41
- Страна, Регион, Область: СССР
- Город: Деревня Малая Малявня
- Откуда: деревня МАЛАЯ МАЛЯВНЯ
- Благодарил (а): 602 раза
- Поблагодарили: 816 раз
Re: Принимайте новеньких. Куаси 170/55
Трубное исполнение. Просто, дешево, надежно. На схеме предыдущего поколения В502
-
- Эксперт Гидравлик
- Сообщения: 5584
- Зарегистрирован: 24 окт 2012, 20:41
- Страна, Регион, Область: СССР
- Город: Деревня Малая Малявня
- Откуда: деревня МАЛАЯ МАЛЯВНЯ
- Благодарил (а): 602 раза
- Поблагодарили: 816 раз
Re: Принимайте новеньких. Куаси 170/55
VR30 на твоей схеме прорисован так, упрощенно.
Последний раз редактировалось ЗЮМ 30 мар 2023, 16:39, всего редактировалось 1 раз.
-
- Сообщения: 87
- Зарегистрирован: 22 мар 2023, 10:16
- Страна, Регион, Область: Россия
- Город: Москва
- Благодарил (а): 6 раз
- Поблагодарили: 1 раз
Re: Принимайте новеньких. Куаси 170/55
Ну вот - отличный вариант ! проходит по давлению и 3РДП и 4РДП.
отличие 3РПД - сработает при 18 барах ,а 4РПД при 22 Бар.
Получается в эту точку гидросхемы можно поставить еще что нибудь посовременнее с регулировкой срабатывания и т д
отличие 3РПД - сработает при 18 барах ,а 4РПД при 22 Бар.
Получается в эту точку гидросхемы можно поставить еще что нибудь посовременнее с регулировкой срабатывания и т д
- Вложения
-
- Снимок экрана 2023-03-30 в 16.54.23.png (35.63 КБ) 7943 просмотра
Последний раз редактировалось sp34 30 мар 2023, 16:55, всего редактировалось 1 раз.
-
- Эксперт Гидравлик
- Сообщения: 5584
- Зарегистрирован: 24 окт 2012, 20:41
- Страна, Регион, Область: СССР
- Город: Деревня Малая Малявня
- Откуда: деревня МАЛАЯ МАЛЯВНЯ
- Благодарил (а): 602 раза
- Поблагодарили: 816 раз
Re: Принимайте новеньких. Куаси 170/55
22 бара это 2,2 МПа или 22 атмосфера ЭТО МАЛО. Я же показал Диапазон давления работы рд должен быть выше. Нужно 3 РДП ухл4 диапазон работы до 200 кг/см кв. Предел пружины 220. 3РДП-100 кг/см кв. 1РДП- 63 кг/см кв. Работает ТПА максимум на 165 кг/см кв. Для работы прижима сопла необходимо 50-130. Это реле регулируемое
Последний раз редактировалось ЗЮМ 30 мар 2023, 16:59, всего редактировалось 1 раз.
-
- Сообщения: 87
- Зарегистрирован: 22 мар 2023, 10:16
- Страна, Регион, Область: Россия
- Город: Москва
- Благодарил (а): 6 раз
- Поблагодарили: 1 раз
Re: Принимайте новеньких. Куаси 170/55
Сработает при этом 1.8 ! а рабочее 22МПа - все проходит ! Мы по моему об одном и том-же .
Последний раз редактировалось sp34 30 мар 2023, 17:15, всего редактировалось 2 раза.
Кто сейчас на конференции
Сейчас этот форум просматривают: нет зарегистрированных пользователей и 4 гостя