KuASY 170/55 IISR Перед впрыском сопло отходит
- Andry
- Сообщения: 15
- Зарегистрирован: 26 сен 2014, 07:27
- Страна, Регион, Область: Казахстан
- Город: Астана
- Благодарил (а): 0
- Поблагодарили: 0
KuASY 170/55 IISR Перед впрыском сопло отходит
Проблема в запуске станка. Происходит заполнение полиэтиленом выс.давления только литника прессформы, до детали даже не доходит, после чего сопло отходит и материал сливается наружу. Электронщик и механик неделю ковыряются. Прошу помощи. У них руки, у меня связь... Документация вроде в наличие схемы и фото готов выкладывать.
PS Не уверен в полноте комплекта, не нашел описание гидропанели. В клапане поз. 13 VD21.1 по схеме в произвольном порядке были засыпаны детали а описание (разрезов) этого модуля нигде нет.
PS Не уверен в полноте комплекта, не нашел описание гидропанели. В клапане поз. 13 VD21.1 по схеме в произвольном порядке были засыпаны детали а описание (разрезов) этого модуля нигде нет.
-
- Сообщения: 1584
- Зарегистрирован: 01 окт 2013, 15:06
- Страна, Регион, Область: Россия
- Город: Екатеринбург
- Откуда: Yevlax
- Благодарил (а): 414 раз
- Поблагодарили: 386 раз
Re: KuASY 170/55 IISR Перед впрыском сопло отходит
Не закрывается гидравлический управляемый обратный клапан VR30 (соринка или пружина лопнула).
Сам клапан может находится над гидра баком под цилиндром пластикации.
Сам клапан может находится над гидра баком под цилиндром пластикации.
-
- Сообщения: 1584
- Зарегистрирован: 01 окт 2013, 15:06
- Страна, Регион, Область: Россия
- Город: Екатеринбург
- Откуда: Yevlax
- Благодарил (а): 414 раз
- Поблагодарили: 386 раз
Re: KuASY 170/55 IISR Перед впрыском сопло отходит
Если во время впрыска отходит сопло то проверяйте VR30 или возможно поршень открутился в одном из цилиндров прижима сопла. Если впрыск начинается до того как узел впрыска соплом прижался к форме то, смотрите реле давления В502, оно рано срабатывает.
- Andry
- Сообщения: 15
- Зарегистрирован: 26 сен 2014, 07:27
- Страна, Регион, Область: Казахстан
- Город: Астана
- Благодарил (а): 0
- Поблагодарили: 0
Re: KuASY 170/55 IISR Перед впрыском сопло отходит
Ребята разошлись, отписаться смогу не раньше понедельника. Изначально и на ручном и в отладке узел впрыска поджимается к плите, манометр кажет 10 очей, но при запуске самого впрыска манометр падает на 0 сопло отходит и полиэтилен сливается "в атмосферу". Станок давнишний, кто обслуживал подогнал под себя, где проволочкой, где заглушкой .... и после лет 4 простоя появилась у наших производственников необходимость в его запуске. Наши совковые полуавтоматы пустили, а ентот бодается пока. А с учетом отсутствия необходимой практики и информации придется понадоедать... Благодарю за оперативность! О результатах обещаю докладывать. 

- Бегемот
- Сообщения: 2815
- Зарегистрирован: 03 окт 2009, 13:39
- Страна, Регион, Область: Россия
- Город: Владимир
- Откуда: Из Аршинцево, г. Керчь, Крым-Россия.
- Благодарил (а): 53 раза
- Поблагодарили: 166 раз
- Контактная информация:
Re: KuASY 170/55 IISR Перед впрыском сопло отходит
Не забывайте про манжеты цилиндра подвода сопла, умирают чаще обратного клапана.
Бегемот!!! Ты меня не зли!!! ©Олька
- Andry
- Сообщения: 15
- Зарегистрирован: 26 сен 2014, 07:27
- Страна, Регион, Область: Казахстан
- Город: Астана
- Благодарил (а): 0
- Поблагодарили: 0
Re: KuASY 170/55 IISR Перед впрыском сопло отходит
Клапан нашли, доступ есть сверху, если скинуть 2 пластины: + маркировка на самом клапане.
- Andry
- Сообщения: 15
- Зарегистрирован: 26 сен 2014, 07:27
- Страна, Регион, Область: Казахстан
- Город: Астана
- Благодарил (а): 0
- Поблагодарили: 0
Re: KuASY 170/55 IISR Перед впрыском сопло отходит
Пружины целые, продули, отдали на сборку.... Катастрофических разрушений в железе нет, будем звонить релюшку В502
-
- Сообщения: 1584
- Зарегистрирован: 01 окт 2013, 15:06
- Страна, Регион, Область: Россия
- Город: Екатеринбург
- Откуда: Yevlax
- Благодарил (а): 414 раз
- Поблагодарили: 386 раз
Re: KuASY 170/55 IISR Перед впрыском сопло отходит
Бегемот писал(а):Не забывайте про манжеты цилиндра подвода сопла, умирают чаще обратного клапана.
- Andry
- Сообщения: 15
- Зарегистрирован: 26 сен 2014, 07:27
- Страна, Регион, Область: Казахстан
- Город: Астана
- Благодарил (а): 0
- Поблагодарили: 0
Re: KuASY 170/55 IISR Перед впрыском сопло отходит
Дефектовка ничего не дала, пружинки вродь в норме, на клапане канавка от села даж ногтем не цепляется, на всяк случай притрем. Протечек по манжетам цилиндра не наблюдается. Прозвондаем релейку В502 о результатах отпишусь.
- Andry
- Сообщения: 15
- Зарегистрирован: 26 сен 2014, 07:27
- Страна, Регион, Область: Казахстан
- Город: Астана
- Благодарил (а): 0
- Поблагодарили: 0
Re: KuASY 170/55 IISR Перед впрыском сопло отходит
PS там еще шток был, он тож в норме, но снять не успел, меня перебили....
-
- Сообщения: 1584
- Зарегистрирован: 01 окт 2013, 15:06
- Страна, Регион, Область: Россия
- Город: Екатеринбург
- Откуда: Yevlax
- Благодарил (а): 414 раз
- Поблагодарили: 386 раз
Re: KuASY 170/55 IISR Перед впрыском сопло отходит
Про пылите на токарном станке конус на поршеньке что на 2 фото.
-
- Эксперт Гидравлик
- Сообщения: 5584
- Зарегистрирован: 24 окт 2012, 20:41
- Страна, Регион, Область: СССР
- Город: Деревня Малая Малявня
- Откуда: деревня МАЛАЯ МАЛЯВНЯ
- Благодарил (а): 602 раза
- Поблагодарили: 816 раз
Re: KuASY 170/55 IISR Перед впрыском сопло отходит
Надо еще убедиться в герметичности седел логического клапана -челнока VD 30 и обязательно чистоте жиклера VDr 30 диаметром 0,7 мм. Гидрозамок VR30 При засоре 0,7 мм замок будет вяло и медленно закрываться. Пылить конус не спешите. Герметичность конуса и седла легко проверяется на керосин легко проверяется на керосин. при протечке притирается. Токарь может нарушить соосность.
- Andry
- Сообщения: 15
- Зарегистрирован: 26 сен 2014, 07:27
- Страна, Регион, Область: Казахстан
- Город: Астана
- Благодарил (а): 0
- Поблагодарили: 0
Re: KuASY 170/55 IISR Перед впрыском сопло отходит
Клапан притерли. Собрали. Прессформа запирается, инжекционный узел втыкается в прессформу, манометр кажет около 15 очей. жмем кнопу заполнения..... Щелчок, инжекционный узел отскакивает мм на 10-15, манометр соответственно в ноль и полиэтилен снова наполу.... Да электрик не находит Релейку давления В502. На гидроблоке под поз.15. (самая первая схемка) датчик примотан проволочкой... Парни утверждают, что его перемещение никакого влияния не оказывает
-
- Эксперт Гидравлик
- Сообщения: 5584
- Зарегистрирован: 24 окт 2012, 20:41
- Страна, Регион, Область: СССР
- Город: Деревня Малая Малявня
- Откуда: деревня МАЛАЯ МАЛЯВНЯ
- Благодарил (а): 602 раза
- Поблагодарили: 816 раз
Re: KuASY 170/55 IISR Перед впрыском сопло отходит
а можете перевести на русский 15 очей. Это 15 МПа или 15 кг/см кв.
- Andry
- Сообщения: 15
- Зарегистрирован: 26 сен 2014, 07:27
- Страна, Регион, Область: Казахстан
- Город: Астана
- Благодарил (а): 0
- Поблагодарили: 0
Re: KuASY 170/55 IISR Перед впрыском сопло отходит
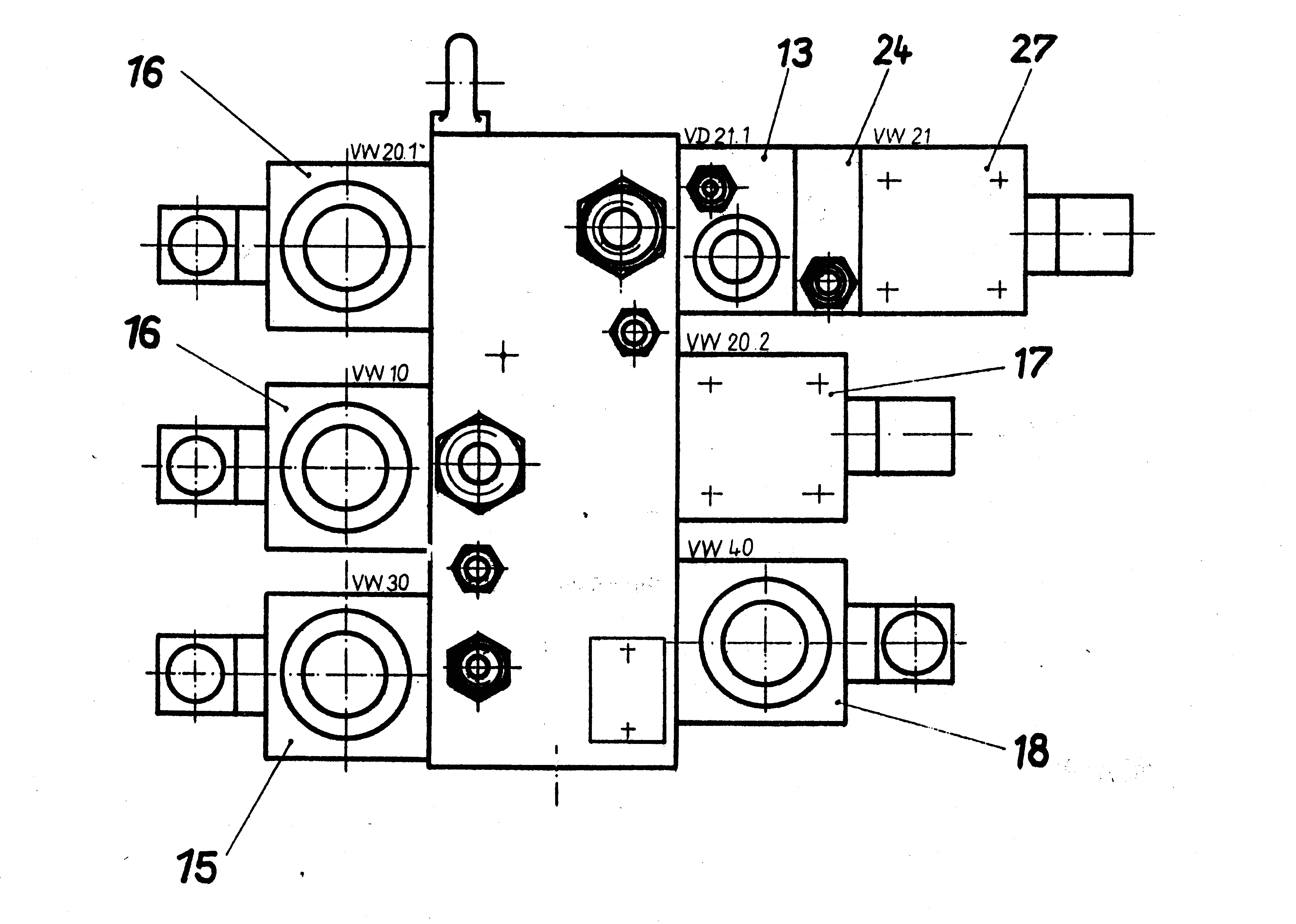
Чуть назад. По фото: По стрелке в гидрораспределителе тупо была заглушка (снизу или сверху слесарь не помнит) в виде шарика от подшипника, а вот под крышкой вида Б вообще набор железок. Есть ли у кого информация ЧТО и В КАКОМ ПОРЯДКЕ должно находиться под той кришечкой (Б). Лично у меня подозрение на обратный клапан... Мож конечно я и ошибаюсь, но разрезы клапанов и ответственной гидравлики токма в совковых полуавтоматах имеются... Может подскажете что можно по аналогии подобрать?...
- Andry
- Сообщения: 15
- Зарегистрирован: 26 сен 2014, 07:27
- Страна, Регион, Область: Казахстан
- Город: Астана
- Благодарил (а): 0
- Поблагодарили: 0
- Andry
- Сообщения: 15
- Зарегистрирован: 26 сен 2014, 07:27
- Страна, Регион, Область: Казахстан
- Город: Астана
- Благодарил (а): 0
- Поблагодарили: 0
Re: KuASY 170/55 IISR Перед впрыском сопло отходит
Вот куда девается давление у этого "пылесоса" Выписал все численные показания с панели задатчиков, если интересно выложу... Может где цифры логику путают? Не может же цикл впрыска начинаться со сброса давления поджатия инжекционного узла?!....
-
- Эксперт Гидравлик
- Сообщения: 5584
- Зарегистрирован: 24 окт 2012, 20:41
- Страна, Регион, Область: СССР
- Город: Деревня Малая Малявня
- Откуда: деревня МАЛАЯ МАЛЯВНЯ
- Благодарил (а): 602 раза
- Поблагодарили: 816 раз
Re: KuASY 170/55 IISR Перед впрыском сопло отходит
15 МПа соответствует 150 кг/см кв-атмосфер. В режиме наладка закройте форму. Нажмите подвод сопла и удерживая кнопку проверьте давление по манометру. В положении крана указателя позиции давления символа насоса. Затем прижима сопла. И скажите чему они равны.Andry писал(а):Прошу прощения за "непонятки" 15 МПа....
-
- Сообщения: 1584
- Зарегистрирован: 01 окт 2013, 15:06
- Страна, Регион, Область: Россия
- Город: Екатеринбург
- Откуда: Yevlax
- Благодарил (а): 414 раз
- Поблагодарили: 386 раз
Re: KuASY 170/55 IISR Перед впрыском сопло отходит
От клапана VR30 идет маленькая трубка, которая присоединяется к тройнику ( клапан "или" VD30), дроссель VDr 30 диаметром 0,7 мм вернут в штуцер трубки идущей от VD30 в бак.ЗЮМ писал(а):Надо еще убедиться в герметичности седел логического клапана -челнока VD 30 и обязательно чистоте жиклера VDr 30 диаметром 0,7 мм. Гидрозамок VR30 При засоре 0,7 мм замок будет вяло и медленно закрываться...
-
- Эксперт Гидравлик
- Сообщения: 5584
- Зарегистрирован: 24 окт 2012, 20:41
- Страна, Регион, Область: СССР
- Город: Деревня Малая Малявня
- Откуда: деревня МАЛАЯ МАЛЯВНЯ
- Благодарил (а): 602 раза
- Поблагодарили: 816 раз
Re: KuASY 170/55 IISR Перед впрыском сопло отходит
Да Александр и бирочка там обычно вист с обозначением если не выкинули. VDr30. Я думаю нам надо знать а сколько давления кажет 1) при смыкании 2) при прижиме сопла 3) при впрыске. В режиме наладка. такое впечатление что при впрыске давление вообще и общее просаживает. Через клапан подпора. Если У282 не исправен и клапан подпора напутан. Инфы не хватает.Мулланур писал(а):От клапана VR30 идет маленькая трубка, которая присоединяется к тройнику ( клапан "или" VD30), дроссель VDr 30 диаметром 0,7 мм вернут в штуцер трубки идущей от VD30 в бак.ЗЮМ писал(а):Надо еще убедиться в герметичности седел логического клапана -челнока VD 30 и обязательно чистоте жиклера VDr 30 диаметром 0,7 мм. Гидрозамок VR30 При засоре 0,7 мм замок будет вяло и медленно закрываться...
-
- Сообщения: 1584
- Зарегистрирован: 01 окт 2013, 15:06
- Страна, Регион, Область: Россия
- Город: Екатеринбург
- Откуда: Yevlax
- Благодарил (а): 414 раз
- Поблагодарили: 386 раз
Re: KuASY 170/55 IISR Перед впрыском сопло отходит
Вячеслав Михайлович обратите внимание.
Если с манжетами цилиндров прижима сопла все нормально, VDr30 чист и гидрозамок VR30 держит, то как сопло может отходить мм на 10-15?Andry писал(а):... Прессформа запирается, инжекционный узел втыкается в прессформу, манометр кажет около 15 очей. жмем кнопу заполнения..... Щелчок, инжекционный узел отскакивает мм на 10-15, манометр соответственно в ноль и полиэтилен снова наполу...
-
- Эксперт Гидравлик
- Сообщения: 5584
- Зарегистрирован: 24 окт 2012, 20:41
- Страна, Регион, Область: СССР
- Город: Деревня Малая Малявня
- Откуда: деревня МАЛАЯ МАЛЯВНЯ
- Благодарил (а): 602 раза
- Поблагодарили: 816 раз
Re: KuASY 170/55 IISR Перед впрыском сопло отходит
(Б) это клапан подпора при наборе дозы. управляется дистанционно от пропорционального клапана давления через включение У283.Andry писал(а):Чуть назад. По фото: По стрелке в гидрораспределителе тупо была заглушка (снизу или сверху слесарь не помнит) в виде шарика от подшипника, а вот под крышкой вида Б вообще набор железок. Есть ли у кого информация ЧТО и В КАКОМ ПОРЯДКЕ должно находиться под той кришечкой (Б). Лично у меня подозрение на обратный клапан... Мож конечно я и ошибаюсь, но разрезы клапанов и ответственной гидравлики токма в совковых полуавтоматах имеются... Может подскажете что можно по аналогии подобрать?...
-
- Эксперт Гидравлик
- Сообщения: 5584
- Зарегистрирован: 24 окт 2012, 20:41
- Страна, Регион, Область: СССР
- Город: Деревня Малая Малявня
- Откуда: деревня МАЛАЯ МАЛЯВНЯ
- Благодарил (а): 602 раза
- Поблагодарили: 816 раз
Re: KuASY 170/55 IISR Перед впрыском сопло отходит
Ответ по клапану (Б) Все внутри так должно быть. Если мысленно от этого исполнения выбросить иглу с пружиной. и верхняя крышка глухая. И дополнительная канавка с кольцом круглого сечения в вашем случае. А внутри все так, кроме иглы пружины и крышки с регулировочным винтом.
Последний раз редактировалось ЗЮМ 29 сен 2014, 15:37, всего редактировалось 1 раз.
-
- Эксперт Гидравлик
- Сообщения: 5584
- Зарегистрирован: 24 окт 2012, 20:41
- Страна, Регион, Область: СССР
- Город: Деревня Малая Малявня
- Откуда: деревня МАЛАЯ МАЛЯВНЯ
- Благодарил (а): 602 раза
- Поблагодарили: 816 раз
Re: KuASY 170/55 IISR Перед впрыском сопло отходит
По ВДР 30 отчета не было. И про заглушку в виде шарика по подробней если можно. Иначе мы реальных причин не установим.Мулланур писал(а):Вячеслав Михайлович обратите внимание.Если с манжетами цилиндров прижима сопла все нормально, VDr30 чист и гидрозамок VR30 держит, то как сопло может отходить мм на 10-15?Andry писал(а):... Прессформа запирается, инжекционный узел втыкается в прессформу, манометр кажет около 15 очей. жмем кнопу заполнения..... Щелчок, инжекционный узел отскакивает мм на 10-15, манометр соответственно в ноль и полиэтилен снова наполу...
-
- Эксперт Гидравлик
- Сообщения: 5584
- Зарегистрирован: 24 окт 2012, 20:41
- Страна, Регион, Область: СССР
- Город: Деревня Малая Малявня
- Откуда: деревня МАЛАЯ МАЛЯВНЯ
- Благодарил (а): 602 раза
- Поблагодарили: 816 раз
Re: KuASY 170/55 IISR Перед впрыском сопло отходит
(Б) это обычный предохранительный клапан не прямого действия блочного исполнения. VD21.1 Подпор при наборе материала.
- Andry
- Сообщения: 15
- Зарегистрирован: 26 сен 2014, 07:27
- Страна, Регион, Область: Казахстан
- Город: Астана
- Благодарил (а): 0
- Поблагодарили: 0
Re: KuASY 170/55 IISR Перед впрыском сопло отходит
Мы работаем с 8оо до 17 оо, распечатаю всю инфу отдам парням только завтра, прошу прощения за задержку, быстрее не выходит.
-
- Эксперт Гидравлик
- Сообщения: 5584
- Зарегистрирован: 24 окт 2012, 20:41
- Страна, Регион, Область: СССР
- Город: Деревня Малая Малявня
- Откуда: деревня МАЛАЯ МАЛЯВНЯ
- Благодарил (а): 602 раза
- Поблагодарили: 816 раз
Re: KuASY 170/55 IISR Перед впрыском сопло отходит
Спасибо за уведомление. Мы на связи.Andry писал(а):Мы работаем с 8оо до 17 оо, распечатаю всю инфу отдам парням только завтра, прошу прощения за задержку, быстрее не выходит.
Кто сейчас на конференции
Сейчас этот форум просматривают: нет зарегистрированных пользователей и 17 гостей