Demag D200 NC-III (1993)
- Cash
- Сообщения: 268
- Зарегистрирован: 21 ноя 2007, 19:23
- Страна, Регион, Область: Россия
- Город: Курск
- Благодарил (а): 0
- Поблагодарили: 1 раз
- Контактная информация:
Demag D200 NC-III (1993)
Подскажите, где найти MEM SUBMODULE 6ES5375-0LA71
Siemens с прошивкой для ТПА Demag D200 NC-III (1993)
можно бу.
Заранее благодарен!
Siemens с прошивкой для ТПА Demag D200 NC-III (1993)
можно бу.
Заранее благодарен!
- Вложения
-
- abtronics_6ES5375-0LA71_0.jpg (29 КБ) 11029 просмотров
-
agent_serg
- Сообщения: 812
- Зарегистрирован: 29 июл 2011, 20:30
- Страна, Регион, Область: Её уже нет, только память...
- Город: Город, который помню с детства
- Благодарил (а): 108 раз
- Поблагодарили: 164 раза
Re: Demag D200 NC-III (1993)
У Вас модуля нет совсем или есть, но не запрограммирован?Cash писал(а):Подскажите, где найти MEM SUBMODULE 6ES5375-0LA71
Siemens с прошивкой для ТПА Demag D200 NC-III (1993)
можно бу.
Заранее благодарен!
И выложите фото внутренностей Вашего шкафа управления. Могут быть различные варианты конфигурации и соответственно прошивки будут разные. Версии прошивки IBED тоже бывают разные. Могут быть проблемы с отображением всех таблиц.
Качество - это делать что-либо правильно, даже когда никто не смотрит.
© Генри Форд
© Генри Форд
- dedaborja
- Сообщения: 928
- Зарегистрирован: 16 июл 2008, 16:55
- Страна, Регион, Область: Россия
- Город: Воронеж
- Откуда: Колыма
- Благодарил (а): 30 раз
- Поблагодарили: 123 раза
Re: Demag D200 NC-III (1993)
Лучший вариант - найти сервисный центр Демага и под номер станка заказать модуль. Если модуль есть у вас в наличии и есть чем программировать, то прошивки можно получить и в виде файла. Сименс уже отказался от поддержки устаревших приборов, а в сервисных организациях по идее прошивки должны быть.
Одно замечание: Сергей совершенно прав - прошивка должна быть заточена под конкретную машину, иначе, даже если инициализация пройдет нормально, все-равно по ходу будет глючить.
Мы с этим уже сталкивались. У нас прямо на модуле номер машины, а все остальные данные одинаковые. Связано это, наверное, с тем, что при подналадке машины приходится вводить изменения в стандартный для одинаковых машин софт.
Информации дали мало, но должен сообщить: эти модули весьма надежны. Может у Вас с контроллером заморочки?
Изображения для справки:
Одно замечание: Сергей совершенно прав - прошивка должна быть заточена под конкретную машину, иначе, даже если инициализация пройдет нормально, все-равно по ходу будет глючить.
Мы с этим уже сталкивались. У нас прямо на модуле номер машины, а все остальные данные одинаковые. Связано это, наверное, с тем, что при подналадке машины приходится вводить изменения в стандартный для одинаковых машин софт.
Информации дали мало, но должен сообщить: эти модули весьма надежны. Может у Вас с контроллером заморочки?
Изображения для справки:
- Вложения
-
- модуль памяти.JPG (51.96 КБ) 10996 просмотров
-
- модуль памяти 6ES5 375-0LA61.JPG (97.09 КБ) 10996 просмотров
- Cash
- Сообщения: 268
- Зарегистрирован: 21 ноя 2007, 19:23
- Страна, Регион, Область: Россия
- Город: Курск
- Благодарил (а): 0
- Поблагодарили: 1 раз
- Контактная информация:
Re: Demag D200 NC-III (1993)
Фотографии блока управления, пока, выложить не могу.Прошу прощения.
Просто какой то кулибин перепахал и перепаял несколько плат, в том числе и EPROM.
У них не получилось и было принято решение продать два тпа , в том числе и этот на запчаси.
Одну плату восстановили, а тут загвостка. Сняв блок CPU с рабочей машины и установив на эту, машина загрузилась и всё ОК. Увидев модуль эпром, я удивился!!!!!
Поэтому и ищю EPROM с аналогичной машины.
Вот полное описание:
Тпа DEMAG D200-730 NC3 1993 г.в. Серийный номер 817 0215.
модуль EPROM 6ES5375-0LA71
Блок CPU - 115 944 , SIMATIC S5 6ES5 944-7UA22.
Просто какой то кулибин перепахал и перепаял несколько плат, в том числе и EPROM.
У них не получилось и было принято решение продать два тпа , в том числе и этот на запчаси.
Одну плату восстановили, а тут загвостка. Сняв блок CPU с рабочей машины и установив на эту, машина загрузилась и всё ОК. Увидев модуль эпром, я удивился!!!!!
Поэтому и ищю EPROM с аналогичной машины.
Вот полное описание:
Тпа DEMAG D200-730 NC3 1993 г.в. Серийный номер 817 0215.
модуль EPROM 6ES5375-0LA71
Блок CPU - 115 944 , SIMATIC S5 6ES5 944-7UA22.
- Дамир
- Сообщения: 1384
- Зарегистрирован: 05 дек 2007, 11:33
- Страна, Регион, Область: республика Татарстан
- Город: Набережные Челны
- Откуда: Набережные Челны
- Благодарил (а): 0
- Поблагодарили: 36 раз
Re: Demag D200 NC-III (1993)
У немцев поищите, вот например: http://www.im-machinery.de/index.php?p= ... page=demag
Все профессии-это заговор специалистов против профанов...
- dedaborja
- Сообщения: 928
- Зарегистрирован: 16 июл 2008, 16:55
- Страна, Регион, Область: Россия
- Город: Воронеж
- Откуда: Колыма
- Благодарил (а): 30 раз
- Поблагодарили: 123 раза
Re: Demag D200 NC-III (1993)
Если надо заменить СРU, то ссылочка замечательная. Однако никаких гарантий совпадения прошивки модуля памяти нет. Хорошо, если имеющийся не до конца доканали (испортить прошивку - надо постараться), а если нет. У нас на тяжелом Хемшайде тоже используется 944-й CPU. Может быть у vladlmir0077 что-то осталось? Наверное, дешевле будет. У немцев 500 евриков, но еще растаможка, пересылка через три границы.Дамир писал(а):У немцев поищите, вот например: http://www.im-machinery.de/index.php?p= ... page=demag
- Cash
- Сообщения: 268
- Зарегистрирован: 21 ноя 2007, 19:23
- Страна, Регион, Область: Россия
- Город: Курск
- Благодарил (а): 0
- Поблагодарили: 1 раз
- Контактная информация:
Re: Demag D200 NC-III (1993)
Позвали человека из ..... Он СПИСАЛ программу с работающеё машины( с блока CPU ) и залил в неработающий. Без модуля EPROM, который был перепахан. Станок загрузился и заработал, правда есть некоторые проблемы, но это мелочи.
Я нечаянно увидел кабель для программирования блока сименс симатик с5, заказал его, и попрасил у этого человека программу для прошивания.
Оброщайтесь кому нужно!!!
Я нечаянно увидел кабель для программирования блока сименс симатик с5, заказал его, и попрасил у этого человека программу для прошивания.
Оброщайтесь кому нужно!!!
-
agent_serg
- Сообщения: 812
- Зарегистрирован: 29 июл 2011, 20:30
- Страна, Регион, Область: Её уже нет, только память...
- Город: Город, который помню с детства
- Благодарил (а): 108 раз
- Поблагодарили: 164 раза
Re: Demag D200 NC-III (1993)
Два момента сильно меня напрягают в Вашем сообщении:Cash писал(а):Позвали человека из ..... Он СПИСАЛ программу с работающеё машины( с блока CPU ) и залил в неработающий. Без модуля EPROM, который был перепахан. Станок загрузился и заработал, правда есть некоторые проблемы, но это мелочи.
Я нечаянно увидел кабель для программирования блока сименс симатик с5, заказал его, и попрасил у этого человека программу для прошивания.
Оброщайтесь кому нужно!!!
1. Масса элементарных ошибок,
2. Когда термопластАВТОМАТ называют станком.
А теперь по теме.
1. У меня тоже сомнения, что без EPROM работает. Ну да ладно. Будет время, проверю. Даже интересно.
2.
А Вы знаете, что существует масса разных версий для DEMAG NCIII? Зуб даю, что версии CPU и IBED не совпадают.Cash писал(а):Станок загрузился и заработал, правда есть некоторые проблемы, но это мелочи.
Вас предупреждали:
dedaborja писал(а):прошивка должна быть заточена под конкретную машину, иначе, даже если инициализация пройдет нормально, все-равно по ходу будет глючить.
Качество - это делать что-либо правильно, даже когда никто не смотрит.
© Генри Форд
© Генри Форд
- dedaborja
- Сообщения: 928
- Зарегистрирован: 16 июл 2008, 16:55
- Страна, Регион, Область: Россия
- Город: Воронеж
- Откуда: Колыма
- Благодарил (а): 30 раз
- Поблагодарили: 123 раза
Re: Demag D200 NC-III (1993)
944 CPU модуль универсальный и памяти регистровой (оперативной) и ПЗУ у него с избытком даже на тяжелые термопласты.
При начальной загрузке данные с модуля ЕПРОМ просто переписываются в ПЗУ Контроллера, после чего он и приобретает индивидуальность (в данном случае - система управления литьевой машиной). С другой программой будет делать все, что захотите. Так что, товарищ правильное решение принял. Видимо, не обошлось без замены на современную флеш-память. Иначе проработает до момента кончины буферной батареи, и зовите спеца снова программировать. Наверное инструкции дал не доводить её до полного разряда и менять при включенной машине почаще. Там интересные изменения программные, связанные с конфигурацией, ну да, наверное, знает, что делает. На черный день способ пригодится.
А что собой представляет кабель? Вроде бы достаточно было с чужим модулем запустить (стандартным методом перезагрузки).
И вопрос остается с совместимостью с программой другой машины. Подробности будут? Интересно девки пляшуть...
При начальной загрузке данные с модуля ЕПРОМ просто переписываются в ПЗУ Контроллера, после чего он и приобретает индивидуальность (в данном случае - система управления литьевой машиной). С другой программой будет делать все, что захотите. Так что, товарищ правильное решение принял. Видимо, не обошлось без замены на современную флеш-память. Иначе проработает до момента кончины буферной батареи, и зовите спеца снова программировать. Наверное инструкции дал не доводить её до полного разряда и менять при включенной машине почаще. Там интересные изменения программные, связанные с конфигурацией, ну да, наверное, знает, что делает. На черный день способ пригодится.
А что собой представляет кабель? Вроде бы достаточно было с чужим модулем запустить (стандартным методом перезагрузки).
И вопрос остается с совместимостью с программой другой машины. Подробности будут? Интересно девки пляшуть...
-
Alexbux1
- Сообщения: 871
- Зарегистрирован: 04 янв 2011, 23:01
- Страна, Регион, Область: ЦФО
- Город: Тверь
- Откуда: Тверь
- Благодарил (а): 18 раз
- Поблагодарили: 10 раз
Re: Demag D200 NC-III (1993)
Привязка к конкретной машине в ПО на NC IV актуальна, с неродной верcией не даст включить даже привод насоса, кричит неправильная версия ПО(редактировать файлы не пытались ;)) при замене на EPROM с версией прошитой в ПО на неродной машине были серьёзные проблемы . На NCIII запускали с чужим модулем, работало.
-
agent_serg
- Сообщения: 812
- Зарегистрирован: 29 июл 2011, 20:30
- Страна, Регион, Область: Её уже нет, только память...
- Город: Город, который помню с детства
- Благодарил (а): 108 раз
- Поблагодарили: 164 раза
Re: Demag D200 NC-III (1993)
Да мы тоже запускали и тоже вроде работало. У нас два одинаковых D200, только версии разные: 2-5.06 (без русского) и 2-5.07 (русская).Alexbux1 писал(а):На NCIII запускали с чужим модулем, работало.
При несовпадении версий CPU и IBED в нескольких таблицах напрочь отсутствовали некоторые параметры.
Если переносить EPROM и IBED с одного ТПА на другой парой, то всё нормально.
Качество - это делать что-либо правильно, даже когда никто не смотрит.
© Генри Форд
© Генри Форд
- dedaborja
- Сообщения: 928
- Зарегистрирован: 16 июл 2008, 16:55
- Страна, Регион, Область: Россия
- Город: Воронеж
- Откуда: Колыма
- Благодарил (а): 30 раз
- Поблагодарили: 123 раза
Re: Demag D200 NC-III (1993)
Cегодня специально убедился - включил машину с удаленным модулем EPROM. На CPU моментально загорелся зеленый RUN, на IBED сообщение, что система находится в режиме офлайн. То есть, как литьевую машину она себя не осознала. Что и требовалось доказать. При каждом включении в сеть первым делом переписывается EPROM.
Следующим шагом мог бы быть эксперимент, когда после нормального старта EPROM вытаскивается при работающей системе и используется для старта следующей машины. Снимать модули под напряжением опасно и сработало "очко".
Не осмелился рисковать федеральным оборонзаказом. (Хватит и регулярно падающих "Протонов")
Вот если бы товарищ топикстартера поделился наработками...
Следующим шагом мог бы быть эксперимент, когда после нормального старта EPROM вытаскивается при работающей системе и используется для старта следующей машины. Снимать модули под напряжением опасно и сработало "очко".
Не осмелился рисковать федеральным оборонзаказом. (Хватит и регулярно падающих "Протонов")
Вот если бы товарищ топикстартера поделился наработками...
-
agent_serg
- Сообщения: 812
- Зарегистрирован: 29 июл 2011, 20:30
- Страна, Регион, Область: Её уже нет, только память...
- Город: Город, который помню с детства
- Благодарил (а): 108 раз
- Поблагодарили: 164 раза
Re: Demag D200 NC-III (1993)
Предположу, что топикстартеру в DEMAG программу залили с компа и строго настрого предупредили питание не отключать.dedaborja писал(а):Вот если бы товарищ топикстартера поделился наработками...
У нас при снятии EPROM "на горячую", без отключения питания сразу CPU уходит в стоп.dedaborja писал(а):Снимать модули под напряжением опасно и сработало "очко".
Агаааааааа. Так вот кто во ВСЁМ виноват - экспериментаторы.dedaborja писал(а):Не осмелился рисковать федеральным оборонзаказом. (Хватит и регулярно падающих "Протонов")
А давайте так попробуем, а давайте ещё и так попробуем ...
Вместо того, чтобы сделать как надо.
Качество - это делать что-либо правильно, даже когда никто не смотрит.
© Генри Форд
© Генри Форд
-
Alexbux1
- Сообщения: 871
- Зарегистрирован: 04 янв 2011, 23:01
- Страна, Регион, Область: ЦФО
- Город: Тверь
- Откуда: Тверь
- Благодарил (а): 18 раз
- Поблагодарили: 10 раз
Re: Demag D200 NC-III (1993)
Видимо да , CPU то всё равно с чего его грузят, боюсь только глюки не избежны . Ставили на KD 100 плату CPU с KD 55 , EPROM от 100-ки и работало .agent_serg писал(а):Предположу, что топикстартеру в DEMAG программу залили с компа и строго настрого предупредили питание не отключать.dedaborja писал(а):Вот если бы товарищ топикстартера поделился наработками...
- dedaborja
- Сообщения: 928
- Зарегистрирован: 16 июл 2008, 16:55
- Страна, Регион, Область: Россия
- Город: Воронеж
- Откуда: Колыма
- Благодарил (а): 30 раз
- Поблагодарили: 123 раза
Re: Demag D200 NC-III (1993)
Отсмеявшись - взгрустнул. Оборудование начала 90-х постепенно стареет и лишается технической поддержки производителей по доступным ценам. Увы.agent_serg писал(а):Агаааааааа. Так вот кто во ВСЁМ виноват - экспериментаторы.dedaborja писал(а):Не осмелился рисковать федеральным оборонзаказом. (Хватит и регулярно падающих "Протонов")
А давайте так попробуем, а давайте ещё и так попробуем ...![]()
![]()
Вместо того, чтобы сделать как надо.![]()
![]()
Вот, как можно было избежать в данном конкретном случае последовавшего гемора?
Только иметь дубликат прошивки.
А как это сделать легче и красивше? Выпаивать EPROM феном - черт его знает: температура прошивку не повредит?
Или имея какие-то порты вывода, вывести прошивку на носитель какого-либо вида. Обычно предлагается прибор программирующий (на фото вверху об этом пара слов). Но на нем обычно при закупке экономят.
У кого какой опыт в этом направлении?
-
agent_serg
- Сообщения: 812
- Зарегистрирован: 29 июл 2011, 20:30
- Страна, Регион, Область: Её уже нет, только память...
- Город: Город, который помню с детства
- Благодарил (а): 108 раз
- Поблагодарили: 164 раза
Re: Demag D200 NC-III (1993)
С 99.99% уверенностью могу сказать, что не повредит. Если руки ровные и фен не для плавки метелла, то всё будет ОК.dedaborja писал(а):А как это сделать легче и красивше? Выпаивать EPROM феном - черт его знает: температура прошивку не повредит?
Нам проще. У нас большинство EPROMов попались с микросхемами, установленными в панельки. Просто вытащил и скопировал на простом программаторе (тоже не всем доступен).
И тут мне повезло. Имеется старый программатор PG675. Не ожидал, что столько лет он проживёт. Да он и ещё "живее всех живых".dedaborja писал(а):Или имея какие-то порты вывода, вывести прошивку на носитель какого-либо вида. Обычно предлагается прибор программирующий (на фото вверху об этом пара слов).
Когда мы в край упёрлись в дороговизну ремонта и приобретения модулей для SIMATIC S5, то я предложил модернизировать систему управления.dedaborja писал(а):У кого какой опыт в этом направлении?
По пути приобретения готовых решений от небольших фирмочек я сразу отказался.
Во-первых: всё тот же "чёрный ящик". Ничего не можем изменить, ничего не можем отремонтировать (а ведь бывает).
Во-вторых: надёжность (лично для меня) под большим вопросом. Уровень ремонтного персонала упал ниже плинтуса. Расчитывать надо на грубое и неквалифицированное вмешательство.
В-третьих: где гарантия, что спустя ещё несколько лет производитель такой системы управления будет доступен?
Хватит мне опыта с китайцами, корейцами, тайваньцами и т.п.
Если разработал и внедрил всю систему управления сам, то вся исходная информация у нас есть и к конкретному мне не привязана. Был бы под рукой грамотный инженер, а он может повторить тоже на другом DEMAGе.
В одной из тем на этом форуме я писал про это.
Качество - это делать что-либо правильно, даже когда никто не смотрит.
© Генри Форд
© Генри Форд
- dedaborja
- Сообщения: 928
- Зарегистрирован: 16 июл 2008, 16:55
- Страна, Регион, Область: Россия
- Город: Воронеж
- Откуда: Колыма
- Благодарил (а): 30 раз
- Поблагодарили: 123 раза
Re: Demag D200 NC-III (1993)
Тут есть трудности. Это же не Хмельницкий 79-го года, который простой, как палки-веревки. Хочешь - вяжи релюшками, хочешь - программируй микроконтроллер. У меня есть формальное описание программы Demag с комментариями. Организационные, программные блоки, постоянные - многоуровневая система с циклами, ветвлениями, прерываниями. 25 мм толщина книги. Уже при трансляции в двоичный код можно набуробить, что семеро не разберутся... С Programmiergerat проще - там компиляторы, эмуляторы STEP 5 - все для комфортной работы.agent_serg писал(а):Если разработал и внедрил всю систему управления сам, то вся исходная информация у нас есть и к конкретному мне не привязана. Был бы под рукой грамотный инженер, а он может повторить тоже на другом DEMAGе.
В одной из тем на этом форуме я писал про это.
Опять же для ремонта аппаратных бзиков нужна какая-никакая схема. У вас именно Demag модернизировался?
Где, в какой теме почитать?
-
agent_serg
- Сообщения: 812
- Зарегистрирован: 29 июл 2011, 20:30
- Страна, Регион, Область: Её уже нет, только память...
- Город: Город, который помню с детства
- Благодарил (а): 108 раз
- Поблагодарили: 164 раза
Re: Demag D200 NC-III (1993)
Мне наоборот, проще иметь исходное оборудование европейского производства.dedaborja писал(а):Тут есть трудности. Это же не Хмельницкий 79-го года, который простой, как палки-веревки. Хочешь - вяжи релюшками, хочешь - программируй микроконтроллер.
Хорошая исходная документация, хороший монтаж, чистые (если наши не постарались испоганить).
Этого мне не надо.dedaborja писал(а):У меня есть формальное описание программы Demag с комментариями. Организационные, программные блоки, постоянные - многоуровневая система с циклами, ветвлениями, прерываниями. 25 мм толщина книги. Уже при трансляции в двоичный код можно набуробить, что семеро не разберутся... С Programmiergerat проще - там компиляторы, эмуляторы STEP 5 - все для комфортной работы.
Есть отличные немецкие циклограммы. Всё остальное, для меня, дело техники и немного времени.
Как базовую, взял родную электросхему DEMAG и сделал свою. Многое в немецких схемах замудрено нарисовано.dedaborja писал(а):Опять же для ремонта аппаратных бзиков нужна какая-никакая схема. У вас именно Demag модернизировался?
Где, в какой теме почитать?
Писал в этой теме, но там полезного мало.
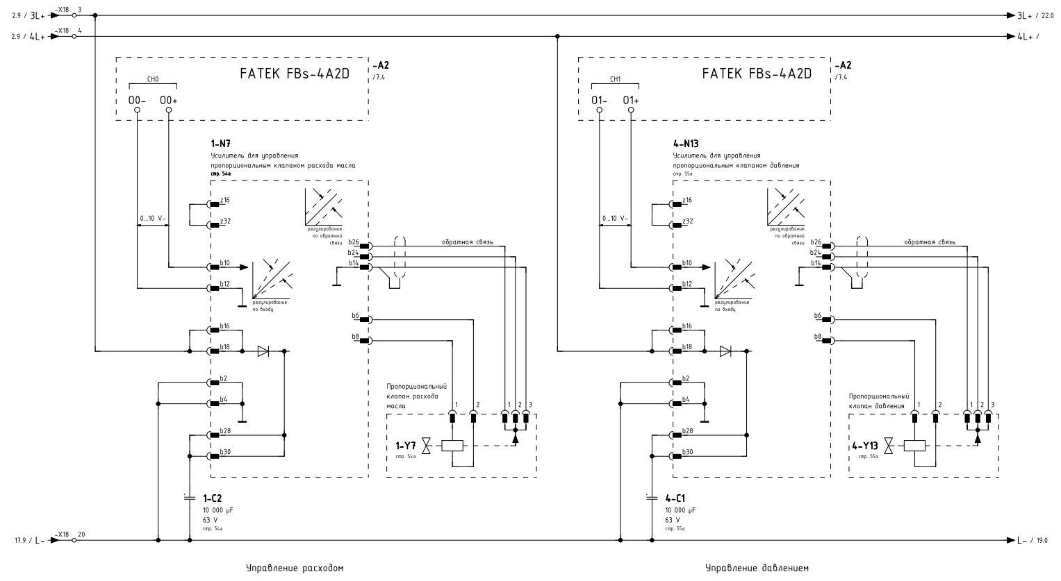
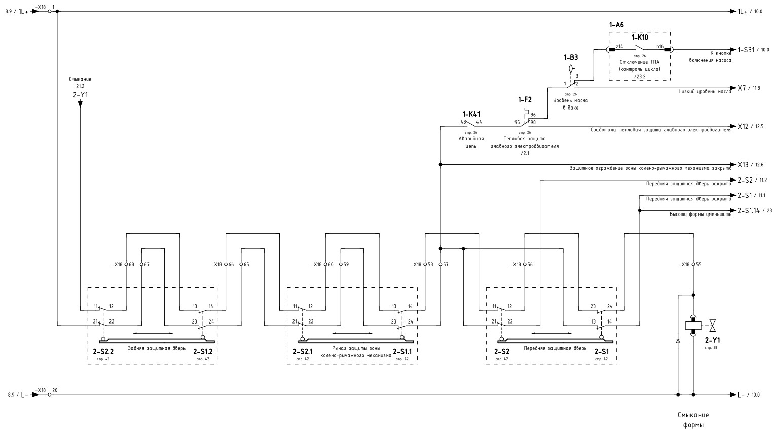
Ниже пример схемы. За основу взял контроллер FATEK.
Качество - это делать что-либо правильно, даже когда никто не смотрит.
© Генри Форд
© Генри Форд
- Cash
- Сообщения: 268
- Зарегистрирован: 21 ноя 2007, 19:23
- Страна, Регион, Область: Россия
- Город: Курск
- Благодарил (а): 0
- Поблагодарили: 1 раз
- Контактная информация:
Re: Demag D200 NC-III (1993)
Один момент сильно меня напрягает в Вашем сообщении.agent_serg писал(а):С 99.99% уверенностью могу сказать, что не повредит. Если руки ровные и фен не для плавки метелла, то всё будет ОК.
Нам проще. У нас большинство EPROMов попались с микросхемами, установленными в панельки. Просто вытащил и скопировал на простом программаторе (тоже не всем доступен).
И тут мне повезло. Имеется старый программатор PG675. Не ожидал, что столько лет он проживёт. Да он и ещё "живее всех живых".
Когда мы в край упёрлись в дороговизну ремонта и приобретения модулей для SIMATIC S5, то я предложил модернизировать систему управления.
По пути приобретения готовых решений от небольших фирмочек я сразу отказался.
Во-первых: всё тот же "чёрный ящик". Ничего не можем изменить, ничего не можем отремонтировать (а ведь бывает).
Во-вторых: надёжность (лично для меня) под большим вопросом. Уровень ремонтного персонала упал ниже плинтуса. Расчитывать надо на грубое и неквалифицированное вмешательство.
В-третьих: где гарантия, что спустя ещё несколько лет производитель такой системы управления будет доступен?
Хватит мне опыта с китайцами, корейцами, тайваньцами и т.п.
Если разработал и внедрил всю систему управления сам, то вся исходная информация у нас есть и к конкретному мне не привязана. Был бы под рукой грамотный инженер, а он может повторить тоже на другом DEMAGе.
В одной из тем на этом форуме я писал про это.
1. Масса элементарных ошибок.
В дальнейшем к написанному мною тексту прошу не доёб..ся!!!!
- Cash
- Сообщения: 268
- Зарегистрирован: 21 ноя 2007, 19:23
- Страна, Регион, Область: Россия
- Город: Курск
- Благодарил (а): 0
- Поблагодарили: 1 раз
- Контактная информация:
Re: Demag D200 NC-III (1993)
Вот такой кабель:
http://test.siemenc.ru/shop/profibus/ko ... bel-pctty/
Вот программа:
http://iadt.siemens.ru/products/automat ... ive/step5/
Предлагаю создать единую базу с прошивками.
http://test.siemenc.ru/shop/profibus/ko ... bel-pctty/
Вот программа:
http://iadt.siemens.ru/products/automat ... ive/step5/
Предлагаю создать единую базу с прошивками.
-
agent_serg
- Сообщения: 812
- Зарегистрирован: 29 июл 2011, 20:30
- Страна, Регион, Область: Её уже нет, только память...
- Город: Город, который помню с детства
- Благодарил (а): 108 раз
- Поблагодарили: 164 раза
Re: Demag D200 NC-III (1993)
Не вопрос. И я не "тащусь" от замечаний.Cash писал(а):В дальнейшем к написанному мною тексту прошу не доёб..ся!!!!
P.S. IMHO, грамотный инженер - грамотный во всём. Во всяком случае, к этому сам стремлюсь.
Отличная идея. Ничего, что я её украл?Cash писал(а):Предлагаю создать единую базу с прошивками.
Качество - это делать что-либо правильно, даже когда никто не смотрит.
© Генри Форд
© Генри Форд
- Cash
- Сообщения: 268
- Зарегистрирован: 21 ноя 2007, 19:23
- Страна, Регион, Область: Россия
- Город: Курск
- Благодарил (а): 0
- Поблагодарили: 1 раз
- Контактная информация:
Re: Demag D200 NC-III (1993)
Самостоятельное програмирование контроллера SIMATIC S5 на Demag D200 NC-III (1993) прошло на ура.Cash писал(а):Вот такой кабель:
http://test.siemenc.ru/shop/profibus/ko ... bel-pctty/
Вот программа:
http://iadt.siemens.ru/products/automat ... ive/step5/
Машина работает без модуля EPROM!
Кто сейчас на конференции
Сейчас этот форум просматривают: нет зарегистрированных пользователей и 11 гостей