регулировка предохранительных клапанов на ТПА 3136
-
- Эксперт Гидравлик
- Сообщения: 5584
- Зарегистрирован: 24 окт 2012, 20:41
- Страна, Регион, Область: СССР
- Город: Деревня Малая Малявня
- Откуда: деревня МАЛАЯ МАЛЯВНЯ
- Благодарил (а): 602 раза
- Поблагодарили: 816 раз
Re: регулировка предохранительных клапанов на ТПА 3136
Что то вижу. Но не в красном круге. Сейчас подпишу.
-
- Эксперт Гидравлик
- Сообщения: 5584
- Зарегистрирован: 24 окт 2012, 20:41
- Страна, Регион, Область: СССР
- Город: Деревня Малая Малявня
- Откуда: деревня МАЛАЯ МАЛЯВНЯ
- Благодарил (а): 602 раза
- Поблагодарили: 816 раз
Re: регулировка предохранительных клапанов на ТПА 3136
Что то вижу. Но не в красном круге. Сейчас подпишу. В желтой трубе штуцер с заглушкой. Эта труба выходит от насоса магистраль нагнетания нашего слепого насоса. Соединяем трубкой глушеный штуцер со штуцером в красном круге. Их там два. С любым. Трубку медную пару ниппелей развальцовка и на место. КП 6 начнет реагировать.Рядом с желтой трубой Вместо г- образной трубы от насоса дальнего НАР, у вас стоит рукав РВД. Там раньше была стальная труба с таким же в варенном штуцером. Это точка нагрузки КП5. Есть предложение немного изменить контроль. Хотя , в начале продуй два штуцера в красном круге куда они выходят к манометрам. Потом ставим трубки. Только есть мысль сделать тебе контроль давления управления головой насоса. И контроль давления КП6 на переключатель. А контроль КП5 установить рядом с ЭМ 40 с зади. Ильшат, молодец оперативно с фотал, НАШЛИ, что искали. !!!!! Продуй мне в первую очередь канал синего манометра куда выходит. Наверное в один из штуцеров в красном круге. Скажи мне точно. Мы можем здесь сварганить три контроля давления в одном месте. Синий, вероятно и был контроль давления управления головой.
- Рейтинг: 5%
-
- Сообщения: 122
- Зарегистрирован: 26 сен 2019, 14:59
- Страна, Регион, Область: тАТАРСТАН
- Город: КУКМОР
- Благодарил (а): 22 раза
- Поблагодарили: 9 раз
Re: регулировка предохранительных клапанов на ТПА 3136
голова насоса труба от гидроблока впрыска,набора...
-
- Эксперт Гидравлик
- Сообщения: 5584
- Зарегистрирован: 24 окт 2012, 20:41
- Страна, Регион, Область: СССР
- Город: Деревня Малая Малявня
- Откуда: деревня МАЛАЯ МАЛЯВНЯ
- Благодарил (а): 602 раза
- Поблагодарили: 816 раз
Re: регулировка предохранительных клапанов на ТПА 3136
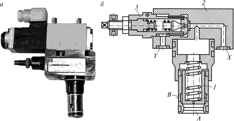
На этих фото вариант подключения двух магистралей контроля давления. 1)А1-А2 давление КП6. 2) Б1-Б2 контроль в строенного в голове постоянного не регулируемого клапана управления насосом. Что касается блока впрыска, там трубками были выводы на станину машины для оператора, для удобства контроля процессами. Далее медная отжигаемая трубка, гайки, ниппеля, развальцовка, монтаж. Разобраться с запиткой синего манометра?
-
- Эксперт Гидравлик
- Сообщения: 5584
- Зарегистрирован: 24 окт 2012, 20:41
- Страна, Регион, Область: СССР
- Город: Деревня Малая Малявня
- Откуда: деревня МАЛАЯ МАЛЯВНЯ
- Благодарил (а): 602 раза
- Поблагодарили: 816 раз
Re: регулировка предохранительных клапанов на ТПА 3136
Контроль КП5. Так будет быстрее и удобнее. При желании манометр можно вывести куда угодно, главное исходные точки. Далее знакомый слесарь обязан все сделать на высшем уровне. Если не хотите связываться с трубкой на управление головой. таким же образом, меняете штуцер и манометр управления прямо на макушку головы. Манометр на 100 кг/см кв. В самый раз.
-
- Эксперт Гидравлик
- Сообщения: 5584
- Зарегистрирован: 24 окт 2012, 20:41
- Страна, Регион, Область: СССР
- Город: Деревня Малая Малявня
- Откуда: деревня МАЛАЯ МАЛЯВНЯ
- Благодарил (а): 602 раза
- Поблагодарили: 816 раз
Re: регулировка предохранительных клапанов на ТПА 3136
Справочные данные, чертежи, характеристики по Гайкам, ниппелям, трубкам МОЖЕМ предоставить.
-
- Сообщения: 122
- Зарегистрирован: 26 сен 2019, 14:59
- Страна, Регион, Область: тАТАРСТАН
- Город: КУКМОР
- Благодарил (а): 22 раза
- Поблагодарили: 9 раз
Re: регулировка предохранительных клапанов на ТПА 3136
Добрый день,поставил трубку на крайний штуцер, 21 ,22 откинул фишки,нажал отвод подвод пушки,манометр зашкаливает.... 

-
- Сообщения: 122
- Зарегистрирован: 26 сен 2019, 14:59
- Страна, Регион, Область: тАТАРСТАН
- Город: КУКМОР
- Благодарил (а): 22 раза
- Поблагодарили: 9 раз
Re: регулировка предохранительных клапанов на ТПА 3136
ситуация : при откинутых фишках 21-22 при нажатии отвод подвод пушки манометр зашкаливает,а с подключенными фишками подвод 10мпа,отвод 70 мпа...,на что ориентироваться?
-
- Сообщения: 122
- Зарегистрирован: 26 сен 2019, 14:59
- Страна, Регион, Область: тАТАРСТАН
- Город: КУКМОР
- Благодарил (а): 22 раза
- Поблагодарили: 9 раз
Re: регулировка предохранительных клапанов на ТПА 3136
ок,сделаем...ЗЮМ писал(а): ↑23 окт 2019, 12:21Контроль КП5. Так будет быстрее и удобнее. При желании манометр можно вывести куда угодно, главное исходные точки. Далее знакомый слесарь обязан все сделать на высшем уровне. Если не хотите связываться с трубкой на управление головой. таким же образом, меняете штуцер и манометр управления прямо на макушку головы. Манометр на 100 кг/см кв. В самый раз.
-
- Сообщения: 122
- Зарегистрирован: 26 сен 2019, 14:59
- Страна, Регион, Область: тАТАРСТАН
- Город: КУКМОР
- Благодарил (а): 22 раза
- Поблагодарили: 9 раз
Re: регулировка предохранительных клапанов на ТПА 3136
мы соединили А1 и Б2...ЗЮМ писал(а): ↑23 окт 2019, 12:03На этих фото вариант подключения двух магистралей контроля давления. 1)А1-А2 давление КП6. 2) Б1-Б2 контроль в строенного в голове постоянного не регулируемого клапана управления насосом. Что касается блока впрыска, там трубками были выводы на станину машины для оператора, для удобства контроля процессами. Далее медная отжигаемая трубка, гайки, ниппеля, развальцовка, монтаж. Разобраться с запиткой синего манометра?
-
- Эксперт Гидравлик
- Сообщения: 5584
- Зарегистрирован: 24 окт 2012, 20:41
- Страна, Регион, Область: СССР
- Город: Деревня Малая Малявня
- Откуда: деревня МАЛАЯ МАЛЯВНЯ
- Благодарил (а): 602 раза
- Поблагодарили: 816 раз
-
- Эксперт Гидравлик
- Сообщения: 5584
- Зарегистрирован: 24 окт 2012, 20:41
- Страна, Регион, Область: СССР
- Город: Деревня Малая Малявня
- Откуда: деревня МАЛАЯ МАЛЯВНЯ
- Благодарил (а): 602 раза
- Поблагодарили: 816 раз
Re: регулировка предохранительных клапанов на ТПА 3136
Оно так и было с рождения я думаю.ильшат 1 писал(а): ↑23 окт 2019, 14:05мы соединили А1 и Б2...ЗЮМ писал(а): ↑23 окт 2019, 12:03На этих фото вариант подключения двух магистралей контроля давления. 1)А1-А2 давление КП6. 2) Б1-Б2 контроль в строенного в голове постоянного не регулируемого клапана управления насосом. Что касается блока впрыска, там трубками были выводы на станину машины для оператора, для удобства контроля процессами. Далее медная отжигаемая трубка, гайки, ниппеля, развальцовка, монтаж. Разобраться с запиткой синего манометра?
-
- Эксперт Гидравлик
- Сообщения: 5584
- Зарегистрирован: 24 окт 2012, 20:41
- Страна, Регион, Область: СССР
- Город: Деревня Малая Малявня
- Откуда: деревня МАЛАЯ МАЛЯВНЯ
- Благодарил (а): 602 раза
- Поблагодарили: 816 раз
Re: регулировка предохранительных клапанов на ТПА 3136
КП 6 настраиваем на 140. Согласно технической документации. Это беспрекословный ориентир. На прижим сопла будет то же задание 140. А сколько дойдет до конца прижима сопла покажет манометр. ( Возможны Потери на манжетах цилиндра, утечки по распределителю) Сейчас главная задача установить норму на КП6. Далее будем анализировать. Вопрос: Вы считывали давление отвода подвода во время движения или на упоре в литниковую ВТУЛКУ. Прошу ответить на этот вопрос. Тогда получим правильный ответ почему?
-
- Сообщения: 122
- Зарегистрирован: 26 сен 2019, 14:59
- Страна, Регион, Область: тАТАРСТАН
- Город: КУКМОР
- Благодарил (а): 22 раза
- Поблагодарили: 9 раз
Re: регулировка предохранительных клапанов на ТПА 3136
давление считывали во время движение пушки туда-обратно,при подключенных фишках 21-22 показало 8-10 мпа,попробовать упереть в литниковую втулку и посмотреть до скольки вырастет ?
-
- Эксперт Гидравлик
- Сообщения: 5584
- Зарегистрирован: 24 окт 2012, 20:41
- Страна, Регион, Область: СССР
- Город: Деревня Малая Малявня
- Откуда: деревня МАЛАЯ МАЛЯВНЯ
- Благодарил (а): 602 раза
- Поблагодарили: 816 раз
Re: регулировка предохранительных клапанов на ТПА 3136
ДА КОНЕЧНО.Реальное давление смотрится всегда на упоре. Закрываем форму в наладке , прижимаем сопло, смотрим. При исправности в линии будет те же 140. Отпишись.
-
- Сообщения: 122
- Зарегистрирован: 26 сен 2019, 14:59
- Страна, Регион, Область: тАТАРСТАН
- Город: КУКМОР
- Благодарил (а): 22 раза
- Поблагодарили: 9 раз
Re: регулировка предохранительных клапанов на ТПА 3136
Пушку упёр в литниковую втулку,на наладке при нажатии на подвод манометр показал 15мпа
-
- Эксперт Гидравлик
- Сообщения: 5584
- Зарегистрирован: 24 окт 2012, 20:41
- Страна, Регион, Область: СССР
- Город: Деревня Малая Малявня
- Откуда: деревня МАЛАЯ МАЛЯВНЯ
- Благодарил (а): 602 раза
- Поблагодарили: 816 раз
Re: регулировка предохранительных клапанов на ТПА 3136
Ну вот. Значит КП 6 настроен. Если это давление совпадает со снятыми фишками 21-22. Значит Норма. И манжеты в цилиндре прижима сопла условно достойные.21-22 снять, КП 6 попробовать покрутить больше меньше.Периодически нажимая кнопки команд, Выставить 140-150 запасец на нагрев масла. И контрим. КП6 ОСВОИЛИ? что и требовалось доказать. Не пропадаем-РАБОТАЕМ дальше. Что на очереди?
-
- Эксперт Гидравлик
- Сообщения: 5584
- Зарегистрирован: 24 окт 2012, 20:41
- Страна, Регион, Область: СССР
- Город: Деревня Малая Малявня
- Откуда: деревня МАЛАЯ МАЛЯВНЯ
- Благодарил (а): 602 раза
- Поблагодарили: 816 раз
Re: регулировка предохранительных клапанов на ТПА 3136
Между делом, хочу показать свои мормышки для диагностики машин.
- За это сообщение автора ЗЮМ поблагодарил:
- Просто Жора
- Рейтинг: 5%
-
- Сообщения: 122
- Зарегистрирован: 26 сен 2019, 14:59
- Страна, Регион, Область: тАТАРСТАН
- Город: КУКМОР
- Благодарил (а): 22 раза
- Поблагодарили: 9 раз
Re: регулировка предохранительных клапанов на ТПА 3136
со снятыми фишками при отводе и подводе сопла манометр зашкаливает более 25мпа...,как правильно смотреть ? Все таки со снятыми фишками регулировать или подключенными на 21-22?ЗЮМ писал(а): ↑23 окт 2019, 16:15Ну вот. Значит КП 6 настроен. Если это давление совпадает со снятыми фишками 21-22. Значит Норма. И манжеты в цилиндре прижима сопла условно достойные.21-22 снять, КП 6 попробовать покрутить больше меньше.Периодически нажимая кнопки команд, Выставить 140-150 запасец на нагрев масла. И контрим. КП6 ОСВОИЛИ? что и требовалось доказать. Не пропадаем-РАБОТАЕМ дальше. Что на очереди?
-
- Сообщения: 122
- Зарегистрирован: 26 сен 2019, 14:59
- Страна, Регион, Область: тАТАРСТАН
- Город: КУКМОР
- Благодарил (а): 22 раза
- Поблагодарили: 9 раз
Re: регулировка предохранительных клапанов на ТПА 3136
Богатый наборчик..,может Вы к нам заглянете на пару другую недельку ?Так сказать,в гости,на нас посмотреть,и себя показать....? Мы были бы очень рады...,соцпакет как полагается..

-
- Сообщения: 122
- Зарегистрирован: 26 сен 2019, 14:59
- Страна, Регион, Область: тАТАРСТАН
- Город: КУКМОР
- Благодарил (а): 22 раза
- Поблагодарили: 9 раз
Re: регулировка предохранительных клапанов на ТПА 3136
всего 1300 км....
-
- Эксперт Гидравлик
- Сообщения: 5584
- Зарегистрирован: 24 окт 2012, 20:41
- Страна, Регион, Область: СССР
- Город: Деревня Малая Малявня
- Откуда: деревня МАЛАЯ МАЛЯВНЯ
- Благодарил (а): 602 раза
- Поблагодарили: 816 раз
Re: регулировка предохранительных клапанов на ТПА 3136
ЕЩЕ раз: Давление настраиваем без подключения системы. То есть. Работает только ЭМ 51 и Эм 29. Либо нажимаем руками эти два магнита. Или используем кнопку на пульте. Мы выбрали кнопку подвода или отвода сопла без разницы. Но фишки откидываем. Можем например включить кнопку набор материала, тогда снимаем фишку ЭМ 28. Без разницы. Цель проверки настройки одна настроить КП6 в чистом виде без подключения потребителей. Так как потребители могут быть дефективными и давление будет не реальным заниженным. Затем смотрим с подключением потребителей. Больше ни когда не будет. Меньше да. Убиваем двух зайцев. По разнице можно судить о исправности или нет ситсемы.ильшат 1 писал(а): ↑23 окт 2019, 16:36со снятыми фишками при отводе и подводе сопла манометр зашкаливает более 25мпа...,как правильно смотреть ? Все таки со снятыми фишками регулировать или подключенными на 21-22?ЗЮМ писал(а): ↑23 окт 2019, 16:15Ну вот. Значит КП 6 настроен. Если это давление совпадает со снятыми фишками 21-22. Значит Норма. И манжеты в цилиндре прижима сопла условно достойные.21-22 снять, КП 6 попробовать покрутить больше меньше.Периодически нажимая кнопки команд, Выставить 140-150 запасец на нагрев масла. И контрим. КП6 ОСВОИЛИ? что и требовалось доказать. Не пропадаем-РАБОТАЕМ дальше. Что на очереди?
-
- Сообщения: 122
- Зарегистрирован: 26 сен 2019, 14:59
- Страна, Регион, Область: тАТАРСТАН
- Город: КУКМОР
- Благодарил (а): 22 раза
- Поблагодарили: 9 раз
Re: регулировка предохранительных клапанов на ТПА 3136
У меня кп 6 похоже на то,что полностью выкручен...,для уменьшения по часовой или против?
-
- Эксперт Гидравлик
- Сообщения: 5584
- Зарегистрирован: 24 окт 2012, 20:41
- Страна, Регион, Область: СССР
- Город: Деревня Малая Малявня
- Откуда: деревня МАЛАЯ МАЛЯВНЯ
- Благодарил (а): 602 раза
- Поблагодарили: 816 раз
Re: регулировка предохранительных клапанов на ТПА 3136
Выкручиваем уменьшаем. Закручиваем увеличиваем. О, батенька...

-
- Эксперт Гидравлик
- Сообщения: 5584
- Зарегистрирован: 24 окт 2012, 20:41
- Страна, Регион, Область: СССР
- Город: Деревня Малая Малявня
- Откуда: деревня МАЛАЯ МАЛЯВНЯ
- Благодарил (а): 602 раза
- Поблагодарили: 816 раз
Re: регулировка предохранительных клапанов на ТПА 3136
Что вы знаете о принципе работы КП6. Судя по вопросам-ни чего. Давайте электронную почту. Вышлю литературу. Выкручен винт нет давления совсем, если есть - неправильный КП 6: При клинило в закрытом положении, Не правильно собран.
-
- Сообщения: 122
- Зарегистрирован: 26 сен 2019, 14:59
- Страна, Регион, Область: тАТАРСТАН
- Город: КУКМОР
- Благодарил (а): 22 раза
- Поблагодарили: 9 раз
Re: регулировка предохранительных клапанов на ТПА 3136
Завтра по новой ,со снятыми фишками21-22,попробую отрегулировать кп6..., По поводу литья,в частности ,при недоливе продукции,рекомендуют увеличить скорость впрыска,вопрос,каким образом можно увеличить скорость и давление впрыска,набора,через Дельту или КП?
-
- Эксперт Гидравлик
- Сообщения: 5584
- Зарегистрирован: 24 окт 2012, 20:41
- Страна, Регион, Область: СССР
- Город: Деревня Малая Малявня
- Откуда: деревня МАЛАЯ МАЛЯВНЯ
- Благодарил (а): 602 раза
- Поблагодарили: 816 раз
Re: регулировка предохранительных клапанов на ТПА 3136
Во первых, я ни какого представления не имею по функционалу ДЕЛЬТЫ на вашей машине.Единственное что я предполагаю, что дельта считывает давление запирания и дает сигнал на впрыск. (в Дельтах я чайник) Дайте описание принципа работы . По БРАКУ: НЕ ДОЛИВ: Действия: 1) ХОТЯ стоп. Это уже другая история и ТЕМА. По регулировке скоростей и давления. Дельта не регулирует, на сколько я понимаю. Скорость впрыска регулируется на голове насоса. Давление на блоке впрыска. Читай на фотках подписи . Доза - знаешь где. Температура расплава знаешь где. Время выдержки знаешь где. Недолив -меры: Убедится что наконечник шнека в порядке 1) Добавить дозу. 2) + температуру расплава. 3)+ Время выдержки под давлением. 4) + Скорость впрыска 1 ступени, Скорость впрыска 2 ступени, 5) Подпор при наборе от 0- 2.5 МПа. Во обще о чем речь. Если контроля нет. Это надо быть суппер наладчикам, по изделию налаживать и за счет интуиции. По технологии литья открывать надо другую тему. Нет соответствия с заголовком. Администрация этого не одобрит. ПРАВИЛА.
Кто сейчас на конференции
Сейчас этот форум просматривают: нет зарегистрированных пользователей и 14 гостей