https://festima.ru/docs/217853734/allru ... 10860-5016 для сравнения стоимость. Предложения в Яндексе есть: разброс цен от 14000 р до 106000 р. Не реклама.
Куаси 170/55 ll тяжело идет загрузка сырья
-
ЗЮМ
- Эксперт Гидравлик
- Сообщения: 5725
- Зарегистрирован: 24 окт 2012, 20:41
- Страна, Регион, Область: СССР
- Город: Деревня Малая Малявня
- Откуда: деревня МАЛАЯ МАЛЯВНЯ
- Благодарил (а): 611 раз
- Поблагодарили: 835 раз
Re: Куаси 170/55 ll тяжело идет загрузка сырья
-
ЗЮМ
- Эксперт Гидравлик
- Сообщения: 5725
- Зарегистрирован: 24 окт 2012, 20:41
- Страна, Регион, Область: СССР
- Город: Деревня Малая Малявня
- Откуда: деревня МАЛАЯ МАЛЯВНЯ
- Благодарил (а): 611 раз
- Поблагодарили: 835 раз
Re: Куаси 170/55 ll тяжело идет загрузка сырья
В плане как без лишних разборок проверить VR 40 и У601. Снимаем один конец РВД напорной магистрали к гидромотору. Ответку с гидромотора глушим гайкой с шариком . Заглушку берем с бака рядом с глазком уровня масла в баке. ( точка откачки масла из бака насосом переносным) Шланг опускаем в емкость ( ведро) Включаем насос и нажимаем кнопку загрузки в наладке на 3-5 секунд Смотрим на манометр. И струю масла. Если все в норме поток нормальный и давление низкое на манометре ( давление преодоления сопротивления пружинки обратного клапана. И если на пустом шнеке было при вращении гидромотора было 40-50 бар. То сравним что покажет на ведро. Узнаем пропускную способность распределителя и обратного клапана. Если давление низкое и поток нормальный. То и не трогаем подозреваемых. 601-го и обратного клапана. Остается гидромотор, редуктор, шнек. Зная литраж насоса можно и посчитать за сколько секунд наполнит ведро например 10 литров. Сравниваем литры в минуту из шланга в ведро с производительностью насоса. Трудозатрат меньше.ЗЮМ писал(а): 19 ноя 2023, 01:23Наводит на размышление ещё одна штука. При пустом шнеке давление на входе в гидромотор во время вращения 40-50 бар. С какого перепугу. ? Надо и Y601 й смотреть. Может не до включает золотник.ЗЮМ писал(а): 19 ноя 2023, 00:56 Проверить VR40. Бывает пружины ломаются и проход частично перекрыт. Это к тому что неисправность может лежать на поверхности.
- Вложения
-
- IMG_20231118_212001.jpg (85.74 КБ) 4929 просмотров
-
ЗЮМ
- Эксперт Гидравлик
- Сообщения: 5725
- Зарегистрирован: 24 окт 2012, 20:41
- Страна, Регион, Область: СССР
- Город: Деревня Малая Малявня
- Откуда: деревня МАЛАЯ МАЛЯВНЯ
- Благодарил (а): 611 раз
- Поблагодарили: 835 раз
Re: Куаси 170/55 ll тяжело идет загрузка сырья
Проверку вышеописанную отменяем. (Мало смысла) Пока Повторяем тест: Включить загрузку с пустым материальным цилиндром. В понедельник. Посмотреть давление при этом в системе.
-
ЗЮМ
- Эксперт Гидравлик
- Сообщения: 5725
- Зарегистрирован: 24 окт 2012, 20:41
- Страна, Регион, Область: СССР
- Город: Деревня Малая Малявня
- Откуда: деревня МАЛАЯ МАЛЯВНЯ
- Благодарил (а): 611 раз
- Поблагодарили: 835 раз
Re: Куаси 170/55 ll тяжело идет загрузка сырья
Тест на пустом м/цилиндре показал давление на входе в гидромотор 4-5 МПа. По мне многовато. Запросил марку масла по вязкости. Температура стабильна 38°. Вода проточная из скважины.
-
ЗЮМ
- Эксперт Гидравлик
- Сообщения: 5725
- Зарегистрирован: 24 окт 2012, 20:41
- Страна, Регион, Область: СССР
- Город: Деревня Малая Малявня
- Откуда: деревня МАЛАЯ МАЛЯВНЯ
- Благодарил (а): 611 раз
- Поблагодарили: 835 раз
Re: Куаси 170/55 ll тяжело идет загрузка сырья
В редакторе привода шнека масло по уровню. Масло в баке МГЕ 46. Хорошие Характеристики:
- Вложения
-
- i (14).jpeg (107.15 КБ) 4836 просмотров
-
ЗЮМ
- Эксперт Гидравлик
- Сообщения: 5725
- Зарегистрирован: 24 окт 2012, 20:41
- Страна, Регион, Область: СССР
- Город: Деревня Малая Малявня
- Откуда: деревня МАЛАЯ МАЛЯВНЯ
- Благодарил (а): 611 раз
- Поблагодарили: 835 раз
Re: Куаси 170/55 ll тяжело идет загрузка сырья
На холостых оборотах гидропривода 5 бар-0,5 МПа. Давление прокачки масла в сливную магистраль через фильтр. Имеем в виду что в фильтровой коробке имеется обратный клапан, который открывается ( говорили нам) при 6 бар. Значит учитывая вязкость и температуру масла клапан откроется и масло пойдёт в обход фильтра. Страховка от разрушения фильтра.
-
ЗЮМ
- Эксперт Гидравлик
- Сообщения: 5725
- Зарегистрирован: 24 окт 2012, 20:41
- Страна, Регион, Область: СССР
- Город: Деревня Малая Малявня
- Откуда: деревня МАЛАЯ МАЛЯВНЯ
- Благодарил (а): 611 раз
- Поблагодарили: 835 раз
Re: Куаси 170/55 ll тяжело идет загрузка сырья
Расписывал, расписывал, все зависло и слетело. Повтор кратко. По контролю давления: Впрыск можно увидеть и в позиции подпора на левом манометре и в позиции впрыска на правом. Смотрим видеоролики тестов. На левом впрыск 20 бар, на правом 40. Могу предположить что правый врет, завышает на 20 бар. А значит при загрузке не 100 бар а реально 80. Что при таком обороте сырья в единицу времени Норма. Потом гидромотор рассчитан на 160 бар. Пусть пашет. Одно Но. При реализации самопальной интрузии есть риск нанести вред цилиндру впрыска. Трение поршня о заднюю крышку. Это возможно. Ну а по манометрам решать вам. Ну и задача, месяц продержаться заказ. Машины другие на подходе. А эта Куасюха поживет. Не плохо сохранилась. Добавлю , на пустом шнеке давление 4-5 МПа. В натуре же возможно 2-3 МПа. Что вполне возможно. Нужен тестовый манометр выносной для проверки вранья старых. ( 20 лет)
- Вложения
-
- i (13).jpeg (111.77 КБ) 4809 просмотров
-
- i (11).jpeg (79.2 КБ) 4809 просмотров
-
- i (10).jpeg (50.34 КБ) 4809 просмотров
-
ЗЮМ
- Эксперт Гидравлик
- Сообщения: 5725
- Зарегистрирован: 24 окт 2012, 20:41
- Страна, Регион, Область: СССР
- Город: Деревня Малая Малявня
- Откуда: деревня МАЛАЯ МАЛЯВНЯ
- Благодарил (а): 611 раз
- Поблагодарили: 835 раз
Re: Куаси 170/55 ll тяжело идет загрузка сырья
Снизит нагрузку - увеличение времени цикла. За счёт понятных параметров. А так все более мене достойно. У нас ВСЕ пока. Время покажет. Спасибо Артуру за участие. Два тополя на Плющихе. 
-
ЗЮМ
- Эксперт Гидравлик
- Сообщения: 5725
- Зарегистрирован: 24 окт 2012, 20:41
- Страна, Регион, Область: СССР
- Город: Деревня Малая Малявня
- Откуда: деревня МАЛАЯ МАЛЯВНЯ
- Благодарил (а): 611 раз
- Поблагодарили: 835 раз
Re: Куаси 170/55 ll тяжело идет загрузка сырья
Из области загадок: Охладили бак до 30°. Давление в гидромотор снизилось со 120 бар до . Интрузия-70,80 бар. Загрузка 90 бар.
-
ЗЮМ
- Эксперт Гидравлик
- Сообщения: 5725
- Зарегистрирован: 24 окт 2012, 20:41
- Страна, Регион, Область: СССР
- Город: Деревня Малая Малявня
- Откуда: деревня МАЛАЯ МАЛЯВНЯ
- Благодарил (а): 611 раз
- Поблагодарили: 835 раз
Re: Куаси 170/55 ll тяжело идет загрузка сырья
Пободяжили с сырьем, снизили подпор. Подпор регулируется раздельно на интрузию и на загрузку. Цилиндр впрыска поршень держит позицию уверенно. Риска трения о задницу нет Машина вошла в режим до жалоб. Готовим мероприятия по подготовке дублера гидромотору. В плане замена. А родной на вскрытие и замену уплотнений системы компенсации торцевых зазоров блока шестерен. Отпишемся.
-
ЗЮМ
- Эксперт Гидравлик
- Сообщения: 5725
- Зарегистрирован: 24 окт 2012, 20:41
- Страна, Регион, Область: СССР
- Город: Деревня Малая Малявня
- Откуда: деревня МАЛАЯ МАЛЯВНЯ
- Благодарил (а): 611 раз
- Поблагодарили: 835 раз
Re: Куаси 170/55 ll тяжело идет загрузка сырья
Немного теории о компенсации. Аналогично и для г/моторов. Только без пружинок. Для автоматической компенсации осевых зазоров у шестеренных насосов служат две плавающие втулки 2, 4, которые давлением жидкости прижимают к торцевым поверхностям шестерни 3 (рис. 3.17). При пуске насоса втулка прижимается к шестерне пружиной 1. Площадь прижима втулки, на которую действует давление нагнетания, выбирают таким образом, чтобы усилие прижима превышало усилие отжима. Среднее давление на торце уплотняющего пояска от точки до тоски принимают равным одной четверти от давления нагнетания, а в зоне зубьев – половине давления нагнетания.
-
ЗЮМ
- Эксперт Гидравлик
- Сообщения: 5725
- Зарегистрирован: 24 окт 2012, 20:41
- Страна, Регион, Область: СССР
- Город: Деревня Малая Малявня
- Откуда: деревня МАЛАЯ МАЛЯВНЯ
- Благодарил (а): 611 раз
- Поблагодарили: 835 раз
Re: Куаси 170/55 ll тяжело идет загрузка сырья
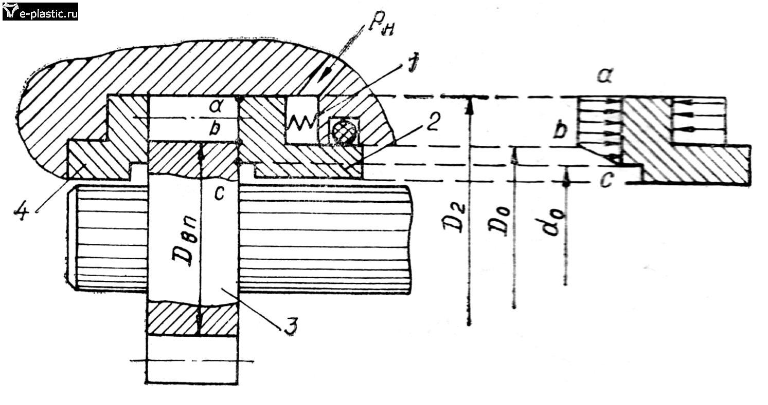
К чему это? Убедиться что на втулках с внешних строн не увеличилась осевая сила действующая в сторону торцев шестерен. Что вызывает дополнительное сопротивление крутящему моменту. И Росту давления на входе в гидромотор. И чем больше давление тем сильнее зажим. Такая версия имеет право быть. Однажды Поменяли материальный цилиндр в сборе. Не помогло. Глохла аналогично загрузка. Заменили г.мотор все стало в норму. Цилиндр прижима изображен условно. Что указывает на наличие компенсации? Две заглужки в задней крышке гидромотора. Если заглушек нет то зазор по торцам стационарный. В этом случае наблюдается только увеличение утечек в дренаж и потеря давления, нагрев масла, потеря КПД. Ремонт возможен восстановлением вкладышей втулок при условии что шестерни в порядке, перефирия геометрия корпуса в порядке. И вообще большинство считается эти вещи не ремонтопригодными. Только замена. Но делали
-
ЗЮМ
- Эксперт Гидравлик
- Сообщения: 5725
- Зарегистрирован: 24 окт 2012, 20:41
- Страна, Регион, Область: СССР
- Город: Деревня Малая Малявня
- Откуда: деревня МАЛАЯ МАЛЯВНЯ
- Благодарил (а): 611 раз
- Поблагодарили: 835 раз
Re: Куаси 170/55 ll тяжело идет загрузка сырья
Пояснение. По вине износа уплотнений в задней крышке усиления прижима вкладышей к торцам шестерен не будет. Это точно. А наоборот ослабление. Так как масло будет дросселировать в дренаж. Если прилично то давление будет проседать. А может и не будет. Зависит от интенсивности утечки и увеличения или падения оборотов мотора/г то есть расхода. Вывод, самозажим не причина.Самозажим -компенсация расчетная величина которая растет прямо пропорционпльно давлению на входе в г.мотор.Возможно задирчики , рост коэффициента трения. Надо смотреть сколько масла гонит через дренаж. Фото разобранного мотора в другом месте. На рисунке выше у меня два обратных клапана нарисовано и один логический. В натуре обратные клапана спаренные по два параллельно. Г. Мотор реверсивный.
-
ЗЮМ
- Эксперт Гидравлик
- Сообщения: 5725
- Зарегистрирован: 24 окт 2012, 20:41
- Страна, Регион, Область: СССР
- Город: Деревня Малая Малявня
- Откуда: деревня МАЛАЯ МАЛЯВНЯ
- Благодарил (а): 611 раз
- Поблагодарили: 835 раз
Re: Куаси 170/55 ll тяжело идет загрузка сырья
Думаем всё-таки перегрузка по режимам загрузки. И что бы голову не ломать. Гидромотор, разобрать на осмотр. Шнек демонтировать, осмотреть наконечник и состояние самого шнека. Но обстоятельства не позволяют пока. Машина, тяжело, но работает. С остановками не надолго через 400 циклов.
-
ЗЮМ
- Эксперт Гидравлик
- Сообщения: 5725
- Зарегистрирован: 24 окт 2012, 20:41
- Страна, Регион, Область: СССР
- Город: Деревня Малая Малявня
- Откуда: деревня МАЛАЯ МАЛЯВНЯ
- Благодарил (а): 611 раз
- Поблагодарили: 835 раз
Re: Куаси 170/55 ll тяжело идет загрузка сырья
Ну и хорошо бы, тахометр в помощь. Контроль давления на входе, контроль интенсивности утечки через дренажный шланг из передней крышки мотора.https://youtu.be/uu1ThcwH8ac?feature=shared
-
ЗЮМ
- Эксперт Гидравлик
- Сообщения: 5725
- Зарегистрирован: 24 окт 2012, 20:41
- Страна, Регион, Область: СССР
- Город: Деревня Малая Малявня
- Откуда: деревня МАЛАЯ МАЛЯВНЯ
- Благодарил (а): 611 раз
- Поблагодарили: 835 раз
Re: Куаси 170/55 ll тяжело идет загрузка сырья
Больше чем расчитал конструктор не пережмет. Только меньше при перепуске колец меньшего диаметра в виде восьмёрки. Ну а внешнее кольцо понятно не пускает масло на улицу.
-
ЗЮМ
- Эксперт Гидравлик
- Сообщения: 5725
- Зарегистрирован: 24 окт 2012, 20:41
- Страна, Регион, Область: СССР
- Город: Деревня Малая Малявня
- Откуда: деревня МАЛАЯ МАЛЯВНЯ
- Благодарил (а): 611 раз
- Поблагодарили: 835 раз
Re: Куаси 170/55 ll тяжело идет загрузка сырья
Готовим, приобретаем уплотнения все. Гидромотор. В первый раз вижу такую маркировку. 49.3×33×8 МЗРТИ 3. Гост не понятный 35-ти летней давности.Уже меняли. На сегодня при заказе, покупки достаточно указать посадочное место в мм , диаметр вала, и высоту Н. У нас это: Диаметр вала 35 мм, Посадочный диаметр наружный 49 мм, Высота 8мм. Рассчитан на максимальное давление 0,5 бар. Значит размер: 35×49×8.
- Вложения
-
- i (18).jpeg (56.57 КБ) 4530 просмотров
-
- osnovye_razmery_salnika.jpg (32.67 КБ) 4530 просмотров
-
ЗЮМ
- Эксперт Гидравлик
- Сообщения: 5725
- Зарегистрирован: 24 окт 2012, 20:41
- Страна, Регион, Область: СССР
- Город: Деревня Малая Малявня
- Откуда: деревня МАЛАЯ МАЛЯВНЯ
- Благодарил (а): 611 раз
- Поблагодарили: 835 раз
Re: Куаси 170/55 ll тяжело идет загрузка сырья
Почему размазываю тему? Грешим на гидромотор, и дренаж свищет прилично. Дальше по уплотнению вала. Не в целях рекламы а в выборе лучшего ремонта. Тем более пора, не ждать пока крякнет. Решили заказать уплотнение точеное на Еconomose. Которое износостойкое и на давление внутри корпуса более 0,5 бар. Стоит гораздо дороже. Вариантов много. Спецы подскажут. Подробности по NQK и по точечным из армированных материалов в Яндексе. А сальник NQK уже едет из Владивостока. Почти месяц пути. Неожиданно выручил ОZON. Общим два варианта уплотнения. Тем более что менять их удобно и не сложно. Машина на сегодня пыхтит потихоньку. После нового года отпишемся. Как с динамикой машины.
-
ЗЮМ
- Эксперт Гидравлик
- Сообщения: 5725
- Зарегистрирован: 24 окт 2012, 20:41
- Страна, Регион, Область: СССР
- Город: Деревня Малая Малявня
- Откуда: деревня МАЛАЯ МАЛЯВНЯ
- Благодарил (а): 611 раз
- Поблагодарили: 835 раз
Re: Куаси 170/55 ll тяжело идет загрузка сырья
Машина с трудом работает. Хотим поделится опытом приобретения ремкомплектов по уплотнениям гидромотора. Подготовка дублера загрузки материала. Кольца круглого сечения без проблем. На вал гидромотора точили (прям при нас, ждать долго не надо) на Экономусе из за нестандартного размера. Приобрели два ремкомплекта. Попросили сфотать станок. Все быстро. Сальник на валу на фото одет не верно. просто для показа. Это армированный манжет не имеющий металла внутри. Материал повышенной износо- стойкости и не только маслобензостойкий но и стойкий с другим агрессивным средам не подвергается усыханию длительное время. Размеры уплотнений в документе. Шильдик в теме. Если планируете менять уплотнения.
-
ЗЮМ
- Эксперт Гидравлик
- Сообщения: 5725
- Зарегистрирован: 24 окт 2012, 20:41
- Страна, Регион, Область: СССР
- Город: Деревня Малая Малявня
- Откуда: деревня МАЛАЯ МАЛЯВНЯ
- Благодарил (а): 611 раз
- Поблагодарили: 835 раз
Re: Куаси 170/55 ll тяжело идет загрузка сырья
Цены и размеры. На сегодняшний день с этим делом хорошо. Два сальника на вал из Владивостока уже в пути, две недели висел в сборке на Озоне. По 500р штука. на всякий пожарный.
- Олька
- Сообщения: 1012
- Зарегистрирован: 18 окт 2010, 17:36
- Страна, Регион, Область: Россия, Северо-западный регион, Новгородская обл.
- Город: Великий Новгород
- Откуда: Великий Новгород
- Благодарил (а): 32 раза
- Поблагодарили: 84 раза
Re: Куаси 170/55 ll тяжело идет загрузка сырья
Вячеслав здравия Вам! На токарном, выработку убирали?!ЗЮМ писал(а): 07 дек 2023, 18:55 Машина с трудом работает. Хотим поделится опытом приобретения ремкомплектов по уплотнениям гидромотора. Подготовка дублера загрузки материала. Кольца круглого сечения без проблем. На вал гидромотора точили (прям при нас, ждать долго не надо) на Экономусе из за нестандартного размера. Приобрели два ремкомплекта. Попросили сфотать станок. Все быстро. Сальник на валу на фото одет не верно. просто для показа. Это армированный манжет не имеющий металла внутри. Материал повышенной износо- стойкости и не только маслобензостойкий но и стойкий с другим агрессивным средам не подвергается усыханию длительное время. Размеры уплотнений в документе. Шильдик в теме. Если планируете менять уплотнения.
Злая ты, Олечка!
-
ЗЮМ
- Эксперт Гидравлик
- Сообщения: 5725
- Зарегистрирован: 24 окт 2012, 20:41
- Страна, Регион, Область: СССР
- Город: Деревня Малая Малявня
- Откуда: деревня МАЛАЯ МАЛЯВНЯ
- Благодарил (а): 611 раз
- Поблагодарили: 835 раз
Re: Куаси 170/55 ll тяжело идет загрузка сырья
Доброе утро всем. Если речь про шейку вала, то там следы и выработки почти нет. Обойдемся легонько наждачкой полирнем. Хотя надо повнимательней эти места изучить. Спасибо за внимание Олька.Олька писал(а): 07 дек 2023, 22:04Вячеслав здравия Вам! На токарном, выработку убирали?!ЗЮМ писал(а): 07 дек 2023, 18:55 Машина с трудом работает. Хотим поделится опытом приобретения ремкомплектов по уплотнениям гидромотора. Подготовка дублера загрузки материала. Кольца круглого сечения без проблем. На вал гидромотора точили (прям при нас, ждать долго не надо) на Экономусе из за нестандартного размера. Приобрели два ремкомплекта. Попросили сфотать станок. Все быстро. Сальник на валу на фото одет не верно. просто для показа. Это армированный манжет не имеющий металла внутри. Материал повышенной износо- стойкости и не только маслобензостойкий но и стойкий с другим агрессивным средам не подвергается усыханию длительное время. Размеры уплотнений в документе. Шильдик в теме. Если планируете менять уплотнения.
-
ЗЮМ
- Эксперт Гидравлик
- Сообщения: 5725
- Зарегистрирован: 24 окт 2012, 20:41
- Страна, Регион, Область: СССР
- Город: Деревня Малая Малявня
- Откуда: деревня МАЛАЯ МАЛЯВНЯ
- Благодарил (а): 611 раз
- Поблагодарили: 835 раз
Re: Куаси 170/55 ll тяжело идет загрузка сырья
Забарархлил распределитель Y 21. Отвечающий за рагрузку- нагрузку малого насоса. Такая схема в России и СНГ не выпускается. В зарубежных каталогах есть. PARKER США бешеных денег стоит. БОШ-Рексрот то же дорого. Нашли в фирме Капрони - Италия. Цену не запрашивали. Олька при модернизации насоса с блоком в другой теме получила эти схемы из Китая. Маркировка на фото. Со всеми пересылами и доставкой авиа - дроговато. Вопрос знатокам: Кто и как решил этот вопрос если с ним сталкивался.????
-
Артур69
- Сообщения: 3457
- Зарегистрирован: 02 фев 2020, 10:56
- Страна, Регион, Область: Германия
- Город: NRW
- Благодарил (а): 1219 раз
- Поблагодарили: 1430 раз
Re: Куаси 170/55 ll тяжело идет загрузка сырья
Отремонтировать никак? Посмотрел только orsta по этой схеме как грязи . От 120 евро бу до 400 новые , но.. сам понимаешь.
https://www.hypneu.de/shop/orsta-hydrau ... 26223.html
https://www.hypneu.de/shop/orsta-hydrau ... 26223.html
Nein zum Krieg.
-
ЗЮМ
- Эксперт Гидравлик
- Сообщения: 5725
- Зарегистрирован: 24 окт 2012, 20:41
- Страна, Регион, Область: СССР
- Город: Деревня Малая Малявня
- Откуда: деревня МАЛАЯ МАЛЯВНЯ
- Благодарил (а): 611 раз
- Поблагодарили: 835 раз
Re: Куаси 170/55 ll тяжело идет загрузка сырья
Да, на странице 3 есть такая схема. Схема распределения номер11. Спасибо. Я не мог найти. Задача найти вариант дешевле существенно.
- Вложения
-
- de_TGL 26223 NW 10.pdf
- (462.63 КБ) 13 скачиваний
-
ЗЮМ
- Эксперт Гидравлик
- Сообщения: 5725
- Зарегистрирован: 24 окт 2012, 20:41
- Страна, Регион, Область: СССР
- Город: Деревня Малая Малявня
- Откуда: деревня МАЛАЯ МАЛЯВНЯ
- Благодарил (а): 611 раз
- Поблагодарили: 835 раз
Re: Куаси 170/55 ll тяжело идет загрузка сырья
Отремонтировать можно, но не нужно, хлопотно. Со временем золотник начинает подклинивать и он зависает в положении нагрузка. И остаётся в нагрузке и на холостых оборотах.( можно пружинку подсевшую подрастянуть но помогает не на долго)Рабочий не выключив насос ушёл пить чай, а насос остался под давлением максимум. Результат, масло кипяток, насос заклинен, вал пополам. Как это отражается на машине сейчас: При включении все вроде нормально , шнек крутит. При поджиме рукой , крутит веселей и давление на входе растёт появляется перегрузка на шнеке, о чем уже был разговор в теме выше. Про это все сказано. А вот про распределитель получается что он не до включается. Лучше заменить на новый, стремное место. Схема Китая -2в2а. Схема Капрони Италия- 27. Схема орста-11.Артур69 писал(а): 08 дек 2023, 16:52 Отремонтировать никак? Посмотрел только orsta по этой схеме как грязи . От 120 евро бу до 400 новые , но.. сам понимаешь.
https://www.hypneu.de/shop/orsta-hydrau ... 26223.html
-
ЗЮМ
- Эксперт Гидравлик
- Сообщения: 5725
- Зарегистрирован: 24 окт 2012, 20:41
- Страна, Регион, Область: СССР
- Город: Деревня Малая Малявня
- Откуда: деревня МАЛАЯ МАЛЯВНЯ
- Благодарил (а): 611 раз
- Поблагодарили: 835 раз
Re: Куаси 170/55 ll тяжело идет загрузка сырья
Используя то что прислал Артур можно составить полный код этого распределителя ( не указан шильде) Облегчит заказ.
-
ЗЮМ
- Эксперт Гидравлик
- Сообщения: 5725
- Зарегистрирован: 24 окт 2012, 20:41
- Страна, Регион, Область: СССР
- Город: Деревня Малая Малявня
- Откуда: деревня МАЛАЯ МАЛЯВНЯ
- Благодарил (а): 611 раз
- Поблагодарили: 835 раз
Re: Куаси 170/55 ll тяжело идет загрузка сырья
Расшифровка кода. Точный код я не смог составить даже с переводом. Заказ в один клик не пройдет. Через электронку или телефон. Если ответят. (Санкции) И вообще Это для оригинальщиков и при деньгах. Мы имеем три варианта в обход
В восемь раз дешевле. Да и клапан шустрые ребята из Краснодара уже отправили Семену 87. Чей выясняем. Цена 3000 с копейками.Главное не в этом что нашли. А в расшифровках и где лежат запчасти надо разбираться и знать.
-
ЗЮМ
- Эксперт Гидравлик
- Сообщения: 5725
- Зарегистрирован: 24 окт 2012, 20:41
- Страна, Регион, Область: СССР
- Город: Деревня Малая Малявня
- Откуда: деревня МАЛАЯ МАЛЯВНЯ
- Благодарил (а): 611 раз
- Поблагодарили: 835 раз
Re: Куаси 170/55 ll тяжело идет загрузка сырья
Краснодар дал то дал но имя клапана можно понимать двояко (44А) Потребовались соглосования. Артур69 попробует код определить, вдруг кто захочет именно ORSTA Родной.
Кто сейчас на конференции
Сейчас этот форум просматривают: нет зарегистрированных пользователей и 2 гостя