В 502 - вернуть работоспособность за 30 минут.
-
- Эксперт Гидравлик
- Сообщения: 5584
- Зарегистрирован: 24 окт 2012, 20:41
- Страна, Регион, Область: СССР
- Город: Деревня Малая Малявня
- Откуда: деревня МАЛАЯ МАЛЯВНЯ
- Благодарил (а): 602 раза
- Поблагодарили: 816 раз
В 502 - вернуть работоспособность за 30 минут.
Коллеги написал тему для новичков начинающих и столкнувшихся с ПОДЛИВОМ СОПЛА.
В 502. Кто не знает? Реле давления производства ORSTA - DDR.
Представим, что не работает.
Проблемы:
Впрыск раньше времени,
не плотное прижатие сопла,
лишение работы с функцией отвода сопла,
уничтожение нагревателей,
дым и запах.
Каждый выкручивается как может: кидают провода параллельно на У 271-У272, принуждая включению 271-й в момент впрыска, ставят электроконтактные манометры ...
Есть решение вопроса 30 минут.
При условии, если нет механических повреждений ( Не заломали).
Покажем в разобранном виде и одну из причин, которая решается при помощи токарного станка.
Знатоки подключайтесь , показывайте ваши наработки.
Реле давления на верстаке.
Задача: восстановить контроль прижима сопла с последующей передачей команды на впрыск на трех ТПА Куаси 410/100.
И врезка манометра прямого контроля давления прижима сопла ( дрель, сверло, метчик, манометр) это позволяет за секунды определить что гидравлика не причем или при чем.
В 502. Кто не знает? Реле давления производства ORSTA - DDR.
Представим, что не работает.
Проблемы:
Впрыск раньше времени,
не плотное прижатие сопла,
лишение работы с функцией отвода сопла,
уничтожение нагревателей,
дым и запах.
Каждый выкручивается как может: кидают провода параллельно на У 271-У272, принуждая включению 271-й в момент впрыска, ставят электроконтактные манометры ...
Есть решение вопроса 30 минут.
При условии, если нет механических повреждений ( Не заломали).
Покажем в разобранном виде и одну из причин, которая решается при помощи токарного станка.
Знатоки подключайтесь , показывайте ваши наработки.
Реле давления на верстаке.
Задача: восстановить контроль прижима сопла с последующей передачей команды на впрыск на трех ТПА Куаси 410/100.
И врезка манометра прямого контроля давления прижима сопла ( дрель, сверло, метчик, манометр) это позволяет за секунды определить что гидравлика не причем или при чем.
-
- Эксперт Гидравлик
- Сообщения: 5584
- Зарегистрирован: 24 окт 2012, 20:41
- Страна, Регион, Область: СССР
- Город: Деревня Малая Малявня
- Откуда: деревня МАЛАЯ МАЛЯВНЯ
- Благодарил (а): 602 раза
- Поблагодарили: 816 раз
Re: В 502 - вернуть работоспособность за 30 минут.
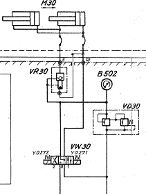
Черновик по памяти. Фото натуры будет. Если что не понятно - сделаем красиво. Приобретите в автозапчастях съемники замков.
-
- Эксперт Гидравлик
- Сообщения: 5584
- Зарегистрирован: 24 окт 2012, 20:41
- Страна, Регион, Область: СССР
- Город: Деревня Малая Малявня
- Откуда: деревня МАЛАЯ МАЛЯВНЯ
- Благодарил (а): 602 раза
- Поблагодарили: 816 раз
Re: В 502 - вернуть работоспособность за 30 минут.
Врезали манометры. ФОТО. В штоковую полость прижима сопла. Теперь от начала впрыска до конца набора материала хорошо видно силу прижима сопла. Восстановили работоспособность двух В 502. На первой машине после прижима сопла в наладке, даже выключили гидравлику. Ушли курить. Пришли. Давление как было 100 атм. Так и замерло. Значит, гидрозамок и поршня цилиндров в идеале. Запустили в работу. Все под контролем. На второй машине манометр сразу показал, что к концу набора давление в цилиндре прижима сопла остается 10 атм. То есть со 100 атм, нами установленными, падает до 10-ти атм. Гидрозамок рабочий. Значит цилиндры в ремонт на замену манжетов поршней. Очень удобно, проходя мимо видно всю динамику.
- Рейтинг: 5%
-
- Эксперт Гидравлик
- Сообщения: 5584
- Зарегистрирован: 24 окт 2012, 20:41
- Страна, Регион, Область: СССР
- Город: Деревня Малая Малявня
- Откуда: деревня МАЛАЯ МАЛЯВНЯ
- Благодарил (а): 602 раза
- Поблагодарили: 816 раз
Re: В 502 - вернуть работоспособность за 30 минут.
Реле давления В 502 , Куаси. Притащил один разобранный домой, Вот фотосессия. Устройство. Есть не большие конструктивные отличия в сравнении с другими почти похожими.
-
- Эксперт Гидравлик
- Сообщения: 5584
- Зарегистрирован: 24 окт 2012, 20:41
- Страна, Регион, Область: СССР
- Город: Деревня Малая Малявня
- Откуда: деревня МАЛАЯ МАЛЯВНЯ
- Благодарил (а): 602 раза
- Поблагодарили: 816 раз
Re: В 502 - вернуть работоспособность за 30 минут.
Теперь последнее.
НАША причина отказа в работе:
1) Электрочасть в порядке.
2) РТИ замена.
3) Слабое место резьбовой сухарь и пара гайка с накаткой не повреждены.
Весь криминал вот с этими двумя деталями, вернее даже с одной.
Все предельно просто:
Игла имеет длинную часть которая запрессована в пятак с ПИПКОЙ, короткая часть слева от пятака опорного пружин) Шайба с отверстием толщиной 3,5 мм стоит как на фото. Короткий конец выступает за пределы шайбы 0,3 мм.
То есть от многократного включения укоротилась.
И плунжер нажимая на эту пипку не мог включить нажать иглой на микровыключатель.
Взяли и на токарном станке проточили торец опорного пятака-иглы со стороны короткой пипки на 1,5мм.
Пипка стала длиннее на эти же 1,5мм, обеспечив возвратно поступательное движение игле, которого не было. Плунжер на вкл- пружины на возврат.
Вот и вся история.
Когда наступает этот случай, и начинаются последующие заломы и выброс В 502 в утиль.
На всех трех машинах одна история, на которую не обратив внимания, испорчены другие детали:
1) Сорвана резьба в карболитовой головке с микровыключателем.
2) Погнута пластина нажима на микрик.
3) Сорвана резьба в гайке регулировки ( Гайка-сухарь)
Хорошо было из чего насобирать нужных железячек.
Коллеги написал тему для новичков начинающих и столкнувшихся с ПОДЛИВОМ СОПЛА.
НАША причина отказа в работе:
1) Электрочасть в порядке.
2) РТИ замена.
3) Слабое место резьбовой сухарь и пара гайка с накаткой не повреждены.
Весь криминал вот с этими двумя деталями, вернее даже с одной.
Все предельно просто:
Игла имеет длинную часть которая запрессована в пятак с ПИПКОЙ, короткая часть слева от пятака опорного пружин) Шайба с отверстием толщиной 3,5 мм стоит как на фото. Короткий конец выступает за пределы шайбы 0,3 мм.
То есть от многократного включения укоротилась.
И плунжер нажимая на эту пипку не мог включить нажать иглой на микровыключатель.
Взяли и на токарном станке проточили торец опорного пятака-иглы со стороны короткой пипки на 1,5мм.
Пипка стала длиннее на эти же 1,5мм, обеспечив возвратно поступательное движение игле, которого не было. Плунжер на вкл- пружины на возврат.
Вот и вся история.
Когда наступает этот случай, и начинаются последующие заломы и выброс В 502 в утиль.
На всех трех машинах одна история, на которую не обратив внимания, испорчены другие детали:
1) Сорвана резьба в карболитовой головке с микровыключателем.
2) Погнута пластина нажима на микрик.
3) Сорвана резьба в гайке регулировки ( Гайка-сухарь)
Хорошо было из чего насобирать нужных железячек.

Коллеги написал тему для новичков начинающих и столкнувшихся с ПОДЛИВОМ СОПЛА.
- За это сообщение автора ЗЮМ поблагодарили (всего 5):
- Figaro • muhomornik • Елена ПластЭксперт • nozzio • Артур69
- Рейтинг: 25%
-
- Сообщения: 686
- Зарегистрирован: 16 фев 2011, 12:54
- Страна, Регион, Область: РФ
- Город: Санкт-Петербург
- Благодарил (а): 69 раз
- Поблагодарили: 146 раз
-
- Эксперт Гидравлик
- Сообщения: 5584
- Зарегистрирован: 24 окт 2012, 20:41
- Страна, Регион, Область: СССР
- Город: Деревня Малая Малявня
- Откуда: деревня МАЛАЯ МАЛЯВНЯ
- Благодарил (а): 602 раза
- Поблагодарили: 816 раз
Re: В 502 - вернуть работоспособность за 30 минут.
Зачем? если родная система поправима ? ЭКМ купить сначала надо. Реле давление команду на впрыск передает более точно. Можно и ЭКМ. И реле датчик с электронной цифровой шкалой.И реле давления выносное СССр . ЭКМ меньше времени живет. Можно просто по БВК, дополнительно установленному. Финал один, уйти от раннего впрыска, путем скрутки провода микрика. Не коптить дымом цех, не заливать замуровывать термопары и нагреватели, не терять сырье, Не отковыривать шапки.

Кто сейчас на конференции
Сейчас этот форум просматривают: нет зарегистрированных пользователей и 12 гостей