Силикон убегает " На лево"
-
- Эксперт Гидравлик
- Сообщения: 5584
- Зарегистрирован: 24 окт 2012, 20:41
- Страна, Регион, Область: СССР
- Город: Деревня Малая Малявня
- Откуда: деревня МАЛАЯ МАЛЯВНЯ
- Благодарил (а): 602 раза
- Поблагодарили: 816 раз
Силикон убегает " На лево"
Уважаемые: представительства, сервисники, ремонтники, технологи, наладчики и химики нужна ваша помощь. Купили БУ красивый такой вертикально инжекционный ТПА. Имеется утечка силикона по штоку впрыска в верх и вторая утечка по стыку , похоже по резьбе нижней части состыкованной с материальным цилиндром. Есть в зипе шток. Но боюсь влезать в незнакомую конструкцию материального цилиндра не имея представления как он устроен, в интернете не нашел три дня рыл и изучал технологию литья силикона. На изделии не доливы и приходится работать с передозой , что вредит форме как я понял из описания технологии - подушка не приветствуется. Прошу,кто разбирал подобные вещи : материальный цилиндр и боковой шнек дозирующего устройства. Хотя бы эскизы и порядок демонтажа и сборки МАТЕРИАЛЬНОГО цилиндра. Дают на устранение очень мало времени из-за сильной загрузки ТПА.
-
- Эксперт Гидравлик
- Сообщения: 5584
- Зарегистрирован: 24 окт 2012, 20:41
- Страна, Регион, Область: СССР
- Город: Деревня Малая Малявня
- Откуда: деревня МАЛАЯ МАЛЯВНЯ
- Благодарил (а): 602 раза
- Поблагодарили: 816 раз
Re: Силикон убегает " Налево"
Места утечек показаны кружочком и стрелкой.
Последний раз редактировалось ЗЮМ 28 апр 2016, 16:24, всего редактировалось 2 раза.
-
- Эксперт Гидравлик
- Сообщения: 5584
- Зарегистрирован: 24 окт 2012, 20:41
- Страна, Регион, Область: СССР
- Город: Деревня Малая Малявня
- Откуда: деревня МАЛАЯ МАЛЯВНЯ
- Благодарил (а): 602 раза
- Поблагодарили: 816 раз
Re: Силикон убегает " На лево"
Все что похожее нашлось. Вопрос следующий: 1) Ни кто не занимается литьем на таком или аналогичном оборудовании ? Как устроен материальный цилиндр ? Ни кто не знает? Судя по количеству просмотров, массовое литье силиконов в начале своего развития на Руси. Уважаемые знатоки , что за гробовая тишина по этому поводу??? Что посоветуете? Обратится на другой форум?
Последний раз редактировалось ЗЮМ 02 май 2016, 22:39, всего редактировалось 2 раза.
-
- Сообщения: 2183
- Зарегистрирован: 27 апр 2013, 02:27
- Страна, Регион, Область: Владимирская обл.
- Город: Владимир
- Благодарил (а): 772 раза
- Поблагодарили: 552 раза
Re: Силикон убегает " На лево"
Вживую бы её посмотреть...
За 8 лет у меня был один запуск экструдера на подобном материале - литьё методом интрузии с помощью экструдера. Судя по тому что недавно они взяли ещё один экструдер - оборудование я запустил успешно (это я для сурового уральского специалиста с ником на букву М.)
За 8 лет у меня был один запуск экструдера на подобном материале - литьё методом интрузии с помощью экструдера. Судя по тому что недавно они взяли ещё один экструдер - оборудование я запустил успешно (это я для сурового уральского специалиста с ником на букву М.)
-
- Эксперт Гидравлик
- Сообщения: 5584
- Зарегистрирован: 24 окт 2012, 20:41
- Страна, Регион, Область: СССР
- Город: Деревня Малая Малявня
- Откуда: деревня МАЛАЯ МАЛЯВНЯ
- Благодарил (а): 602 раза
- Поблагодарили: 816 раз
Re: Силикон убегает " На лево"
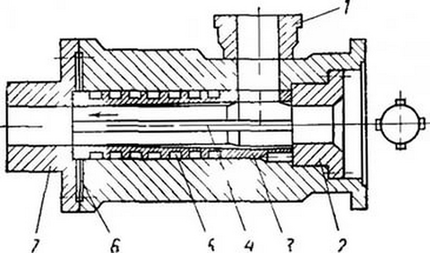
БЫТЬ ИЛИ НЕ БЫТЬ ???( перелопатив кучу литературы по литью каучюков и резиновых смесей) Думаю с пол пинка не получится, после детального осмысления. Условия задачи жесткие.( 2 ДНЯ) Права на ошибку нет. И уверенности в результате нет. Может просто оказаться отсутствие комплектующих и спец уплотнений. А значит не уложится в требуемые сроки. Мой расклад: 1) Демонтаж. 2) Осмотр, Диагностика, Изготовление чертежей с допусками и посадками. 3) Замена штока на новый, если не возникнет помех. 4) Сдача в работу. 5) Подготовка к повторному ремонту и устранению недостатков и дефектов не устраненных при первом ремонте из-за отсутствия оригинальных запчастей в полном объеме. Ответственность за конечный результат с первой попытки не ВОЗЬМУ. Фото похожих узлов. Все что удалось найти в интернете. Опубликовал тему на крупнейшей площадке -ФОРУМЕ о переработке полимеров всех мастей. Пока тишина Потратил три дня. Безуспешно. Но не привыкли сдаваться и продолжаем копать теоретические возможности. Хотя вот только что мелькнуло оповещение с форума, кто то клюнул и решил что то сообщить по этому поводу на 200 ом просмотре. ( переписка с коллегами на других площадках) РАЗОЧЕРОВАЛ меня форум слегка !!! Не ожидал.
-
- Эксперт Гидравлик
- Сообщения: 5584
- Зарегистрирован: 24 окт 2012, 20:41
- Страна, Регион, Область: СССР
- Город: Деревня Малая Малявня
- Откуда: деревня МАЛАЯ МАЛЯВНЯ
- Благодарил (а): 602 раза
- Поблагодарили: 816 раз
Re: Силикон убегает " На лево"
Можем не только дать посмотреть, НО И СКАЛЬПЕЛЬ ВРУЧИТЬFigaro писал(а):Вживую бы её посмотреть...
За 8 лет у меня был один запуск экструдера на подобном материале - литьё методом интрузии с помощью экструдера. Судя по тому что недавно они взяли ещё один экструдер - оборудование я запустил успешно (это я для сурового уральского специалиста с ником на букву М.)

Кто сейчас на конференции
Сейчас этот форум просматривают: нет зарегистрированных пользователей и 21 гость