ПО просьбе - ПОПРАВКА: тест предварительной быстрой проверки относится к насосам с замкнутыми камерами всасывания и нагнетания. То есть- шестеренчатые, шиберные, насосы пластинчатые с под пружиненными пластинами. Например Елецкий уже так проверять нельзя.ТО есть надо иметь представление о устройстве. Маленький пример если позволите: Мне предложили купить насос и сказали что рабочий, насос шиберный ORSTA. Разговор происходил в гараже. Насос на полу. Я встал на колени, протер штуцера чистой тряпочкой и коснувшись губами штуцеров нагнетания подул внутрь. Средняя секция дулась очень легко на сквозь. Говорю нет ребята . не рабочий насос. Факт лопнула пружина.Или надиры глубокие. А так бы пришлось бы грузить, везти, ставить, снимать, отдавать назад - прикидываете разницу и ложные телодвижения??? К чему это я?.Прочитав комментарии дальше. мы видим что АВТОР ТЕМЫ сказал, что нет керосина на производстве. А СОЛЯРА на крайняк.? В хоз товарах керосин в бутылках. Литра хватило бы.И маслопленку удалить и этот же керосин залить и проверить рабочие зазоры на протечку или просто дунуть без заполнения камеры нагнетания... Что то не понимаю такой воли к победе и прислушиванию к дельному совету. ВНЕС ДОПОЛНЕНИЕ , потому что появились вопросы у других к этому народному методу , так что не считаю это дополнение МУСОРОМ в ТЕМЕ, скорее наоборот. Не эфФективно это ЖДАТЬ ФИЛЬТРА и бездействовать. Пол страны без фильтров работают ( не есть хорошо) Но это так. Если не продувается уже ХОРОШО. А если ДУЕТСЯ ??? НАСОС В ремонт или на замену.!!! Если насос с компенсацией торцевых зазоров смотреть уплотнения в крышках.?ЗЮМ писал(а):ДА -а , затяжной предвидится сериал. Не ужели нет поблизости какого ни какого гидравлика. А главный инженер? Звание только носит? Насос на вскидку оцениваю таким образом:ЕСЛИ ОТСУТСТВУЕТ БАЗА ДИАГНОСТИКИ.1. Удаляем масло из насосов. Споласкиваем керосином (наливая керосин в штуцера и проворачивая вал) удаляем масляную пленку из качающих узлов. Продуваем ртом в нагнетающий штуцер все три насоса. Мертвый или с износом продуется легко. Хороший продувается тяжело. 2. Ложим насос штуцерами нагнетания вверх. Заполняем керосином все три штуцера нагнетания , уходим на обед. Придя с обеда и перекура на хороших насосах керосин застанем на месте с некоторым понижением уровня. ЕСЛИ керосин сразу или быстро уходит на сквозь- это уже не насос. Разбираем для осмотра деталей и оценки степени износа и замера рабочих зазоров качающего блока-блоков. Паралельно делаем то о чем пишет БЕГЕМОТ. После многократного вмешательства не квалифицированного человека во всю аппаратуру чаще всего проблем добавляется) Машина может быть в ремонте до Нового 2014 года. Пока не придет квалифицированный. Плюс хороший один ,парень на учится и запомнит на долго этот процесс. ( извините без лирики скучно)Чистить всю гидравлику подряд - последнее и абсолютно никчемное дело. Давайте с насосом разберемся. И если денег на фильтр жмут , интересно как с насосом вопрос решится? И тема зависнет на не определенное время.( Что бы умереть насосу достаточно 1-й секунды.)
Отсутствует давление насоса на ТПА ДЕ3132 250Ц1
-
- Эксперт Гидравлик
- Сообщения: 5583
- Зарегистрирован: 24 окт 2012, 20:41
- Страна, Регион, Область: СССР
- Город: Деревня Малая Малявня
- Откуда: деревня МАЛАЯ МАЛЯВНЯ
- Благодарил (а): 602 раза
- Поблагодарили: 816 раз
Re: Отсутствует давление насоса на ТПА ДЕ3132 250Ц1
- Vinitus
- Сообщения: 35
- Зарегистрирован: 04 апр 2013, 21:22
- Страна, Регион, Область: Россия, Калужская область,
- Город: Обнинск
- Благодарил (а): 0
- Поблагодарили: 0
Re: Отсутствует давление насоса на ТПА ДЕ3132 250Ц1
Спасибо за дельный совет! Продул. И обнаружил, что средний и большой насосы продуваются. Не скажу, что с большим трудом, как последний, но продуваются. Покрутив вал насоса, разницу не заметил. Два первых легче дуются, чем последний. Но не свободноЗЮМ писал(а): ПО просьбе - ПОПРАВКА: тест предварительной быстрой проверки относится к насосам с замкнутыми камерами всасывания и нагнетания. То есть- шестеренчатые, шиберные, насосы пластинчатые с под пружиненными пластинами. Например Елецкий уже так проверять нельзя.ТО есть надо иметь представление о устройстве. Маленький пример если позволите: Мне предложили купить насос и сказали что рабочий, насос шиберный ORSTA. Разговор происходил в гараже. Насос на полу. Я встал на колени, протер штуцера чистой тряпочкой и коснувшись губами штуцеров нагнетания подул внутрь. Средняя секция дулась очень легко на сквозь. Говорю нет ребята . не рабочий насос. Факт лопнула пружина.Или надиры глубокие. А так бы пришлось бы грузить, везти, ставить, снимать, отдавать назад - прикидываете разницу и ложные телодвижения??? К чему это я?.Прочитав комментарии дальше. мы видим что АВТОР ТЕМЫ сказал, что нет керосина на производстве. А СОЛЯРА на крайняк.? В хоз товарах керосин в бутылках. Литра хватило бы.И маслопленку удалить и этот же керосин залить и проверить рабочие зазоры на протечку или просто дунуть без заполнения камеры нагнетания... Что то не понимаю такой воли к победе и прислушиванию к дельному совету. ВНЕС ДОПОЛНЕНИЕ , потому что появились вопросы у других к этому народному методу , так что не считаю это дополнение МУСОРОМ в ТЕМЕ, скорее наоборот. Не эфФективно это ЖДАТЬ ФИЛЬТРА и бездействовать. Пол страны без фильтров работают ( не есть хорошо) Но это так. Если не продувается уже ХОРОШО. А если ДУЕТСЯ ??? НАСОС В ремонт или на замену.!!! Если насос с компенсацией торцевых зазоров смотреть уплотнения в крышках.?
- Karakol
- Сообщения: 541
- Зарегистрирован: 01 сен 2011, 19:53
- Страна, Регион, Область: Литва
- Город: Вильнюс
- Благодарил (а): 2 раза
- Поблагодарили: 3 раза
Re: Отсутствует давление насоса на ТПА ДЕ3132 250Ц1
Верно пришла пора руководству раскошелится на новый насос. Что то не верится в возможность восстановить изношенный насос до заводских показателей, Было бы все так просто, производители насосов наверняка бы разорились. Про качественное воскрешение насоса из мертвых в наших краях я не слыхал.
-
- Эксперт Гидравлик
- Сообщения: 5583
- Зарегистрирован: 24 окт 2012, 20:41
- Страна, Регион, Область: СССР
- Город: Деревня Малая Малявня
- Откуда: деревня МАЛАЯ МАЛЯВНЯ
- Благодарил (а): 602 раза
- Поблагодарили: 816 раз
Re: Отсутствует давление насоса на ТПА ДЕ3132 250Ц1
Конечно понятие, ПРОДУВАЕТСЯ, относительное. Не имея опыта и сравнения трудно что либо сказать. Ведь как определить на сколько ЛЕГЧЕ ДУЕТСЯ? И что принимать за эталон? Если бы рядом был новый. Или был многократный опыт, тогда можно заметить разницу. Возможно в вашем случае и нет пока повода для вскрытия насосов. ставить фильтр и запускать машину. Манометр покажет что к чему. Хотя насосы под подозрением. Мы пользуемся переносным предохранительным клапаном и проверяем каждый насос на месте с контролем по манометру и контролем расхода на сливе визуально через шланг на бак. Очень удобно и вопросы все исчезают по поводу насоса-хороший или плохой. Потери времени на изготовление переходников(Токарь). 30 мин.- на подключение. 30 минут -на проверку трех насосов. Все прозрачно и ясно. Сливной шланг на мерное ведро секундомер и КПД на лицо. При давлении номинальном сливать должно литраж насоса по паспорту минус несколько литров на внутренние перетечки в минуту литра 2,3,4,5. В зависимисти от объема испытуемого. Рекомендую сделать портативный стенд. Требуется предохранительный клапан трубного исполнения любой. ( у меня виккерс -пропускная способность 100 литров в минуту) пара шлангов -все. Проверяю даже 320 литровые насосы.Правда переменной производительности на малой подаче. Сливной шланг должен быть надежным иначе потоп. Снимает все вопросы, не требуется демонтаж насоса. все на месте.Vinitus писал(а):Спасибо за дельный совет! Продул. И обнаружил, что средний и большой насосы продуваются. Не скажу, что с большим трудом, как последний, но продуваются. Покрутив вал насоса, разницу не заметил. Два первых легче дуются, чем последний. Но не свободноЗЮМ писал(а): ПО просьбе - ПОПРАВКА: тест предварительной быстрой проверки относится к насосам с замкнутыми камерами всасывания и нагнетания. То есть- шестеренчатые, шиберные, насосы пластинчатые с под пружиненными пластинами. Например Елецкий уже так проверять нельзя.ТО есть надо иметь представление о устройстве. Маленький пример если позволите: Мне предложили купить насос и сказали что рабочий, насос шиберный ORSTA. Разговор происходил в гараже. Насос на полу. Я встал на колени, протер штуцера чистой тряпочкой и коснувшись губами штуцеров нагнетания подул внутрь. Средняя секция дулась очень легко на сквозь. Говорю нет ребята . не рабочий насос. Факт лопнула пружина.Или надиры глубокие. А так бы пришлось бы грузить, везти, ставить, снимать, отдавать назад - прикидываете разницу и ложные телодвижения??? К чему это я?.Прочитав комментарии дальше. мы видим что АВТОР ТЕМЫ сказал, что нет керосина на производстве. А СОЛЯРА на крайняк.? В хоз товарах керосин в бутылках. Литра хватило бы.И маслопленку удалить и этот же керосин залить и проверить рабочие зазоры на протечку или просто дунуть без заполнения камеры нагнетания... Что то не понимаю такой воли к победе и прислушиванию к дельному совету. ВНЕС ДОПОЛНЕНИЕ , потому что появились вопросы у других к этому народному методу , так что не считаю это дополнение МУСОРОМ в ТЕМЕ, скорее наоборот. Не эфФективно это ЖДАТЬ ФИЛЬТРА и бездействовать. Пол страны без фильтров работают ( не есть хорошо) Но это так. Если не продувается уже ХОРОШО. А если ДУЕТСЯ ??? НАСОС В ремонт или на замену.!!! Если насос с компенсацией торцевых зазоров смотреть уплотнения в крышках.?
Последний раз редактировалось ЗЮМ 01 окт 2013, 00:53, всего редактировалось 2 раза.
-
- Эксперт Гидравлик
- Сообщения: 5583
- Зарегистрирован: 24 окт 2012, 20:41
- Страна, Регион, Область: СССР
- Город: Деревня Малая Малявня
- Откуда: деревня МАЛАЯ МАЛЯВНЯ
- Благодарил (а): 602 раза
- Поблагодарили: 816 раз
Re: Отсутствует давление насоса на ТПА ДЕ3132 250Ц1
НЕ соглашусь, так как много раз восстанавливали.( все похерили , сейчас этим занимаются очень не многие специализированные конторы) У каждого типа свои ньюансы. И база хорошая нужна. Либо внутренности качающих узлов.Потом сроки и цены такие, что выгоднее порой новый приобрести. Vinitus, в Вашем случае придется доказывать что возможно насос кривой путем запуска машины и перелапачивания блока нагрузки с тремя предохранительными клапанами, обратными клапанами, распределительной апаратурой. Самое интересное впереди. Желаем удачи. Специалисты помогут и подскажут.Тем таких не много и интерес у многих имеется- разобраться и с этой машиной. Не исключаю что и Karakol окажется прав. Когда есть ИНТРИГА всегда интересно. Karakol, отчасти с тобой согласен. Но технология ремонта насосов прописана в учебнике. И это занятие было весьма популярно ранее. Когда новый насос не так то легко было приобрести. опять же , ремонт возможен при наличии базы специализированых отделов, бригад , лабораторий при крупных предприятиях со штатом мастеров и всей группы обрабатывающего оборудования. РОЛИКИ в ЮТУБЕ имеются как это происходит ТАМ.Karakol писал(а):Верно пришла пора руководству раскошелится на новый насос. Что то не верится в возможность восстановить изношенный насос до заводских показателей, Было бы все так просто, производители насосов наверняка бы разорились. Про качественное воскрешение насоса из мертвых в наших краях я не слыхал.
Последний раз редактировалось ЗЮМ 01 окт 2013, 00:12, всего редактировалось 2 раза.
- Karakol
- Сообщения: 541
- Зарегистрирован: 01 сен 2011, 19:53
- Страна, Регион, Область: Литва
- Город: Вильнюс
- Благодарил (а): 2 раза
- Поблагодарили: 3 раза
Re: Отсутствует давление насоса на ТПА ДЕ3132 250Ц1
А смысл их было восстанавливать, в старые времена. Не знаю как у других, у нас с получением новых насосов проблем небыло. И сейчас еще можно запросто найти"новый" насос советских времен. Был у нас завод всесоюзного значения ПЛАСТА, по переработке пластмасс, три тысячи человек. Но и там с восстановкой насосов не запаривались.
- Бегемот
- Сообщения: 2815
- Зарегистрирован: 03 окт 2009, 13:39
- Страна, Регион, Область: Россия
- Город: Владимир
- Откуда: Из Аршинцево, г. Керчь, Крым-Россия.
- Благодарил (а): 53 раза
- Поблагодарили: 166 раз
- Контактная информация:
Re: Отсутствует давление насоса на ТПА ДЕ3132 250Ц1
Может ради интереса во внутрь заглянуть? Там ни чего сложного, два вала и шесть шестерёнок, или с ключём 17х19 проблема? Просто интересно, что можно прогнать через шестерёнчатый насос, чтобы он перестал качать? Может его до вас разбирали и чего сотворили?
Бегемот!!! Ты меня не зли!!! ©Олька
-
- Эксперт Гидравлик
- Сообщения: 5583
- Зарегистрирован: 24 окт 2012, 20:41
- Страна, Регион, Область: СССР
- Город: Деревня Малая Малявня
- Откуда: деревня МАЛАЯ МАЛЯВНЯ
- Благодарил (а): 602 раза
- Поблагодарили: 816 раз
Re: Отсутствует давление насоса на ТПА ДЕ3132 250Ц1
Это вопрос экономического порядка. И СМЫСЛ зависел от воли отдельных руководителей. Почему то на автозаводе МОСКВИЧ особенно не спешили закупать новые да и были они на складах однако перед нами лежала гора сломаных насосов а рядом гора из ремонта и они ни кому были не нужны. Это ЗАКАТ завода был. Как говорит Maks 42- "ВСЕ ОТНОСИТЕЛЬНО."Karakol писал(а):А смысл их было восстанавливать, в старые времена. Не знаю как у других, у нас с получением новых насосов проблем небыло. И сейчас еще можно запросто найти"новый" насос советских времен. Был у нас завод всесоюзного значения ПЛАСТА, по переработке пластмасс, три тысячи человек. Но и там с восстановкой насосов не запаривались.
Последний раз редактировалось ЗЮМ 30 сен 2013, 21:10, всего редактировалось 1 раз.
-
- Эксперт Гидравлик
- Сообщения: 5583
- Зарегистрирован: 24 окт 2012, 20:41
- Страна, Регион, Область: СССР
- Город: Деревня Малая Малявня
- Откуда: деревня МАЛАЯ МАЛЯВНЯ
- Благодарил (а): 602 раза
- Поблагодарили: 816 раз
Re: Отсутствует давление насоса на ТПА ДЕ3132 250Ц1
Как я понял не подпускает начальник ребят к насосу, не доверяет...Бегемот писал(а):Может ради интереса во внутрь заглянуть? Там ни чего сложного, два вала и шесть шестерёнок, или с ключём 17х19 проблема? Просто интересно, что можно прогнать через шестерёнчатый насос, чтобы он перестал качать? Может его до вас разбирали и чего сотворили?
- Karakol
- Сообщения: 541
- Зарегистрирован: 01 сен 2011, 19:53
- Страна, Регион, Область: Литва
- Город: Вильнюс
- Благодарил (а): 2 раза
- Поблагодарили: 3 раза
Re: Отсутствует давление насоса на ТПА ДЕ3132 250Ц1
Такой вопрос. Правильно ли выполнены условия запитки насосов маслом? Три довольно производительных насоса запитываются от одной магистрали небольшого сечения. Как то так не делается. Просто был у меня случай, отвалился один из двух фильтров на ДЕ 3130. Я , до покупки нового, заглушил вход по зтому фильтру, думал хватит на время одного. Все равно мол они в баке соеденины между собой трубой. А нет, тот сдвоенный насос, что дальше от оставшегося фильтра, перестал качать, не хватило подачи масла. Пришлось заглушку снимать и ставить сетку. Может и здесь, от нехватки масла подсели насосы?
-
- Эксперт Гидравлик
- Сообщения: 5583
- Зарегистрирован: 24 окт 2012, 20:41
- Страна, Регион, Область: СССР
- Город: Деревня Малая Малявня
- Откуда: деревня МАЛАЯ МАЛЯВНЯ
- Благодарил (а): 602 раза
- Поблагодарили: 816 раз
Re: Отсутствует давление насоса на ТПА ДЕ3132 250Ц1
МЫСЛЬ ВЕРНАЯ. Да вроде прилично нормальный у них патрубок всасывания. А так конечно ограничение всасывания приведет к шуму , подсосу воздуха через вал, пенообразованию, кавитации и тд. и выходу из строя. Например у елецкого высота всасывания не более 80 см. А у нас раз поставили длину 2 метра. Визжал на весь цех. Эти нормы прописаны в техпаспорте насоса. И их надо соблюдать факт. некоторые вообще в погруженом состоянии только работают. Чем выше производительность тем ближе и легче должен быть вход всасывания. А что мы имеем у АВТОРА ТЕМЫ по литрам. Подача насосов Q= 70л/мин+45л/мин+25л/мин= 140 л/мин. 2,3 л/секунду. Возможно немного ограничено. На холодном масле тяжеловато насосу. Надо измерять вход каждого насоса и сравнивать в сумме с сечением общей трубы. Цыфры по литрам примерные. Если обороты 1500 об/мин. Можете поправить. На маркировке указано объем камеры в см куб на оборот. Т Е. за один оборот насос выдаст то что написано в см кубических. О причинах не герметичности камеры нагнетания с камерой всасывания.( ПРОДУВАЕТСЯ) 1. Увеличенные рабочие зазоры вследствии надиров износа нарушения плоскостности вкладышей щечек.2. Выработка в корпусе по переферии наружных диаметров шестерен.3. Износ торцевых уплотнений и как следствие отсутствие гидравлического поджима вкладышей( компенсации торцевых износов) Если в этой конструкции предусмотрено? Ведь зазор по торцам и между зубом и корпусом от 0,02-0,04 мм. С масляной пленкой внутри пустого насоса здоровья легкими продуть просто не хватит. А перемычка изолированного участка между всасыванием и нагнетание считанные 10-20 мм. Грязным маслом изнашивает быстро. И образуется щель. И жидкость с нагнетания уходит частично на всасывание , что сопровождается интенсивным нагревом и частичной потерей производительности. Надо иметь в виду если мы видим на манометре 150 атмосфер, это не значит что насос хороший. Подачи в литрах мы можем не увидеть весь литраж может закольцеваться в насосе а работать будет только несколко литров. В момент трудного впрыска например с точечными литниками. Где требуется и скорость и давление пластика. В таком случае и без стенда мы видим затянутые до упора предохранительные клапана, огненный насос, отсутствие слива на предохранительных клапанах, медленные скоростя под нагрузкой цилиндров. А на манометре вроде достойно. И где весь литраж? он носится по кругу в насосе а на создание давления много масла не надо. Масло в таком случае очень быстро уходит за 70 градусов и давление по мере нагрева масла снижается. Извините что много написал и за нервировал специалистов. Рассказ наверняка вызовет полемику. Что бы это доказать нужно встретится у стенда. Тем не менее опытные ребята от части согласятся, так ка не раз с этим сталкивались. Истина рождается в спорах и доказательствах.
Последний раз редактировалось ЗЮМ 01 окт 2013, 00:06, всего редактировалось 2 раза.
- Бегемот
- Сообщения: 2815
- Зарегистрирован: 03 окт 2009, 13:39
- Страна, Регион, Область: Россия
- Город: Владимир
- Откуда: Из Аршинцево, г. Керчь, Крым-Россия.
- Благодарил (а): 53 раза
- Поблагодарили: 166 раз
- Контактная информация:
Re: Отсутствует давление насоса на ТПА ДЕ3132 250Ц1
У меня по такой трубе сосало и не шумело на паркере, а вы родную трубу видели? Она не толще.
Бегемот!!! Ты меня не зли!!! ©Олька
-
- Эксперт Гидравлик
- Сообщения: 5583
- Зарегистрирован: 24 окт 2012, 20:41
- Страна, Регион, Область: СССР
- Город: Деревня Малая Малявня
- Откуда: деревня МАЛАЯ МАЛЯВНЯ
- Благодарил (а): 602 раза
- Поблагодарили: 816 раз
Re: Отсутствует давление насоса на ТПА ДЕ3132 250Ц1
Я тоже думаю что нормальная. ВЕРСИИ крутятся. Потом другое- не известно сколько он пыжился с грязными фильтрами пока крышка не отвалилась, и продукты разрушенного фильтра с Эбокситной заделкой влетели в насос.ВЕРСИИ крутятся. Вообще интересная работа как на ПЕТРОВКЕ 38. И риска для жизнь ЧУТЬ. Vinitus, ВАШ ХОД. Ждем конкретных действий или мыслей.Бегемот писал(а):У меня по такой трубе сосало и не шумело на паркере, а вы родную трубу видели? Она не толще.

- Vinitus
- Сообщения: 35
- Зарегистрирован: 04 апр 2013, 21:22
- Страна, Регион, Область: Россия, Калужская область,
- Город: Обнинск
- Благодарил (а): 0
- Поблагодарили: 0
Re: Отсутствует давление насоса на ТПА ДЕ3132 250Ц1
Промыв/налив салярки в штуцера насосов, обнаружил, что со всех утекает на длину штуцера за полминуты где-то. При другом положении вала, чуть больше - около минуты. Но результаты одинаковы для всех насосов. Делаю вывод на основании того, что говорил Уважаемый ЗЮМ, насосу, простите, пиндык!ЗЮМ писал(а):ВЕРСИИ крутятся. Потом другое- не известно сколько он пыжился с грязными фильтрами пока крышка не отвалилась, и продукты разрушенного фильтра с Эбокситной заделкой влетели в насос.ВЕРСИИ крутятся. Вообще интересная работа как на ПЕТРОВКЕ 38. И риска для жизнь ЧУТЬ. Vinitus, ВАШ ХОД. Ждем конкретных действий или мыслей.
-
- Эксперт Гидравлик
- Сообщения: 5583
- Зарегистрирован: 24 окт 2012, 20:41
- Страна, Регион, Область: СССР
- Город: Деревня Малая Малявня
- Откуда: деревня МАЛАЯ МАЛЯВНЯ
- Благодарил (а): 602 раза
- Поблагодарили: 816 раз
Re: Отсутствует давление насоса на ТПА ДЕ3132 250Ц1
Начальству нужны более веские аргументы. Контрольный запуск. Вскрытие. Визуальный осмотр внутренних деталей , уплотнений. По протечке видно что КПД под вопросом. 70,50.30 Процентов ? - не угадаешь. Стенда нет. Остается тестовый запуск. Вскрывать наверное не дадут. Одни вопросы вроде на ровном месте.
- Бегемот
- Сообщения: 2815
- Зарегистрирован: 03 окт 2009, 13:39
- Страна, Регион, Область: Россия
- Город: Владимир
- Откуда: Из Аршинцево, г. Керчь, Крым-Россия.
- Благодарил (а): 53 раза
- Поблагодарили: 166 раз
- Контактная информация:
Re: Отсутствует давление насоса на ТПА ДЕ3132 250Ц1
Я где то пропустил, это машина покупная со стороны, или своя работать резко перестала. Разбирался ли насос до них, или на нём целы пломбы производителя?
А по керосину, действительно ли там зубы шестерёнок должны тереться по стенкам так так плотно, что туда керосин совсем не должен протекать? Кстати, какой максимальный зазор, в который не может протечь керосин?
И интересно, сколько масла слили с машины, 30, 50, 100, или 200 литров? Сколько там было?
А по керосину, действительно ли там зубы шестерёнок должны тереться по стенкам так так плотно, что туда керосин совсем не должен протекать? Кстати, какой максимальный зазор, в который не может протечь керосин?
И интересно, сколько масла слили с машины, 30, 50, 100, или 200 литров? Сколько там было?
Бегемот!!! Ты меня не зли!!! ©Олька
- Karakol
- Сообщения: 541
- Зарегистрирован: 01 сен 2011, 19:53
- Страна, Регион, Область: Литва
- Город: Вильнюс
- Благодарил (а): 2 раза
- Поблагодарили: 3 раза
Re: Отсутствует давление насоса на ТПА ДЕ3132 250Ц1
По крайней мере в НШ, торцевые втулки прижимаются рабочим давлением. Так что какой там зазор в спокойном состоянии, сказать трудно. К тому же они изнашиваются. Могу сказать за НШ, если по номиналу насос должен давать 160, то дает 70 при любом износе, ну если совсем нрассыпится. Частенько они на трактарах летели.
- Karakol
- Сообщения: 541
- Зарегистрирован: 01 сен 2011, 19:53
- Страна, Регион, Область: Литва
- Город: Вильнюс
- Благодарил (а): 2 раза
- Поблагодарили: 3 раза
Re: Отсутствует давление насоса на ТПА ДЕ3132 250Ц1
На нашей 250-ке, каждый насос был подсоединен отдельным шлангом, а большой насос - двумя, сечения шлангов не помню, где то 3/4 дюйма. Глядя на предоставленное видео, создается впечатление что насосу нечего качать.Бегемот писал(а):У меня по такой трубе сосало и не шумело на паркере, а вы родную трубу видели? Она не толще.
- Бегемот
- Сообщения: 2815
- Зарегистрирован: 03 окт 2009, 13:39
- Страна, Регион, Область: Россия
- Город: Владимир
- Откуда: Из Аршинцево, г. Керчь, Крым-Россия.
- Благодарил (а): 53 раза
- Поблагодарили: 166 раз
- Контактная информация:
Re: Отсутствует давление насоса на ТПА ДЕ3132 250Ц1
Наверное у вас самоделка, в родном варианте в гидростанции одна труба 42мм, к ней одним шлангом от бака.Karakol писал(а): На нашей 250-ке, каждый насос был подсоединен отдельным шлангом, а большой насос - двумя, сечения шлангов не помню, где то 3/4 дюйма.
Так начинает хлюпать, когда в бочке масло кончилось, при перекачке переносным насосом.Karakol писал(а): Глядя на предоставленное видео, создается впечатление что насосу нечего качать.
Бегемот!!! Ты меня не зли!!! ©Олька
-
- Эксперт Гидравлик
- Сообщения: 5583
- Зарегистрирован: 24 окт 2012, 20:41
- Страна, Регион, Область: СССР
- Город: Деревня Малая Малявня
- Откуда: деревня МАЛАЯ МАЛЯВНЯ
- Благодарил (а): 602 раза
- Поблагодарили: 816 раз
Re: Отсутствует давление насоса на ТПА ДЕ3132 250Ц1
Никто и не говорит что керосин не должен протекать совсем. Керосин будет уходить но медленно, ну уж не за полминуты. Такой насос из за дросселирования внутренних перетечек будет кипятить масло и давление и литраж неуклонно пойдет к нулю.
Я уже русским языком все обьяснил. Не занимайтесь ловлей блох. Откройте учебник Ремонт промышленного оборудования раздел ремонт насосов. И увидите какие зазоры. Я их уже указал. Или разберите любой новый насос и сделайте замеры мирометром.помоему все ясно что надо делать дальше. Что бы поверить во все то что я описал , сделайте сотенку насосов разных типов своими ручками потом пофантазируем. Бегемот, я на твои провакационные вопросы ноль внимания.
но дружба у нас стобой будет долгая и крепкая. Потому что только такие полудурки как мы с тобой сидим ночью на форуме.
Я уже русским языком все обьяснил. Не занимайтесь ловлей блох. Откройте учебник Ремонт промышленного оборудования раздел ремонт насосов. И увидите какие зазоры. Я их уже указал. Или разберите любой новый насос и сделайте замеры мирометром.помоему все ясно что надо делать дальше. Что бы поверить во все то что я описал , сделайте сотенку насосов разных типов своими ручками потом пофантазируем. Бегемот, я на твои провакационные вопросы ноль внимания.

Последний раз редактировалось ЗЮМ 03 окт 2013, 01:19, всего редактировалось 4 раза.
-
- Эксперт Гидравлик
- Сообщения: 5583
- Зарегистрирован: 24 окт 2012, 20:41
- Страна, Регион, Область: СССР
- Город: Деревня Малая Малявня
- Откуда: деревня МАЛАЯ МАЛЯВНЯ
- Благодарил (а): 602 раза
- Поблагодарили: 816 раз
Re: Отсутствует давление насоса на ТПА ДЕ3132 250Ц1
Меня удивляет другое почему в обсужденияях нет и не участвуют практики гидравлики с высшим образованием. Я пришел к выводу что их нет вообще на этом форуме. Или , настоящие спецы себя не афишируют, или чего время на чайников тратить ?Karakol
, ты сам подумай, что ты пишешь? " нш дает 70 с любым износом" Какое то странное представление об износах. По твоему КПД состоит только из давления ?
, ты сам подумай, что ты пишешь? " нш дает 70 с любым износом" Какое то странное представление об износах. По твоему КПД состоит только из давления ?
Последний раз редактировалось ЗЮМ 04 окт 2013, 14:11, всего редактировалось 4 раза.
-
- Эксперт Гидравлик
- Сообщения: 5583
- Зарегистрирован: 24 окт 2012, 20:41
- Страна, Регион, Область: СССР
- Город: Деревня Малая Малявня
- Откуда: деревня МАЛАЯ МАЛЯВНЯ
- Благодарил (а): 602 раза
- Поблагодарили: 816 раз
Re: Отсутствует давление насоса на ТПА ДЕ3132 250Ц1
ВИНИТУС, давай бери быка за рога, а то мы тут скоро подеремся.
- Олька
- Сообщения: 1011
- Зарегистрирован: 18 окт 2010, 17:36
- Страна, Регион, Область: Россия, Северо-западный регион, Новгородская обл.
- Город: Великий Новгород
- Откуда: Великий Новгород
- Благодарил (а): 32 раза
- Поблагодарили: 84 раза
Re: Отсутствует давление насоса на ТПА ДЕ3132 250Ц1
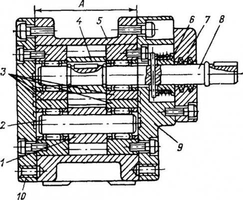
На потерю производительности, развиваемой шестеренчатым насосом, приводит увеличение торцовых зазоров между шестернями 1 и 4 и опорными втулками 3. Утечки через торцевые зазоры больше, чем через радиальные зазоры при равном значении этих зазоров, так как при вращении шестерен создается сопротивление течению масла по радиальным зазорам между выступами зубьев и расточенным отверстием в корпусе.
Таким образом, увеличение торцовых зазоров является основной причиной уменьшения производительности и снижения давления масла насосов.
Зазор между корпусом и шестернями со втулками примерно 0,06-0,08 мм. Если мне память не изменяет.
Таким образом, увеличение торцовых зазоров является основной причиной уменьшения производительности и снижения давления масла насосов.
Зазор между корпусом и шестернями со втулками примерно 0,06-0,08 мм. Если мне память не изменяет.
Злая ты, Олечка!
- Karakol
- Сообщения: 541
- Зарегистрирован: 01 сен 2011, 19:53
- Страна, Регион, Область: Литва
- Город: Вильнюс
- Благодарил (а): 2 раза
- Поблагодарили: 3 раза
Re: Отсутствует давление насоса на ТПА ДЕ3132 250Ц1
А что не так? Ну не попадались нам полностью убитые шестеренчатые насосы. Этот будет первым совсем не качающим насосом. Самое малое, списанные насосы, с самым большим износом, давали по давлению 70 кг\см. По обьему, кто же его мерил, но струю при снятии шланга давали приличную, для своего объема.ЗЮМ писал(а):Меня удивляет другое почему в обсужденияях нет и не участвуют практики гидравлики с высшим образованием. Я пришел к выводу что их нет вообще на этом форуме. Или , настоящие спецы себя не афишируют, или чего время на чайников тратить ?КАРАКЛОЛ , ты сам подумай, что ты пишешь? " нш дает 70 с любым износом" Какое то странное представление об износах. По твоему КПД состоит только из давления ?
-
- Эксперт Гидравлик
- Сообщения: 5583
- Зарегистрирован: 24 окт 2012, 20:41
- Страна, Регион, Область: СССР
- Город: Деревня Малая Малявня
- Откуда: деревня МАЛАЯ МАЛЯВНЯ
- Благодарил (а): 602 раза
- Поблагодарили: 816 раз
Re: Отсутствует давление насоса на ТПА ДЕ3132 250Ц1
Да все так и не так. Не профессиональное гадание. Это напоминает" А вы друзья как не садитесь , все в муыканты не годитесь. Без обид. Вначале надо бы поштудировать тех литературу, что бы понять о КПД насоса. Ведь гидропривод классический. И на его проверку нужны считаные часы. Тут даже предмета для спора нет. Автор темы молчит, а мы судачим ни о чем. Ждем вопросов от автора темы. Кстати вот такая ситуация с кадрами на большинстве контор . И ходят ищут вчерашний день. Обнинск рядом с Москвой. Приезжайте берите стенд . Проверяйте насосы. И двигайтесь дальше. Может денег на бензин дать ?Чего спать в одном ботинке. Начальство халяву любит. Денег просить не буду. МНЕНИЕ: МАЛО ВЕРОЯТНО ЧТО ВСЕ ТРИ НАСОСА УБИТЫЕ, ПЕРВЫМ УМИРАЕТ ОБЫЧНО МАЛЫЙ.
-
- Эксперт Гидравлик
- Сообщения: 5583
- Зарегистрирован: 24 окт 2012, 20:41
- Страна, Регион, Область: СССР
- Город: Деревня Малая Малявня
- Откуда: деревня МАЛАЯ МАЛЯВНЯ
- Благодарил (а): 602 раза
- Поблагодарили: 816 раз
Re: Отсутствует давление насоса на ТПА ДЕ3132 250Ц1
И ТИШИНА.... Для наглядности старенький учебник ремонта простого НШ на не высокое давление. Требования к насосам всех типов практически едины. В смысле по рабочим зазорам. Тех габаритов с которыми мы имеем дело. Снятый шланг с приличной струей без давления ни о чем не говорит. В водопроводе тоже поток приличный однако там всего несколько атмосфер.
Последний раз редактировалось ЗЮМ 04 окт 2013, 16:24, всего редактировалось 1 раз.
- Олька
- Сообщения: 1011
- Зарегистрирован: 18 окт 2010, 17:36
- Страна, Регион, Область: Россия, Северо-западный регион, Новгородская обл.
- Город: Великий Новгород
- Откуда: Великий Новгород
- Благодарил (а): 32 раза
- Поблагодарили: 84 раза
Re: Отсутствует давление насоса на ТПА ДЕ3132 250Ц1
БЛИН!!! Да хотя бы посмотреть его на предмет износа!!! Может там и делать ни чего не надо!!! Не ужели это так сложно! 

Злая ты, Олечка!
-
- Эксперт Гидравлик
- Сообщения: 5583
- Зарегистрирован: 24 окт 2012, 20:41
- Страна, Регион, Область: СССР
- Город: Деревня Малая Малявня
- Откуда: деревня МАЛАЯ МАЛЯВНЯ
- Благодарил (а): 602 раза
- Поблагодарили: 816 раз
Re: Отсутствует давление насоса на ТПА ДЕ3132 250Ц1
ОЛЯ не ругайся, представь себя первый день за рулем АВТО на магистрали. ЕМУ ОЧЕНЬ ТРУДНО- ТЕРПЕНИЕ господа товарищи барины. Потом я лично не уверен что насос плохой. Ведь протекание керосина через пакет качающего узла с не выбраным люфтом между ведущей и ведомой шестерней может сбить с толку. МНЕНИЕ: КПД 100 литрового насоса нового , примерно должен быть 95 процентов значит при номинальном давлении например 200 бар он обязан проливать через предохранительный клапан 95 литров. 5 литров на перетечки внутри насоса в минуту-потери!.Олька писал(а):БЛИН!!! Да хотя бы посмотреть его на предмет износа!!! Может там и делать ни чего не надо!!! Не ужели это так сложно!
-
- Эксперт Гидравлик
- Сообщения: 5583
- Зарегистрирован: 24 окт 2012, 20:41
- Страна, Регион, Область: СССР
- Город: Деревня Малая Малявня
- Откуда: деревня МАЛАЯ МАЛЯВНЯ
- Благодарил (а): 602 раза
- Поблагодарили: 816 раз
Re: Отсутствует давление насоса на ТПА ДЕ3132 250Ц1
ЕЩЕ ПАРУ СЛОВ: Институтов я не проходил, всего лишь Московский Автомеханический вечерний техникум. Формул не люблю да и не понимаю многих. Но думаю я где то возле истины. ИНЖЕНЕРА подтвердите кто может, если есть на форуме.
- Олька
- Сообщения: 1011
- Зарегистрирован: 18 окт 2010, 17:36
- Страна, Регион, Область: Россия, Северо-западный регион, Новгородская обл.
- Город: Великий Новгород
- Откуда: Великий Новгород
- Благодарил (а): 32 раза
- Поблагодарили: 84 раза
Re: Отсутствует давление насоса на ТПА ДЕ3132 250Ц1
В первый день за рулем, я ехала 100 км/ч и периодически выезжала на встречную полосу!!! Потому что мне оченьЗЮМ писал(а):ОЛЯ не ругайся, представь себя первый день за рулем АВТО на магистрали. ЕМУ ОЧЕНЬ ТРУДНО- ТЕРПЕНИЕ господа товарищи барины. Потом я лично не уверен что насос плохой. Ведь протекание керосина через пакет качающего узла с не выбраным люфтом между ведущей и ведомой шестерней может сбить с толку. МНЕНИЕ: КПД 100 литрового насоса нового , примерно должен быть 95 процентов значит при номинальном давлении например 200 бар он обязан проливать через предохранительный клапан 95 литров. 5 литров на перетечки внутри насоса в минуту-потери!.Олька писал(а):БЛИН!!! Да хотя бы посмотреть его на предмет износа!!! Может там и делать ни чего не надо!!! Не ужели это так сложно!

Злая ты, Олечка!
Кто сейчас на конференции
Сейчас этот форум просматривают: нет зарегистрированных пользователей и 12 гостей