зачем наждак она выкручивается.Мулланур писал(а):Эту сетку мы аккуратно снимали на наждаке, так что бы не повредить дроссель, Это фильтр, а фильтры со временем забиваются так что их нужно уже только менять.
По шарику: этот шарик увеличивает скорость открытия поршенька, это "наворот", как кожаный салон в автомобиле и не более.
Пропадает давление в KuASY 400/100
-
- Эксперт Гидравлик
- Сообщения: 5584
- Зарегистрирован: 24 окт 2012, 20:41
- Страна, Регион, Область: СССР
- Город: Деревня Малая Малявня
- Откуда: деревня МАЛАЯ МАЛЯВНЯ
- Благодарил (а): 602 раза
- Поблагодарили: 816 раз
Re: Пропадает давление в KuASY 400/100
-
- Эксперт Гидравлик
- Сообщения: 5584
- Зарегистрирован: 24 окт 2012, 20:41
- Страна, Регион, Область: СССР
- Город: Деревня Малая Малявня
- Откуда: деревня МАЛАЯ МАЛЯВНЯ
- Благодарил (а): 602 раза
- Поблагодарили: 816 раз
Re: Пропадает давление в KuASY 400/100
просто попытки отвернуть рожковым ключем приводят к повреждению граней. Завернута ни то что крепко повидимому на клею герметике. И от времни закисает сильно. нужна ловкость рук. Может погреть не шибко. Там на медном уплотнении этот типа штуцерок. Когда не удавалось отвернуть, сдирали . зачищали и напаивали мелкую сеточку. Получалось ЛЮКС. Ну да верно сетка завальцована в этот типа штуцерок.Мулланур писал(а):Мне всегда казалось что сетка там за вальцована.
-
- Сообщения: 1584
- Зарегистрирован: 01 окт 2013, 15:06
- Страна, Регион, Область: Россия
- Город: Екатеринбург
- Откуда: Yevlax
- Благодарил (а): 414 раз
- Поблагодарили: 386 раз
Re: Пропадает давление в KuASY 400/100
Если им смысл ставить сетку, если масло меняют раз в 5 лет? она же снова забьется?
-
- Эксперт Гидравлик
- Сообщения: 5584
- Зарегистрирован: 24 окт 2012, 20:41
- Страна, Регион, Область: СССР
- Город: Деревня Малая Малявня
- Откуда: деревня МАЛАЯ МАЛЯВНЯ
- Благодарил (а): 602 раза
- Поблагодарили: 816 раз
Re: Пропадает давление в KuASY 400/100
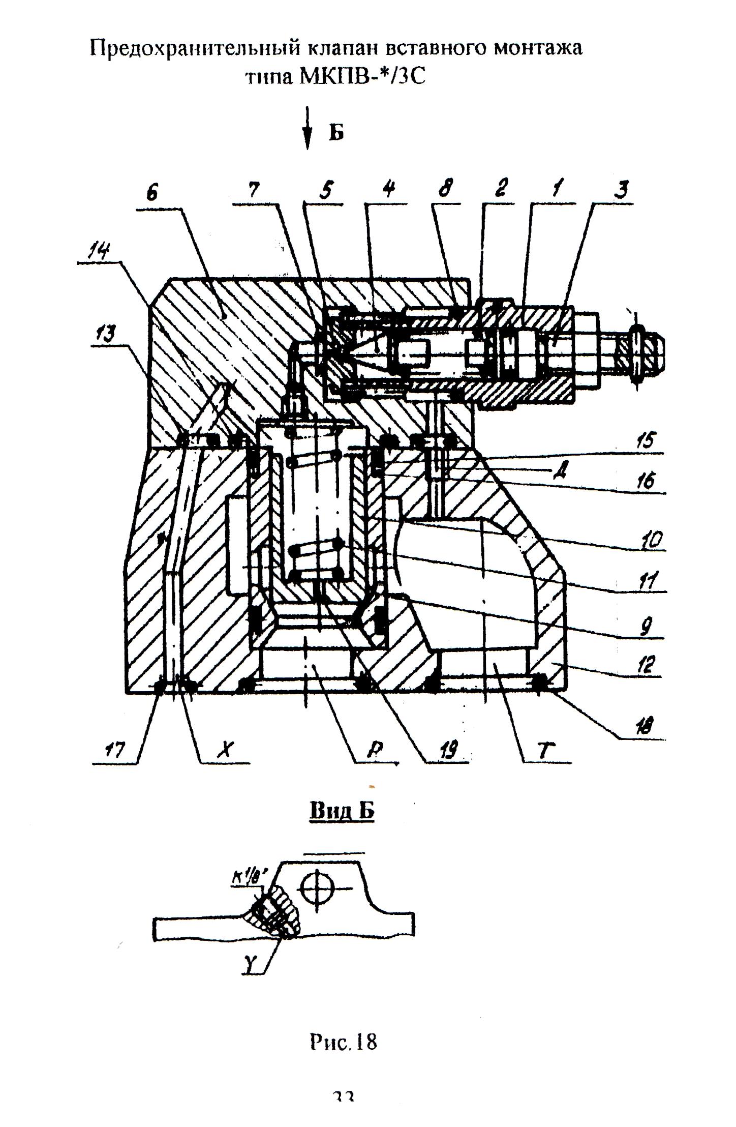
Раз уж мы коснулись принципа работы ПР. КЛ. позвольте опубликовать предохранительный клапан Гомельского завода гидроапаратуры. Принцип тот же и жиклер в центре поршня основного. рекомендую отдельно картинку распечатать с обозначением положить перед собой и тщательно ознакомится по описанию с принципом и последовательность этого процесса. Да не большая головоломка. но это по началу. надо будет повторить не раз.
-
- Эксперт Гидравлик
- Сообщения: 5584
- Зарегистрирован: 24 окт 2012, 20:41
- Страна, Регион, Область: СССР
- Город: Деревня Малая Малявня
- Откуда: деревня МАЛАЯ МАЛЯВНЯ
- Благодарил (а): 602 раза
- Поблагодарили: 816 раз
Re: Пропадает давление в KuASY 400/100
Еще один файл к Гомельскому клапану. Еще я собираюсь или могу то же самое предложить Ереванского завода, Ульяновского завода, ЮКЕН, Рексрот. Бош и вы увидите что конструктивно они имеют различия внешние и внутренние но ПРИНЦИП один. Типа кардан он и в африке кардан. А пропорциональный аналог лишь отличается надстройкой управления иглой и пружиной. Либо простой вариант с прямой зависимостью либо навороченный с обратной связью. Вместо руки работает электроника и индукция. Если объяснить по деревенски.
-
- Эксперт Гидравлик
- Сообщения: 5584
- Зарегистрирован: 24 окт 2012, 20:41
- Страна, Регион, Область: СССР
- Город: Деревня Малая Малявня
- Откуда: деревня МАЛАЯ МАЛЯВНЯ
- Благодарил (а): 602 раза
- Поблагодарили: 816 раз
Re: Пропадает давление в KuASY 400/100
Бак помыт масло заменено. Потереризирует немного и все устаканится. раз несколько продуют почистят что в системе гуляет. И все нормализуется. другого пути не бывает. предложу для тренинга клапан ульяновского завода с описанием. Что бы не было каши в голове не напрягайтесь сильно. Постепенно каждый вариант в отдельности проштудировать и вы придете к нужному единому знаменателю. часто беседуя на эту тему пришел к выводу все интуитивно делают вроде все верно но динамику клапана объяснить затрудняются многие.Мулланур писал(а):Если им смысл ставить сетку, если масло меняют раз в 5 лет? она же снова забьется?
-
- Сообщения: 1584
- Зарегистрирован: 01 окт 2013, 15:06
- Страна, Регион, Область: Россия
- Город: Екатеринбург
- Откуда: Yevlax
- Благодарил (а): 414 раз
- Поблагодарили: 386 раз
Re: Пропадает давление в KuASY 400/100
Я виду к тому, что масло менять надо через 5000-8000 часов работы и после попадания воды то же, а не постфактум.
-
- Эксперт Гидравлик
- Сообщения: 5584
- Зарегистрирован: 24 окт 2012, 20:41
- Страна, Регион, Область: СССР
- Город: Деревня Малая Малявня
- Откуда: деревня МАЛАЯ МАЛЯВНЯ
- Благодарил (а): 602 раза
- Поблагодарили: 816 раз
Re: Пропадает давление в KuASY 400/100
вообще цельсообразно менять по заключению лабароторного анализа. современные масла уже давно перешагнули рубеж временных сроков. До трех лет. все методы визуального контроля известны и без анализов. Старому гидравлику достаточно глянуть на цвет, понюхать , окунуть палец глянуть на капли падающие с пальца и принять решение. остается победить жабу руководства.Мулланур писал(а):Я виду к тому, что масло менять надо через 5000-8000 часов работы и после попадания воды то же, а не постфактум.
-
- Эксперт Гидравлик
- Сообщения: 5584
- Зарегистрирован: 24 окт 2012, 20:41
- Страна, Регион, Область: СССР
- Город: Деревня Малая Малявня
- Откуда: деревня МАЛАЯ МАЛЯВНЯ
- Благодарил (а): 602 раза
- Поблагодарили: 816 раз
Re: Пропадает давление в KuASY 400/100
И так третий вариант конструктивно отличается. Мало кому хватает упертости принять образ жидкости и пролезть много раз по всем лабиринтам этого не сложного устройства. Кто это осилит тот вооружен и уверен в работе и получит моральное удовольствие.
-
- Сообщения: 75
- Зарегистрирован: 15 дек 2009, 20:56
- Страна, Регион, Область: Украина, Винницкая обл.
- Город: Винница
- Откуда: Украина
- Благодарил (а): 0
- Поблагодарили: 0
Re: Пропадает давление в KuASY 400/100
Сегодня день был посвящен сетке. Его аккуратно выкрутили из поршня и внимательно рассмотрели. Печаль и грусть взяла мгновенно. Грязи немерено, под микроскопом она напоминала ёжика. Почти из каждой ячейки торчит какой-то непонятный ворс. Купили какую то жидкость для растворения грязи и пол дня его драим (заливаем и продуваем, заливаем и продуваем....). Уверенности что вычистим нет. Боимся повредить сеточку. Она завальцована. И снять её не повредив я не знаю как. А без неё отв. 0,8 забъётся быстро. Какие есть мнения?Мулланур писал(а):Эту сетку мы аккуратно снимали на наждаке, так что бы не повредить дроссель, Это фильтр, а фильтры со временем забиваются так что их нужно уже только менять.
По шарику: этот шарик увеличивает скорость открытия поршенька, это "наворот", как кожаный салон в автомобиле и не более.
P.S. Пока писал, ответ уже пришёл )))
-
- Эксперт Гидравлик
- Сообщения: 5584
- Зарегистрирован: 24 окт 2012, 20:41
- Страна, Регион, Область: СССР
- Город: Деревня Малая Малявня
- Откуда: деревня МАЛАЯ МАЛЯВНЯ
- Благодарил (а): 602 раза
- Поблагодарили: 816 раз
Re: Пропадает давление в KuASY 400/100
Сетка там двухслойная поэтому трудно вычистить грязь набившуюся меж двумя сетками. Нижняя сетка крупнее. снять аккуратно острым предметом мелкую сетку выдрать выковырять. и Напаять пятачек мелкой сетки на буртик завальцовки. Пайщик сам сообразит. И все дела. задача очень простая. нам на АЗЛКа такие клапана делал авиационный завод. Без сеток. Да клапан без сетки очень уязвим. но в машинах особенно ДЕМАГах полно жиклеров не защищеных сетками. Тщательно следить за чистотой масла. Но у Демагов эфективные фильтра. А здесь на всасе отсутствует. А на сливе ни кто не ставит. Я лично опаиваю старую арматуру сливных фильтров мелкой сеткой. Или на горячую разбираю старый филтр грея на сковородке. Затем делаю гармошку из сетки и заливаю эбокситкой.olmvin писал(а):Сегодня день был посвящен сетке. Его аккуратно выкрутили из поршня и внимательно рассмотрели. Печаль и грусть взяла мгновенно. Грязи немерено, под микроскопом она напоминала ёжика. Почти из каждой ячейки торчит какой-то непонятный ворс. Купили какую то жидкость для растворения грязи и пол дня его драим (заливаем и продуваем, заливаем и продуваем....). Уверенности что вычистим нет. Боимся повредить сеточку. Она завальцована. И снять её не повредив я не знаю как. А без неё отв. 0,8 забъётся быстро. Какие есть мнения?Мулланур писал(а):Эту сетку мы аккуратно снимали на наждаке, так что бы не повредить дроссель, Это фильтр, а фильтры со временем забиваются так что их нужно уже только менять.
По шарику: этот шарик увеличивает скорость открытия поршенька, это "наворот", как кожаный салон в автомобиле и не более.
P.S. Пока писал, ответ уже пришёл )))
-
- Эксперт Гидравлик
- Сообщения: 5584
- Зарегистрирован: 24 окт 2012, 20:41
- Страна, Регион, Область: СССР
- Город: Деревня Малая Малявня
- Откуда: деревня МАЛАЯ МАЛЯВНЯ
- Благодарил (а): 602 раза
- Поблагодарили: 816 раз
Re: Пропадает давление в KuASY 400/100
Маленький рассказ в тему: На Куаси 1350 чистил сетку в день по два раза. Это меня достало. Что я сделал? 1. Слил масло вымыл бак. на всасывание заготовил арматуру в виде большого цилиндра. Обтянул сеткой для колодцев. купил на рынке. Установил. Убрали утечки на сколько смогли. В заливную горловину спаял сетку длиной до дна. Сантимов 80. И назначил на долив одно доверенное лицо. Другим под страхом смерти запретил и близко подходить к заправке доливу. и муки закончились. все решаемо. Да помимо чулка в горловину с верху ведро с отрезаным дном и впаяной сеткой. вернее два ведра с разным размером ячейки. Верхнее крупнее нижнее мельче. И третье ведро в виде воронки со вставленым водопроводным сгоном в отверстие дна. Получилась тройная воронка. себестоимость 300 рублей и ловкость рук и энтузиазм. Защита от нерадивых ,подливающих масло из поддона с опилками. машины были все убитые текли все долив происходил каждый день. Но поверьте я установил эти ведра на все 8 машин. и простои исчезли. И мы разогнулись занялись другими делами. Эфект колосальный. Потом о этом ноу хау я вдалбливал людям на других заводах. И что? Думаете сделали? Хрен на ны. А я смеюсь. Да ребята вы нас без куска хлеба не оставите. Короче в основной массе бездельники и пофигисты. Нас в ЕВРОСОЮЗ однозначно не возьмут. Зуб даю.
-
- Сообщения: 75
- Зарегистрирован: 15 дек 2009, 20:56
- Страна, Регион, Область: Украина, Винницкая обл.
- Город: Винница
- Откуда: Украина
- Благодарил (а): 0
- Поблагодарили: 0
Re: Пропадает давление в KuASY 400/100
Метод замены сетки я понял. Стремновато как-то, но боюсь что выхода у меня нет. Умом понимаю, что просто так не вычищу. Так что придется попробовать.
-
- Эксперт Гидравлик
- Сообщения: 5584
- Зарегистрирован: 24 окт 2012, 20:41
- Страна, Регион, Область: СССР
- Город: Деревня Малая Малявня
- Откуда: деревня МАЛАЯ МАЛЯВНЯ
- Благодарил (а): 602 раза
- Поблагодарили: 816 раз
Re: Пропадает давление в KuASY 400/100
Приходите в гости . дам новую.olmvin писал(а):Метод замены сетки я понял. Стремновато как-то, но боюсь что выхода у меня нет. Умом понимаю, что просто так не вычищу. Так что придется попробовать.
-
- Сообщения: 75
- Зарегистрирован: 15 дек 2009, 20:56
- Страна, Регион, Область: Украина, Винницкая обл.
- Город: Винница
- Откуда: Украина
- Благодарил (а): 0
- Поблагодарили: 0
Re: Пропадает давление в KuASY 400/100
Звучит заманчивоЗЮМ писал(а):Приходите в гости . дам новую.olmvin писал(а):Метод замены сетки я понял. Стремновато как-то, но боюсь что выхода у меня нет. Умом понимаю, что просто так не вычищу. Так что придется попробовать.

-
- Эксперт Гидравлик
- Сообщения: 5584
- Зарегистрирован: 24 окт 2012, 20:41
- Страна, Регион, Область: СССР
- Город: Деревня Малая Малявня
- Откуда: деревня МАЛАЯ МАЛЯВНЯ
- Благодарил (а): 602 раза
- Поблагодарили: 816 раз
Re: Пропадает давление в KuASY 400/100
Да это мелочь на самом деле. занимаясь производством надо быть в любой момент готовым к приобретению дорогостоящих запчастей. это все таки силовое оборудование. не самой простой категории сложности. И это нормальный ход. Если глянуть глубже. Ведь мы живем ноль в ноль. подушки безопасности финансовой нет. Вот и приходится выпендриваться-паять. лудить. латать. ( ха ,так и тянет в политику)
-
- Сообщения: 75
- Зарегистрирован: 15 дек 2009, 20:56
- Страна, Регион, Область: Украина, Винницкая обл.
- Город: Винница
- Откуда: Украина
- Благодарил (а): 0
- Поблагодарили: 0
Re: Пропадает давление в KuASY 400/100
Рискнул и не пожалел. Даже прозрел )))
Аккуратно срезал алмазным диском обвальцовку. Снял сетку. Внутри капец- тонкий слой сплошной массы напоминающей застывший герметик. Промывал и продувал очень долго и тщательно. Сейчас если смотреть через сетку на свет то очень красиво все видно: первый слой сетки с мелкой ячейкой и второй слой с большей ячейкой.
Как мог образоваться такой налет с внутренней стороны сетки?
Литейщик посмотрел на это дело и перечислил все места где стоит подобная сетка с четким указанием все прочистить.))) Хотя до этого бил себя в грудь что там сетка чистая, типа: "я сам лично продувал". Вот так.
Не знаю решит чистка сетки проблему или нет но "ганж" серъезный.
Завтра буду искать где запаять сетку.
Аккуратно срезал алмазным диском обвальцовку. Снял сетку. Внутри капец- тонкий слой сплошной массы напоминающей застывший герметик. Промывал и продувал очень долго и тщательно. Сейчас если смотреть через сетку на свет то очень красиво все видно: первый слой сетки с мелкой ячейкой и второй слой с большей ячейкой.
Как мог образоваться такой налет с внутренней стороны сетки?
Литейщик посмотрел на это дело и перечислил все места где стоит подобная сетка с четким указанием все прочистить.))) Хотя до этого бил себя в грудь что там сетка чистая, типа: "я сам лично продувал". Вот так.
Не знаю решит чистка сетки проблему или нет но "ганж" серъезный.
Завтра буду искать где запаять сетку.
-
- Эксперт Гидравлик
- Сообщения: 5584
- Зарегистрирован: 24 окт 2012, 20:41
- Страна, Регион, Область: СССР
- Город: Деревня Малая Малявня
- Откуда: деревня МАЛАЯ МАЛЯВНЯ
- Благодарил (а): 602 раза
- Поблагодарили: 816 раз
Re: Пропадает давление в KuASY 400/100
Граверу, Ювелиру, Радиомеханику, Электронщику. Попробовать запустить и проверить можете и без сетки. если засорится жиклер почистите и по новой. Можете разницу увидеть не припаивая. Затем запаять. Ни чего страшного не произойдет. Ведь у тех моделей которые я показал защитных сеток нет. Просто рабочая среда не предполагает иметь в себе мусор крупнее 25 мкм (0,025 мм) Просто установив сетку конструктор существенно снизил уязвимость клапана на частоту отказов в работе.
Последний раз редактировалось ЗЮМ 05 дек 2013, 21:25, всего редактировалось 1 раз.
-
- Сообщения: 75
- Зарегистрирован: 15 дек 2009, 20:56
- Страна, Регион, Область: Украина, Винницкая обл.
- Город: Винница
- Откуда: Украина
- Благодарил (а): 0
- Поблагодарили: 0
Re: Пропадает давление в KuASY 400/100
Кстати о чистоте масла. У нас, оказывается, нет фильтра. Колба для фильтра есть, в крышке блок магнитов, и все.
Надо будет что-то приспособить.
Надо будет что-то приспособить.
-
- Эксперт Гидравлик
- Сообщения: 5584
- Зарегистрирован: 24 окт 2012, 20:41
- Страна, Регион, Область: СССР
- Город: Деревня Малая Малявня
- Откуда: деревня МАЛАЯ МАЛЯВНЯ
- Благодарил (а): 602 раза
- Поблагодарили: 816 раз
Re: Пропадает давление в KuASY 400/100
Фильтры оригинальные мне предлагали из Германии, но очень дорого. Срок службы чистокровного немца ГОД. И рассчитан на 12 чисток . 1 раз в месяц. В Пушкино в Подмосковье и Калуга делают аналоги фильтров для КУАСИ . Срок службы значительно короче и цены то же не маленькие. Используя фильтровальный картон. Есть риск разрушения и выброса в бак продуктов разрушения, что очень чревато. То есть - фильтр разрушается раньше чем сработает спасительный обратный клапан. Если зевнуть своевременную замену фильтро элемента. Немецкий же фильтр при полном засорении по сопромату довольно крепок и обратный клапан открывается ( если память не изменяет при 6-ти атм-ах) и поток сливается в обход фильтра. Не разрушая структуры фильтра. Все аналоги заменителей разрушаются и попадая в бак попадают в насосы. это уже серьезные деньги и простой. Поэтому аналогов надо иметь запас и чаще менять. Пушкинские фильтры может порвать и на холодном масле в момент запуска. Лично свидетельствую. Стоп, ведь у вас в Виннице есть фирма торгующая запчастями КУАСИ у меня даже есть их прайс 2001 года в марках.olmvin писал(а):Кстати о чистоте масла. У нас, оказывается, нет фильтра. Колба для фильтра есть, в крышке блок магнитов, и все.
Надо будет что-то приспособить.
-
- Эксперт Гидравлик
- Сообщения: 5584
- Зарегистрирован: 24 окт 2012, 20:41
- Страна, Регион, Область: СССР
- Город: Деревня Малая Малявня
- Откуда: деревня МАЛАЯ МАЛЯВНЯ
- Благодарил (а): 602 раза
- Поблагодарили: 816 раз
Re: Пропадает давление в KuASY 400/100
Я снимал крышку бака делал отверстие в ней рядом с неподвижной плитой ближе к станине. и вставлял спаянный длинный чулок из сетки о,5 мм. В отверстие каскад из трех ведер . накрыто полиэтиленовым пакетом что бы пыль от дробленки не летела. описано выше. И забыли про засоры.olmvin писал(а):Кстати о чистоте масла. У нас, оказывается, нет фильтра. Колба для фильтра есть, в крышке блок магнитов, и все.
Надо будет что-то приспособить.
-
- Сообщения: 75
- Зарегистрирован: 15 дек 2009, 20:56
- Страна, Регион, Область: Украина, Винницкая обл.
- Город: Винница
- Откуда: Украина
- Благодарил (а): 0
- Поблагодарили: 0
Re: Пропадает давление в KuASY 400/100
таки да. Есть у нас контора которая продает з/ч на куаси. Остатки былой роскоши))). Только что с ними общался. Фильтроэлементы на мою машину есть (25-90/250). Цена 55 евро. Вот так. А что делать, надо брать))). Это к коментарию ЗЮМа по поводу финансового буфера.
- ВЕТАЛ
- Сообщения: 618
- Зарегистрирован: 16 апр 2008, 12:19
- Страна, Регион, Область: Рідна ненька Україна
- Город: Харків
- Благодарил (а): 1 раз
- Поблагодарили: 9 раз
Re: Пропадает давление в KuASY 400/100
Учитесь пользоваться поиском в сети или просите совета у бывалых. Фильтроэлементы подобного типа возможно изготовить в Украине по-гораздо приемлемой цене и довольно-таки неплохо качества. Но раз у Вас куры денежки не хотят кушать, то покупайте у барыг.olmvin писал(а):. Есть у нас контора которая продает з/ч на куаси. Остатки былой роскоши

-
- Сообщения: 75
- Зарегистрирован: 15 дек 2009, 20:56
- Страна, Регион, Область: Украина, Винницкая обл.
- Город: Винница
- Откуда: Украина
- Благодарил (а): 0
- Поблагодарили: 0
Re: Пропадает давление в KuASY 400/100
Для того что бы что-то заказать изготовить нужно знать что надо. Одного названия мало особенно если того чего надо в глаза не видел. Как в моем случае. Книжка пишет одно Фильтр ACA 40/1-25 c фильтроэлементом 25-90/250. По факту стоит фильтр BCA 2-25 а фильтроэлемента вообще нет и какой должен быть не знаем. Может кто-то посоветует какой искать?
-
- Эксперт Гидравлик
- Сообщения: 5584
- Зарегистрирован: 24 окт 2012, 20:41
- Страна, Регион, Область: СССР
- Город: Деревня Малая Малявня
- Откуда: деревня МАЛАЯ МАЛЯВНЯ
- Благодарил (а): 602 раза
- Поблагодарили: 816 раз
Re: Пропадает давление в KuASY 400/100
Оригинальный фильтр имеет свой каталоговый код. это раз. не один аналог не сравнится по качеству с немецким оригиналом это два. Бесперебойная работа все окупит. и фильтр 55 евро это не дорого. На этом не экономят. Я уже все объяснил. Приобретите и сравните. Я ставил типов пять и все попробовал. учтите одну вешь ни какой фильтр не терпит грязную рабочую среду ( фильтр предназначен фильтровать не залитую в бак бадягу а отфильтровывать продукты износа системы). Не чего даже осуждать и полемизировать. отсканирую сейчас прайс на фильтр с каталоговым обозначением. И еще раз: Оригинальный фильтр выдерживает не год а гораздо больше по нашим привычным пофигисстким меркам. Чтобы сравнится по работоспособности и сроку службы, "аналог" вам придется купить не один а несколько, что будет гораздо дороже. к сажалению кода нет. Да несуть. Вещь известная. у куаси 410 фильтры такие же как и у куаси 5000 и 9000. для справки. и давайте не будем экономить на спичках при чем стратегического значения.
-
- Эксперт Гидравлик
- Сообщения: 5584
- Зарегистрирован: 24 окт 2012, 20:41
- Страна, Регион, Область: СССР
- Город: Деревня Малая Малявня
- Откуда: деревня МАЛАЯ МАЛЯВНЯ
- Благодарил (а): 602 раза
- Поблагодарили: 816 раз
Re: Пропадает давление в KuASY 400/100
На словах скажу об оригинале: Два слоя. Первый белый материал похожий на парашютный шелк- тонкая очистка. Второй Гармошка основание из толстой лески сплетенной. Основа несущая нагрузку потока. На торце опорной шайбы маркировка. Других не бывает. Остальное все аналоги. пусть даже и не плохие. в любом случае за этим надо пристально следить. Были фото в письмах. Но удалены. Не нашел.
Кто сейчас на конференции
Сейчас этот форум просматривают: нет зарегистрированных пользователей и 18 гостей