Примерно так. Строго установленное давление увидим только на упоре в конце. Но оно будет близко к установленному при тяжёлой работе ,куча или один точечный литник, засор сопла, сгорели нагреватели, заклинило шнек, замёрз горячий канал. Манометр все покажет. Вот например, закрывает форму в наладке и видим давление к примеру 100. О! Срочно смотрим , что мешает двигаться плите с тяжёлой формой тонн этак 5,6,7...Елки, да тут направляющие задраны и месяц не смазывались. Починили, смазали и давление во время перемещения плиты упало этак до 15-20 атмосфер. Это то сопротивление сил трения перемещения плиты с формой.Артур69 писал(а): ↑04 окт 2023, 19:11Как всё там сложноЯ понял, что не хочет вторую ступень выдержки ? Причём здесь впрыск? Теперь более менее понятно , наверное Там вообще какая система. Давление впрыска ограничивается . То есть машина берёт сколько надо , но не больше установленного или выдаёт строго установленное давление, на всё время впрыска?
KuASY 1400/250
-
- Эксперт Гидравлик
- Сообщения: 5584
- Зарегистрирован: 24 окт 2012, 20:41
- Страна, Регион, Область: СССР
- Город: Деревня Малая Малявня
- Откуда: деревня МАЛАЯ МАЛЯВНЯ
- Благодарил (а): 602 раза
- Поблагодарили: 816 раз
Re: KuASY 1400/250
- Рейтинг: 5%
-
- Сообщения: 199
- Зарегистрирован: 18 ноя 2010, 15:53
- Страна, Регион, Область: Алтайский край
- Город: Барнаул
- Благодарил (а): 32 раза
- Поблагодарили: 19 раз
Re: KuASY 1400/250
Приветствую. Артур69 для чего убрал. Деталь чисто белая если лью с дожатием на детали появляется пятно черной гари в газоотводном канале и попадает на деталь. Убрал дожатие и все пропало чисто и бело. А ЗЮМ писал в посте что нужно ориентироваться по манометрам при настройке вот я и увидел что убрав дожатие должно ровное давление быть на всем протяжении а в конце возросло. отсюда и вопрос возник. Спасибо что включились в беседу.Артур69 писал(а): ↑04 окт 2023, 17:15Вопрос конечно не ко мне , но если позволите. Что значит хочу,не хочу.. надоkilbil писал(а): ↑04 окт 2023, 16:51Приветствую. Вячеслав, можно вопрос. Убираю вправо 4048 (выдержка под давлением со ступен. давлением.) Хочу что бы VD3.1 была только одна ступень. не хочу чтобы была 2 ступень. Почему выставив нужное давление впрыска 50мпа при впрыске (на всем протяжении) давление показывает 50мпа но в конце давление подымается до 110?![]()
Сами то как думаете? В начале впрыска давление вообще внизу . Постепенно форма наполняется , машина нужно больше давления, чтобы дойти до точки переключения. Отодвиньте на пару мм , не тераньте жевотину. Додавите выдержкой. Может чуть скорость добавить, если не пригорает.
-
- Сообщения: 199
- Зарегистрирован: 18 ноя 2010, 15:53
- Страна, Регион, Область: Алтайский край
- Город: Барнаул
- Благодарил (а): 32 раза
- Поблагодарили: 19 раз
Re: KuASY 1400/250
Но у меня 3.1 настроен на 50мпа а 3.2 если я его сдвинул(4048) вправо должен вообще не учасвствовать даже если он настроен на 110. ?ЗЮМ писал(а): ↑04 окт 2023, 19:18Теперь вторая часть вопроса, почему во время движения полтинник в конце 110. Потому что во время движения идёт расход жидкости в цилиндр и на манометре видим сопротивление той нагрузки которую преодолевает поршень цилиндра впрыска. Клапан давления и игла 3.1 ЗАКРЫТЫ. Когда движение поршня ц впрыска закончилось расход жидкости прекратился, давление выросло до настройки клапана впрыска 3.1 или 3.2 которая равна 110ти атм. При достижении настройки клапан давления впрыска открывается и выпускает излишки уже не нужных литров в бак поддерживая в системе напорной линии к поршню впрыска строго 110 атм,твою настройку. kilbil , объясни нам что ты там задумал? Поделись технологией литья. И про лево право поясни. А то не совсем понятно.
-
- Сообщения: 3455
- Зарегистрирован: 02 фев 2020, 10:56
- Страна, Регион, Область: Германия
- Город: NRW
- Благодарил (а): 1219 раз
- Поблагодарили: 1430 раз
Re: KuASY 1400/250
Привет. Всё таки выдежку убрали? Если волн на детали нет , можно и без. Но это не значит, что они не появятся. Пригары в основном из-за ненужно завышенной скорости впрыска, особенно в конце. Но у вас , если без выдежки деталь полная , слишком много массы . По окончании впрыска деталь должна быть процентов на 90-95 заполнена, затем чуть поджимаем и оставляем подушку. Но это всё букварь, скорее ничего нового для вас. Кстати что льёте PP , ABS ?kilbil писал(а): ↑05 окт 2023, 15:50Приветствую. Артур69 для чего убрал. Деталь чисто белая если лью с дожатием на детали появляется пятно черной гари в газоотводном канале и попадает на деталь. Убрал дожатие и все пропало чисто и бело. А ЗЮМ писал в посте что нужно ориентироваться по манометрам при настройке вот я и увидел что убрав дожатие должно ровное давление быть на всем протяжении а в конце возросло. отсюда и вопрос возник. Спасибо что включились в беседу.Артур69 писал(а): ↑04 окт 2023, 17:15
Вопрос конечно не ко мне , но если позволите. Что значит хочу,не хочу.. надо![]()
Сами то как думаете? В начале впрыска давление вообще внизу . Постепенно форма наполняется , машина нужно больше давления, чтобы дойти до точки переключения. Отодвиньте на пару мм , не тераньте жевотину. Додавите выдержкой. Может чуть скорость добавить, если не пригорает.
Nein zum Krieg.
-
- Эксперт Гидравлик
- Сообщения: 5584
- Зарегистрирован: 24 окт 2012, 20:41
- Страна, Регион, Область: СССР
- Город: Деревня Малая Малявня
- Откуда: деревня МАЛАЯ МАЛЯВНЯ
- Благодарил (а): 602 раза
- Поблагодарили: 816 раз
Re: KuASY 1400/250
Без участия 48-го не будет работать. Он сигнализирует конец впрыска первой ступени и переход на вторую ступень по пути и по времени. Задатчик времени отсчитал и далее декомпрессия и набор дозы. Если убрать 48-й будет стоять под давлением первой ступени и уйдёт в ошибку по превышение времени впрыска. Цикл прервется. 48-й это звено цепочки цикла. При сдвигании вправо ты не выведешь его из работы. Покажи фото как ты это сделал.
-
- Сообщения: 199
- Зарегистрирован: 18 ноя 2010, 15:53
- Страна, Регион, Область: Алтайский край
- Город: Барнаул
- Благодарил (а): 32 раза
- Поблагодарили: 19 раз
Re: KuASY 1400/250
ЗЮМ писал(а): ↑05 окт 2023, 16:42Без участия 48-го не будет работать. Он сигнализирует конец впрыска первой ступени и переход на вторую ступень по пути и по времени. Задатчик времени отсчитал и далее декомпрессия и набор дозы. Если убрать 48-й будет стоять под давлением первой ступени и уйдёт в ошибку по превышение времени впрыска. Цикл прервется. 48-й это звено цепочки цикла. При сдвигании вправо ты не выведешь его из работы. Покажи фото как ты это сделал.
- Рейтинг: 5%
-
- Эксперт Гидравлик
- Сообщения: 5584
- Зарегистрирован: 24 окт 2012, 20:41
- Страна, Регион, Область: СССР
- Город: Деревня Малая Малявня
- Откуда: деревня МАЛАЯ МАЛЯВНЯ
- Благодарил (а): 602 раза
- Поблагодарили: 816 раз
Re: KuASY 1400/250
Получается S4048 выведен из зоны действия. А значит он со старта впрыска активен. И впрыск идёт сразу на второй ступени VD 3.2 И включенном Y 311-м И сразуже задатчик времени выдержки впрыска под давлением начнёт отсчитывать время, по истечении которого цикл впрыска прервется. $ 4048 нормально замкнутый. На металле разомкнут. Как то через одно место получается. Обычно он стоит на штатном месте. При старте впрыска с пятидесятого шток хвост идёт вперёд доходит до упора конца хода поршня впрыска и тут S4048 двигаем вправо до загорания светодиода. То есть освобождения с металла. Далее одна секунда или ноль секунд цикл впрыска рвётся далее по порядку. Если вторая ступень не нужна просто обнуляем задание по времени ставим нули. И будет только одна ступень впрыска по регулировке 3.1 я думаю так. Возможно доза мизерная и арматура концевых 48 и 50 мешают друг другу. Тогда да. Лишь бы деталь отливка имела качество. А на фото установка 48- го в тылу все одно что повесить его на крюек как елочное украшение. Может чего не до понял. Но думаю так. О подушке речи не ведем. Доза мизер. Как проверить мою версию? 1) Светодиод Y311 горит со старта впрыска до конца впрыска. 2) На декаднике времени выдержки под давлением установлено время позволяющие завершиться впрыску. Длительность впрыска предположу равно паре секунд , не суть. Что бы и Артур был в теме нужны видео информативное работы штока хвоста старт впрыска- конец набора сырья. Если вас не затруднит. Объём дозы, изделие, если не военная тайна.
-
- Эксперт Гидравлик
- Сообщения: 5584
- Зарегистрирован: 24 окт 2012, 20:41
- Страна, Регион, Область: СССР
- Город: Деревня Малая Малявня
- Откуда: деревня МАЛАЯ МАЛЯВНЯ
- Благодарил (а): 602 раза
- Поблагодарили: 816 раз
Re: KuASY 1400/250
Неисправность: Нет декомпрессии, нет отвода шнека назад. Все включается. Решали вопрос в ватцапе. Думаю эти решения заслуживают внимания форума. Исполнитель работ Василий Электронщик один на весь завод. Нет, слесарей, наладчиков и других. То то запусти то это. Вы, говорит Вася хоть книжку какую нибудь дайте, глядя на очередное мертвое железо. ( Лирическое вступление) Далее по делу: Куаси 1400/250. Заменил систему управления надергав запчастей из списанной техники, что то добавил, что то убавил написал программу. Не имея документации, ориентировался на эту ветку форума, за что ему и благодарен На связь вышел уже при литье изделий. Респект. Зарплаты ниже плинтуса, да уж. ЗП главного инженера ниже самокатчика доставки пиццы, упаковщика комплектовщика, грузчика раз в пять. ( Завод в глубинке) 

-
- Эксперт Гидравлик
- Сообщения: 5584
- Зарегистрирован: 24 окт 2012, 20:41
- Страна, Регион, Область: СССР
- Город: Деревня Малая Малявня
- Откуда: деревня МАЛАЯ МАЛЯВНЯ
- Благодарил (а): 602 раза
- Поблагодарили: 816 раз
Re: KuASY 1400/250
С декомпрессией все просто. В теории всего три причины отказа в работе. 1) Y321 не исправен. 2) Гидрозамок VR12 не исправен. 3) Относительно дырявый поршень цилиндра М4 впрыска , залегли поршневый кольца.
- Вложения
-
- htmlimage.png (742.41 КБ) 28102 просмотра
-
- Безымянный.pdf.jpg (132.8 КБ) 28102 просмотра
-
- Эксперт Гидравлик
- Сообщения: 5584
- Зарегистрирован: 24 окт 2012, 20:41
- Страна, Регион, Область: СССР
- Город: Деревня Малая Малявня
- Откуда: деревня МАЛАЯ МАЛЯВНЯ
- Благодарил (а): 602 раза
- Поблагодарили: 816 раз
Re: KuASY 1400/250
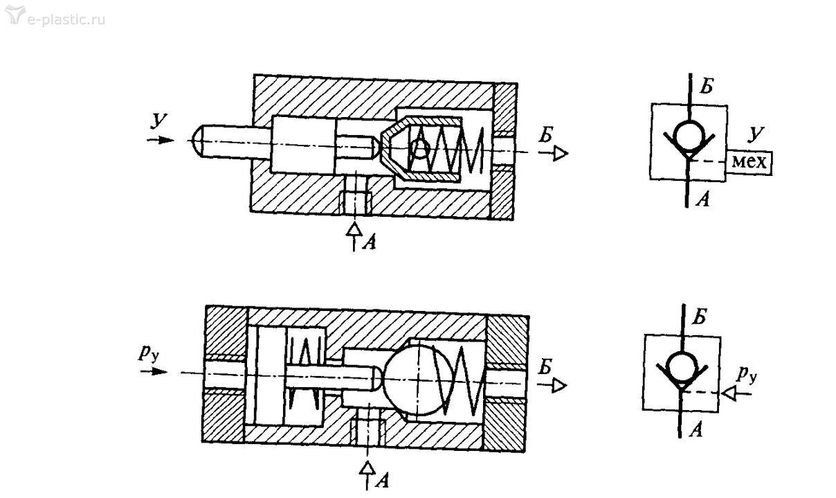
Для понимания принципа работы VR12 разместили замок меньшего типаразмера и чертежик из Я/картинок. С этим понятно. Декомпрессия должна происходить при включении одного электромагнита 321 от давления управления при норме 30 кг. По схеме при включении магнита давление управления серво исчезало почти до нуля. По учавствуем в продолжении и завершении этого проекта этого мастера. Ждём сборки пружин, клапана, коррекции программы.
-
- Эксперт Гидравлик
- Сообщения: 5584
- Зарегистрирован: 24 окт 2012, 20:41
- Страна, Регион, Область: СССР
- Город: Деревня Малая Малявня
- Откуда: деревня МАЛАЯ МАЛЯВНЯ
- Благодарил (а): 602 раза
- Поблагодарили: 816 раз
Re: KuASY 1400/250
https://youtu.be/PCE37IQwhbE?si=Wlw8xTJ8QY_y7v-_Принцип работы подробно. Управляемый обратный клапан.
-
- Эксперт Гидравлик
- Сообщения: 5584
- Зарегистрирован: 24 окт 2012, 20:41
- Страна, Регион, Область: СССР
- Город: Деревня Малая Малявня
- Откуда: деревня МАЛАЯ МАЛЯВНЯ
- Благодарил (а): 602 раза
- Поблагодарили: 816 раз
Re: KuASY 1400/250
отвод шнека Y321,Y282.ЗЮМ писал(а): ↑26 мар 2024, 13:40Для понимания принципа работы VR12 разместили замок меньшего типаразмера и чертежик из Я/картинок. С этим понятно. Декомпрессия должна происходить при включении одного электромагнита 321 от давления управления при норме 30 кг. По схеме при включении магнита давление управления серво исчезало почти до нуля. По учавствуем в продолжении и завершении этого проекта этого мастера. Ждём сборки пружин, клапана, коррекции программы.
-
- Эксперт Гидравлик
- Сообщения: 5584
- Зарегистрирован: 24 окт 2012, 20:41
- Страна, Регион, Область: СССР
- Город: Деревня Малая Малявня
- Откуда: деревня МАЛАЯ МАЛЯВНЯ
- Благодарил (а): 602 раза
- Поблагодарили: 816 раз
Re: KuASY 1400/250
Виноват. Один 321.https://disk.yandex.ru/i/B9LFon6r3DPGNg Циклограмма в хорошем качестве.ЗЮМ писал(а): ↑26 мар 2024, 15:50отвод шнека Y321,Y282.ЗЮМ писал(а): ↑26 мар 2024, 13:40Для понимания принципа работы VR12 разместили замок меньшего типаразмера и чертежик из Я/картинок. С этим понятно. Декомпрессия должна происходить при включении одного электромагнита 321 от давления управления при норме 30 кг. По схеме при включении магнита давление управления серво исчезало почти до нуля. По учавствуем в продолжении и завершении этого проекта этого мастера. Ждём сборки пружин, клапана, коррекции программы.
-
- Эксперт Гидравлик
- Сообщения: 5584
- Зарегистрирован: 24 окт 2012, 20:41
- Страна, Регион, Область: СССР
- Город: Деревня Малая Малявня
- Откуда: деревня МАЛАЯ МАЛЯВНЯ
- Благодарил (а): 602 раза
- Поблагодарили: 816 раз
Re: KuASY 1400/250
Пружины сделаны. Клапан собран. ПускоНаладка. Декомпресия хилая появилась. При наборе материала увеличенной дозы декомпресия не тянет. Пробовали лить. Льёт , вопрос как. Плохо. Требуется ремонт. Действия будут во много повторять ветку. Поэтому пока комментировать не будем. На данный момент 1) Впрыск не понятный. 2) Подпор не понятный. 3) Декомпрессия не понятная. Программа написана на своё усмотрение, требуется циклограмма автора по факту , что изобразили.?
-
- Эксперт Гидравлик
- Сообщения: 5584
- Зарегистрирован: 24 окт 2012, 20:41
- Страна, Регион, Область: СССР
- Город: Деревня Малая Малявня
- Откуда: деревня МАЛАЯ МАЛЯВНЯ
- Благодарил (а): 602 раза
- Поблагодарили: 816 раз
Re: KuASY 1400/250
Файл можно получить по ссылке:
VID-20240327-WA0013.mp4
https://disk.yandex.ru/i/hgU8dObu6_M3aA Даже из этого короткого видео видно, что машинка не плохо сохранилась. За неё можно побороться. Ускорение, торможение работает, звук насоса достойный. Машина с пропорциональным впрыском давлению. Всегда было интересно как это реализовано. Как происходят настройки 1-й и 2-й ступеней впрыска. Что с обратной связью в остатке.????
VID-20240327-WA0013.mp4
https://disk.yandex.ru/i/hgU8dObu6_M3aA Даже из этого короткого видео видно, что машинка не плохо сохранилась. За неё можно побороться. Ускорение, торможение работает, звук насоса достойный. Машина с пропорциональным впрыском давлению. Всегда было интересно как это реализовано. Как происходят настройки 1-й и 2-й ступеней впрыска. Что с обратной связью в остатке.????
- Woolfy
- Сообщения: 810
- Зарегистрирован: 08 июн 2018, 08:12
- Страна, Регион, Область: Россия
- Город: Новосибирск
- Благодарил (а): 690 раз
- Поблагодарили: 351 раз
Re: KuASY 1400/250
Для составления циклограммы требуется проект (программа) на ПР- 102 с комментариями. Если нет претензий на авторские права, конечно. Что должно оплачиваться, по моему мнению.
С уважением. Белый и пушистый, а не серый и лохматый.
-
- Эксперт Гидравлик
- Сообщения: 5584
- Зарегистрирован: 24 окт 2012, 20:41
- Страна, Регион, Область: СССР
- Город: Деревня Малая Малявня
- Откуда: деревня МАЛАЯ МАЛЯВНЯ
- Благодарил (а): 602 раза
- Поблагодарили: 816 раз
Re: KuASY 1400/250
Мы насосы ( так нас дразнили коллеги) слабо представляем как это происходит.Поверхностно из ютюба. Вчера послал автору изобретения вашу Woolfy ссылку на циклограмму отличного качества. Как я её раньше не видел? Он Был благодарен. А работал он, Witamin по плохой документации и опираясь на эту тему. Кому интересно, Сказал поделиться программой бесплатно. На данный момент программа в урезанном виде. Опыта с ТПА почти нет.
- Рейтинг: 5%
-
- Эксперт Гидравлик
- Сообщения: 5584
- Зарегистрирован: 24 окт 2012, 20:41
- Страна, Регион, Область: СССР
- Город: Деревня Малая Малявня
- Откуда: деревня МАЛАЯ МАЛЯВНЯ
- Благодарил (а): 602 раза
- Поблагодарили: 816 раз
Re: KuASY 1400/250
Witamin:Часть функций не делалась ввиду того что персонал ими не пользовался и в принципе не понимал для чего они, поэтому было сделано самая простая версия
-
- Эксперт Гидравлик
- Сообщения: 5584
- Зарегистрирован: 24 окт 2012, 20:41
- Страна, Регион, Область: СССР
- Город: Деревня Малая Малявня
- Откуда: деревня МАЛАЯ МАЛЯВНЯ
- Благодарил (а): 602 раза
- Поблагодарили: 816 раз
Re: KuASY 1400/250
https://disk.yandex.ru/i/_KPgURIi4XVJGg Очень жёсткий впрыск. Можно повредить машину.
-
- Эксперт Гидравлик
- Сообщения: 5584
- Зарегистрирован: 24 окт 2012, 20:41
- Страна, Регион, Область: СССР
- Город: Деревня Малая Малявня
- Откуда: деревня МАЛАЯ МАЛЯВНЯ
- Благодарил (а): 602 раза
- Поблагодарили: 816 раз
Re: KuASY 1400/250
Составление графики циклограммы по плохо читаемой документации. Методом проб и ошибок. С пропорциональником. Пришлось Witaminy помучится, но справился
Последний раз редактировалось ЗЮМ 29 мар 2024, 13:25, всего редактировалось 2 раза.
-
- Эксперт Гидравлик
- Сообщения: 5584
- Зарегистрирован: 24 окт 2012, 20:41
- Страна, Регион, Область: СССР
- Город: Деревня Малая Малявня
- Откуда: деревня МАЛАЯ МАЛЯВНЯ
- Благодарил (а): 602 раза
- Поблагодарили: 816 раз
Re: KuASY 1400/250
Сравнение.
- Вложения
-
- Scan4.jpg (19.62 КБ) 27766 просмотров
-
- Scan1.jpg (27.99 КБ) 27766 просмотров
-
- Scan3.jpg (30.46 КБ) 27766 просмотров
-
- Эксперт Гидравлик
- Сообщения: 5584
- Зарегистрирован: 24 окт 2012, 20:41
- Страна, Регион, Область: СССР
- Город: Деревня Малая Малявня
- Откуда: деревня МАЛАЯ МАЛЯВНЯ
- Благодарил (а): 602 раза
- Поблагодарили: 816 раз
Re: KuASY 1400/250
Карандаш появился, Спасибо. И так. Машина Witamina льёт интересным способом. Каким? После впрыска форма раскрывается. Набор дозы происходит при раскрытой форме. Да вот так. И ведь льют. Подробно это все обсудили. В плане переписывать программу, но не позволяет контроллер с ограниченными возможностями. Скопирую краткое объяснение. Видео для автора о последовательности литья.
-
- Эксперт Гидравлик
- Сообщения: 5584
- Зарегистрирован: 24 окт 2012, 20:41
- Страна, Регион, Область: СССР
- Город: Деревня Малая Малявня
- Откуда: деревня МАЛАЯ МАЛЯВНЯ
- Благодарил (а): 602 раза
- Поблагодарили: 816 раз
Re: KuASY 1400/250
Объяснение Witamin:Изначально вся переделка не по плану пошла, контроллер взял какой был -пр102, на ней неудобно циклические программы сложные делать, надо под это плк брать, панель оператора сенсорную надо, чтобы оперативно и настройки менять и видеть весь цикл, у меня опять из того что было, символьная неудобная для оператора. Как в песне у Высоцкого все не то и все не так
-
- Эксперт Гидравлик
- Сообщения: 5584
- Зарегистрирован: 24 окт 2012, 20:41
- Страна, Регион, Область: СССР
- Город: Деревня Малая Малявня
- Откуда: деревня МАЛАЯ МАЛЯВНЯ
- Благодарил (а): 602 раза
- Поблагодарили: 816 раз
Re: KuASY 1400/250
Файл можно получить по ссылке:
VID-20240401-WA0004.mp4
https://disk.yandex.ru/i/4IWn6_fX-3I3QQ Это последнее. Льем как получилось. Нужны штуки.
VID-20240401-WA0004.mp4
https://disk.yandex.ru/i/4IWn6_fX-3I3QQ Это последнее. Льем как получилось. Нужны штуки.
-
- Сообщения: 199
- Зарегистрирован: 18 ноя 2010, 15:53
- Страна, Регион, Область: Алтайский край
- Город: Барнаул
- Благодарил (а): 32 раза
- Поблагодарили: 19 раз
Re: KuASY 1400/250
Приветствую. Возник вопрос. кажется работа коромысла не совсем корректна. Куаси 1400\250 начало смены час работа нормально.1. Потом после цикла форма не открывается не срабатывает У102.Пока не нажмешь на скорость открывания форма не откроется. . 2. по видео начало цикла (лево) скорость впрыска сработало магнит сработал но видно что коромысло стоит на месте а должно подняться и поднять скорость . Корректность работы час полтора потом открытие формы только рукой.
-
- Эксперт Гидравлик
- Сообщения: 5584
- Зарегистрирован: 24 окт 2012, 20:41
- Страна, Регион, Область: СССР
- Город: Деревня Малая Малявня
- Откуда: деревня МАЛАЯ МАЛЯВНЯ
- Благодарил (а): 602 раза
- Поблагодарили: 816 раз
Re: KuASY 1400/250
Добрый день. По пункту 1: Нонсенс такой, если не сработал 102-й форма не откроется ни когда, хоть обожмись на коромысло. По пункту 2-му: Не вижу включения магнита и поворота вала. Вал повернуться обязан а вот коромысло рычаг через пару пружин нажмет ли на золотничек это вопрос. Этот гимор описан в теме с навеской резинок пружинок и прочих соплей.kilbil писал(а): ↑11 май 2024, 14:16Приветствую. Возник вопрос. кажется работа коромысла не совсем корректна. Куаси 1400\250 начало смены час работа нормально.1. Потом после цикла форма не открывается не срабатывает У102.Пока не нажмешь на скорость открывания форма не откроется. . 2. по видео начало цикла (лево) скорость впрыска сработало магнит сработал но видно что коромысло стоит на месте а должно подняться и поднять скорость . Корректность работы час полтора потом открытие формы только рукой.
-
- Сообщения: 199
- Зарегистрирован: 18 ноя 2010, 15:53
- Страна, Регион, Область: Алтайский край
- Город: Барнаул
- Благодарил (а): 32 раза
- Поблагодарили: 19 раз
Re: KuASY 1400/250
Вячеслав приветствую. В том то и дело 102 не срабатывает пока я пальчиком не качну вниз. И происходит это после часа отличной работы.
-
- Сообщения: 199
- Зарегистрирован: 18 ноя 2010, 15:53
- Страна, Регион, Область: Алтайский край
- Город: Барнаул
- Благодарил (а): 32 раза
- Поблагодарили: 19 раз
Re: KuASY 1400/250
По второму: начало работы глазами вижу смыкание, магнит вверх скорость впрыска есть. Прошел цикл сброс давления коромысло вниз влево открытие. Час работы. магнит скорости включение- коромысло стоит на месте и после цикла не срабатывает 102.
Кто сейчас на конференции
Сейчас этот форум просматривают: нет зарегистрированных пользователей и 12 гостей