Тоха здравствуй. Согласен и скорее НЕТ. Но дело в том, что запарки нет. Все на месте, только руки приложить. Себестоимость три рубля. А перевод на другую станцию Что ты Что ты. Денег едва на курево выделяется и то через раз. Я бы конечно, на всех машинах в России поставил бы и станции новые и питатели с контролем прозрачные. Но "ростом" не вышел. Только сначала защиту от попадания масла на продукцию надо восстановить. И питатели с магистральными трубками то же будем менять? И КРМ на стол, не везде подлезешь. НЕТ Тоха. Эта система у особо одаренных не работала вскорости после рождения. Просто мазилка кончилась. А значит мы правильно идем.
Смазка коленно-рычажной системы
-
- Эксперт Гидравлик
- Сообщения: 5583
- Зарегистрирован: 24 окт 2012, 20:41
- Страна, Регион, Область: СССР
- Город: Деревня Малая Малявня
- Откуда: деревня МАЛАЯ МАЛЯВНЯ
- Благодарил (а): 602 раза
- Поблагодарили: 816 раз
Re: Смазка коленно-рычажной системы
-
- Сообщения: 3455
- Зарегистрирован: 02 фев 2020, 10:56
- Страна, Регион, Область: Германия
- Город: NRW
- Благодарил (а): 1219 раз
- Поблагодарили: 1429 раз
Re: Смазка коленно-рычажной системы
Да Слава ,я тоже сразу подумал о жидкой системе , но Тоха опередил
. К стати чуть в сторону от темы. Видит ли кто преимущества коленной системы ? Я , честно сказать не очень. Хотя , может опыта не хватает. Со всего парка только две машины. Одна очень старая , но живучая bat 450 . Высоту подогнать , целая наука. Когда-то , когда начинал , был такой bat с дисками . Вскорости выкинули . Чего это вообще за система? Поворачиваешь ключ и один диск , выкручиваясь подводится к другому. Ставишь зазор больше на глаз. Совсем мало работал , толком и не помню. Сейчас конечно всё проще.
Nein zum Krieg.
-
- Эксперт Гидравлик
- Сообщения: 5583
- Зарегистрирован: 24 окт 2012, 20:41
- Страна, Регион, Область: СССР
- Город: Деревня Малая Малявня
- Откуда: деревня МАЛАЯ МАЛЯВНЯ
- Благодарил (а): 602 раза
- Поблагодарили: 816 раз
Re: Смазка коленно-рычажной системы
Речь товарищи, немного еще не о том, ЖИДКАЯ смазка или ГУСТАЯ пластичная. А о системе: Наша- ПРОГРЕССИВНАЯ. Кто то не обратил внимания на разницу. Множество ТПА со смазкой ИМПУЛЬСНОЙ. ТАК вот: Прогрессивная система ( если кто файлы читал через строчку) Это система последовательного действия, если хотя бы один канал или точка не смажется, машина прекратит работу. А при импульсной самой распространенной, и несколько точек будут неисправны, машина продолжит работу. Поэтому где ответственность за смазку и узлы высокая, там устанавливается ПРОГРЕССИВНАЯ система самая простая и умная. Еще пример: Сравним две новогодние гирлянды. 1)Лампочки последовательно. 2)Лампочки параллельно. На гирлянде с последовательной цепью , лампочка сгорит-гирлянда что? Погасла и пока лампочку сгоревшую не найдешь и не заменишь гирлянда не заработает. В параллельной цепи , вы даже не заметите потерянную сгоревшую лампу, Гирлянда как работала так и будет работать.
-
- Эксперт Гидравлик
- Сообщения: 5583
- Зарегистрирован: 24 окт 2012, 20:41
- Страна, Регион, Область: СССР
- Город: Деревня Малая Малявня
- Откуда: деревня МАЛАЯ МАЛЯВНЯ
- Благодарил (а): 602 раза
- Поблагодарили: 816 раз
Re: Смазка коленно-рычажной системы
ИМПУЛЬСНАЯ система. Уязвимая по контролю за всеми точками смазки. Прогрессивная не допустит голодание смазки не зависимо от количества точек и расстояния. На файлах питатели и схема Импульсной автосмазки.
- Рейтинг: 5%
-
- Сообщения: 580
- Зарегистрирован: 20 мар 2015, 11:03
- Страна, Регион, Область: Россия
- Город: Россия
- Благодарил (а): 92 раза
- Поблагодарили: 296 раз
Re: Смазка коленно-рычажной системы
А пальцы там как вообще. Столько лет без смазкиЗЮМ писал(а): ↑17 мар 2020, 16:13Тоха здравствуй. Согласен и скорее НЕТ. Но дело в том, что запарки нет. Все на месте, только руки приложить. Себестоимость три рубля. А перевод на другую станцию Что ты Что ты. Денег едва на курево выделяется и то через раз. Я бы конечно, на всех машинах в России поставил бы и станции новые и питатели с контролем прозрачные. Но "ростом" не вышел. Только сначала защиту от попадания масла на продукцию надо восстановить. И питатели с магистральными трубками то же будем менять? И КРМ на стол, не везде подлезешь. НЕТ Тоха. Эта система у особо одаренных не работала вскорости после рождения. Просто мазилка кончилась. А значит мы правильно идем.
Крм это скорость все таки да и как по мне точность. Енгеля с крмом очень точные. Однако это все таки энгели. У них даже измерительные линейки и те паралельный код выводят.Артур69 писал(а): ↑17 мар 2020, 18:35Да Слава ,я тоже сразу подумал о жидкой системе , но Тоха опередил. К стати чуть в сторону от темы. Видит ли кто преимущества коленной системы ? Я , честно сказать не очень. Хотя , может опыта не хватает. Со всего парка только две машины. Одна очень старая , но живучая bat 450 . Высоту подогнать , целая наука. Когда-то , когда начинал , был такой bat с дисками . Вскорости выкинули . Чего это вообще за система? Поворачиваешь ключ и один диск , выкручиваясь подводится к другому. Ставишь зазор больше на глаз. Совсем мало работал , толком и не помню. Сейчас конечно всё проще.
- Рейтинг: 10%
-
- Эксперт Гидравлик
- Сообщения: 5583
- Зарегистрирован: 24 окт 2012, 20:41
- Страна, Регион, Область: СССР
- Город: Деревня Малая Малявня
- Откуда: деревня МАЛАЯ МАЛЯВНЯ
- Благодарил (а): 602 раза
- Поблагодарили: 816 раз
Re: Смазка коленно-рычажной системы
В том то и дело что пока в норме относительной. Тут побегав по ипешникам и по другим фирмам по металлообработке. По деталям КРМ. не реально: Сроки, качество, цены. Не тянем. ЛУчше за смазкой следить. Не все это понимают. 

-
- Эксперт Гидравлик
- Сообщения: 5583
- Зарегистрирован: 24 окт 2012, 20:41
- Страна, Регион, Область: СССР
- Город: Деревня Малая Малявня
- Откуда: деревня МАЛАЯ МАЛЯВНЯ
- Благодарил (а): 602 раза
- Поблагодарили: 816 раз
Re: Смазка коленно-рычажной системы
Просьба: Показать фото питателей распределителей на современных ДЕМАГАх с жидкой смазкой. Еще чуток о импульсных питателях
-
- Эксперт Гидравлик
- Сообщения: 5583
- Зарегистрирован: 24 окт 2012, 20:41
- Страна, Регион, Область: СССР
- Город: Деревня Малая Малявня
- Откуда: деревня МАЛАЯ МАЛЯВНЯ
- Благодарил (а): 602 раза
- Поблагодарили: 816 раз
Re: Смазка коленно-рычажной системы
Думаю самые продвинутые ТПА комплектуются Прогрессивной системой. Работал с ХАСКИ . Канада офис в Люксенбурге. Там питательные распределительные блоки имели штифтовой контроль на каждой точке выхода смазки. Вышел штифт волноваться не стоит. Не вышел- Остановка машины. И место неисправности и точка сразу видна. 100% гарантия. Все аргументы закончились. Восстановим систему ДЕМАГА - отпишемся. И заживет КРМ новой жизнью. Потом шум начнется по попаданию смазки на изделия. Ведь ГОЛУБЯТНЮ иногда и чистить надо. 

-
- Сообщения: 580
- Зарегистрирован: 20 мар 2015, 11:03
- Страна, Регион, Область: Россия
- Город: Россия
- Благодарил (а): 92 раза
- Поблагодарили: 296 раз
Re: Смазка коленно-рычажной системы
Делюсь
Демаги Лыжи. Как раз двухзолотниковая схема. Енгеля.
- Рейтинг: 5%
-
- Сообщения: 580
- Зарегистрирован: 20 мар 2015, 11:03
- Страна, Регион, Область: Россия
- Город: Россия
- Благодарил (а): 92 раза
- Поблагодарили: 296 раз
Re: Смазка коленно-рычажной системы
Енгеля. Два датчика. Один на низкое (6 бар) при пуске. Другой на высокое (20 бар вроде) при заполнении.
Батенфильды
Ни и JSW электричка.
- Рейтинг: 10%
-
- Эксперт Гидравлик
- Сообщения: 5583
- Зарегистрирован: 24 окт 2012, 20:41
- Страна, Регион, Область: СССР
- Город: Деревня Малая Малявня
- Откуда: деревня МАЛАЯ МАЛЯВНЯ
- Благодарил (а): 602 раза
- Поблагодарили: 816 раз
Re: Смазка коленно-рычажной системы
Первый пост по ДЕМАГУ и прискорбное продолжение: На машине механизма зажима-смыкания 26 точек смазки. Решили сегодня прокачать ручным нагнетателем каждую из 26-ти трубок. На колонны смазка прошла хорошо. А дальше 30% из 24-х затык. Попытались давить, разорвало одну трубку, потом вторую, потом лопнул штатный шланг гибкий, нагнетателя. Сняли трубку с КУАСИ. Резьбы подошли.Приладили на нагнетатель. Продолжили и бросили.ЗЮМ писал(а): ↑17 мар 2020, 14:06ДЕМАГ. Не работает смазка КРМ. Очень давно не работает на двух машинах. Смазка консистентная. Пол дня просидели и поняли, быстро тут не получится. Хотелось бы поподробней разобраться с этим вопросом вместе с имеющими опыт специалистами и не специалистами, кто как решает вопросы по неисправностям этой системы. Подробно для гостей и начинающих. Выше уже говорилось о выборе смазок. В начале только принцип работы и ремонт отказов. И у кого система работает успешно и долго и как вам это удалосьНужен ваш опыт, что бы не гулять в трех соснах. Лично у меня опыт с Демагами не большой. С такими системами смазок плотно не работал. Поэтому в начале собрал кой какую информацию. План: 1) Заставить систему работать. Наши шаги. И ВАШИ. Скоротаем свободное время вместе. Потихоньку.

- Рейтинг: 5%
-
- Эксперт Гидравлик
- Сообщения: 5583
- Зарегистрирован: 24 окт 2012, 20:41
- Страна, Регион, Область: СССР
- Город: Деревня Малая Малявня
- Откуда: деревня МАЛАЯ МАЛЯВНЯ
- Благодарил (а): 602 раза
- Поблагодарили: 816 раз
Re: Смазка коленно-рычажной системы
Я, ниже подписавшийся упертый , очень упертый ОВЕН с молчаливого согласия всех форумчан, без санкции прокурора в 00 часов 00 минут принял такое решение: Раскидать ДЕМАГ по косточкам и разложить все по полочкам. И обязуюсь на зло Коронавирусу сделать как ДОЛЖНО и будь что будет. Не когда нам туалетной бумагой и гречкой запасаться. 

- За это сообщение автора ЗЮМ поблагодарили (всего 3):
- Артур69 • muhomornik • Figaro
- Рейтинг: 15%
-
- Эксперт Гидравлик
- Сообщения: 5583
- Зарегистрирован: 24 окт 2012, 20:41
- Страна, Регион, Область: СССР
- Город: Деревня Малая Малявня
- Откуда: деревня МАЛАЯ МАЛЯВНЯ
- Благодарил (а): 602 раза
- Поблагодарили: 816 раз
Re: Смазка коленно-рычажной системы
Я так понимаю, Артур дал добро на само произвол во благо. Будешь соучастником. Нам не чего терять кроме своих цепей.ЗЮМ писал(а): ↑20 мар 2020, 00:08Я, ниже подписавшийся упертый , очень упертый ОВЕН с молчаливого согласия всех форумчан, без санкции прокурора в 00 часов 00 минут принял такое решение: Раскидать ДЕМАГ по косточкам и разложить все по полочкам. И обязуюсь на зло Коронавирусу сделать как ДОЛЖНО и будь что будет. Не когда нам туалетной бумагой и гречкой запасаться.![]()
-
- Сообщения: 3455
- Зарегистрирован: 02 фев 2020, 10:56
- Страна, Регион, Область: Германия
- Город: NRW
- Благодарил (а): 1219 раз
- Поблагодарили: 1429 раз
Re: Смазка коленно-рычажной системы
А что , у меня теперь времени много будет. Заняться нечем . Решили нас всё таки выпнуть , в счёт своего отпуска. Выкрутились паразитыЗЮМ писал(а): ↑20 мар 2020, 00:28Я так понимаю, Артур дал добро на само произвол во благо. Будешь соучастником. Нам не чего терять кроме своих цепей.ЗЮМ писал(а): ↑20 мар 2020, 00:08Я, ниже подписавшийся упертый , очень упертый ОВЕН с молчаливого согласия всех форумчан, без санкции прокурора в 00 часов 00 минут принял такое решение: Раскидать ДЕМАГ по косточкам и разложить все по полочкам. И обязуюсь на зло Коронавирусу сделать как ДОЛЖНО и будь что будет. Не когда нам туалетной бумагой и гречкой запасаться.![]()
Дети мне сегодня . Пап что с это бумагой , перебои будут или что за бум ? Ничего говорю не переживайте , мы раньше о туалетной бумаге и не знали , и ничего
- Рейтинг: 5%
Nein zum Krieg.
-
- Сообщения: 580
- Зарегистрирован: 20 мар 2015, 11:03
- Страна, Регион, Область: Россия
- Город: Россия
- Благодарил (а): 92 раза
- Поблагодарили: 296 раз
Re: Смазка коленно-рычажной системы
А стол покажите монтажный для крма? Моя голубая мечта

По крму впрочем ожидаемо было. Это кстати проблема извечная для ЦСС. Хоть штифтовые ставь хоть датчики давления. Если закоксуется вход в палец, то не узнаешь. Работать то будет в обычном режиме. И вот кстати скрытый плюс жидкой. КРМ помыл - запустил в работу. Через пару дней проверил. Если течет значит все хорошо.

- Рейтинг: 5%
-
- Эксперт Гидравлик
- Сообщения: 5583
- Зарегистрирован: 24 окт 2012, 20:41
- Страна, Регион, Область: СССР
- Город: Деревня Малая Малявня
- Откуда: деревня МАЛАЯ МАЛЯВНЯ
- Благодарил (а): 602 раза
- Поблагодарили: 816 раз
Re: Смазка коленно-рычажной системы
Тоха , спасибо, рыбак рыбака видит из далека
все в точку. Монтажные столы стоят в недостроенном "техцентре". А тут мы на вольном поселении. Монтажный стол: Берем две -три-четыре бочки, накрываем плоским листом ( металл, толстая фанера, ограждения подходящие, это все рядом) и стол готов. Фото покажем, как в полевых условиях работу делать не на коленках. Кстати ТАМОЖНЯ дала добро. Забираем машину на Месяц. Главное быстро разобрать, пока Рокфеллеры не передумали. И вирус окончательно не озверел.Есть две кувалды по 8 и 10 кг. 


- Рейтинг: 5%
-
- Сообщения: 3455
- Зарегистрирован: 02 фев 2020, 10:56
- Страна, Регион, Область: Германия
- Город: NRW
- Благодарил (а): 1219 раз
- Поблагодарили: 1429 раз
Re: Смазка коленно-рычажной системы
Чтоб разрезать всё на лом и продать , пока хозяина нет
Nein zum Krieg.
-
- Эксперт Гидравлик
- Сообщения: 5583
- Зарегистрирован: 24 окт 2012, 20:41
- Страна, Регион, Область: СССР
- Город: Деревня Малая Малявня
- Откуда: деревня МАЛАЯ МАЛЯВНЯ
- Благодарил (а): 602 раза
- Поблагодарили: 816 раз
Re: Смазка коленно-рычажной системы
Все есть. Меняем запчасти на туалетную бумагу. По весу.

- Рейтинг: 10%
-
- Сообщения: 2183
- Зарегистрирован: 27 апр 2013, 02:27
- Страна, Регион, Область: Владимирская обл.
- Город: Владимир
- Благодарил (а): 772 раза
- Поблагодарили: 552 раза
Re: Смазка коленно-рычажной системы
Хорошо если у пальцев посадка скользящая, а вот если пальцы запрессованы, то без резака никак :)
- Рейтинг: 5%
-
- Сообщения: 3455
- Зарегистрирован: 02 фев 2020, 10:56
- Страна, Регион, Область: Германия
- Город: NRW
- Благодарил (а): 1219 раз
- Поблагодарили: 1429 раз
Re: Смазка коленно-рычажной системы
Да шучу я , может не совсем удачно
Nein zum Krieg.
-
- Эксперт Гидравлик
- Сообщения: 5583
- Зарегистрирован: 24 окт 2012, 20:41
- Страна, Регион, Область: СССР
- Город: Деревня Малая Малявня
- Откуда: деревня МАЛАЯ МАЛЯВНЯ
- Благодарил (а): 602 раза
- Поблагодарили: 816 раз
Re: Смазка коленно-рычажной системы
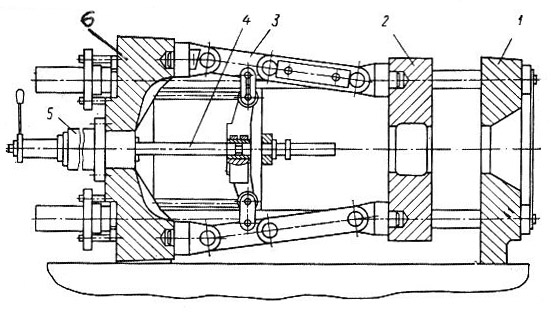
Доживем до Понедельника.Средний ремонт отдельных узлов ТПА.( многоцелевой) Приоритет Смазка КРМ. План: 1. Ставим плиту и крм в удобное положение. 2. Снимаем двери и ограждения. 3. Маркируем колонны- опорные гайки номерами. 4. Ставим метки на шестернях ( зуб в зуб) механизма монтажной высоты. 5. Развинчиваем крепеж. 6. Выдвигаемые пару колонн. 7. Разсухариваем пальцы. 8. Снимаем питатели смазки на ТО и проверку работы ручным нагнетателем. Смотрим номера выходов. Маркируем трубки. 9. Отсоединяем трубки от конечных точек.10. Извлекаемые пальцы крестовины. 11. Извлекаемые пальцы из рычагов. 12. Извлекаемые рычаги. 13. Демонтируем направляющие колонки крестовины. 14. Демонтируем крестовину, отсоединив от штока цилиндра. 15. Готовим ведро керосина и ванну. 16. Моём все. И машину. 17. Проверяемых степень износа колонн, пальцев, втулок ушей и рычагов. 18. Прочищаем, продуваем каналы смазки. 19. Приобретаемые магистральные трубки. Устанавливаемые пистоны и нипеля. 20. Делаем чертежи на потрепанные вещи. ( На заказ и подготовку к следующему ремонту.) Обратная сборка. Средний ремонт КРМ. 40-80 часов. 2 молотобойца. Кстати пальцы на Куаси 410/100 готовы.27000 руб. Это Москва. За 6 штук. Нормочас от 1500-1800 на все операции. Так нам объявили.
-
- Сообщения: 3455
- Зарегистрирован: 02 фев 2020, 10:56
- Страна, Регион, Область: Германия
- Город: NRW
- Благодарил (а): 1219 раз
- Поблагодарили: 1429 раз
Re: Смазка коленно-рычажной системы
Ну план серьёзный , но выполнимый. К стати колонны вытащить получится нормально? У нас на одной BAT 1300 колонна лопнула , прямо возе крепежа. Пришлось вытаскивать со стороны шнека . Колонна нижняя. Пришлось всю машину половинить и отодвигать в сторону. Просто потому что какой-то умный дядя при установке прошляпил. Другой стороной машина стоит близко к стене . Колонну вынуть просто не хватило места . Ну там и размеры конечно.ЗЮМ писал(а): ↑20 мар 2020, 12:56Доживем до Понедельника.Средний ремонт отдельных узлов ТПА.( многоцелевой) Приоритет Смазка КРМ. План: 1. Ставим плиту и крм в удобное положение. 2. Снимаем двери и ограждения. 3. Маркируем колонны- опорные гайки номерами. 4. Ставим метки на шестернях ( зуб в зуб) механизма монтажной высоты. 5. Развинчиваем крепеж. 6. Выдвигаемые пару колонн. 7. Разсухариваем пальцы. 8. Снимаем питатели смазки на ТО и проверку работы ручным нагнетателем. Смотрим номера выходов. Маркируем трубки. 9. Отсоединяем трубки от конечных точек.10. Извлекаемые пальцы крестовины. 11. Извлекаемые пальцы из рычагов. 12. Извлекаемые рычаги. 13. Демонтируем направляющие колонки крестовины. 14. Демонтируем крестовину, отсоединив от штока цилиндра. 15. Готовим ведро керосина и ванну. 16. Моём все. И машину. 17. Проверяемых степень износа колонн, пальцев, втулок ушей и рычагов. 18. Прочищаем, продуваем каналы смазки. 19. Приобретаемые магистральные трубки. Устанавливаемые пистоны и нипеля. 20. Делаем чертежи на потрепанные вещи. ( На заказ и подготовку к следующему ремонту.) Обратная сборка. Средний ремонт КРМ. 40-80 часов. 2 молотобойца. Кстати пальцы на Куаси 410/100 готовы.27000 руб. Это Москва. За 6 штук. Нормочас от 1500-1800 на все операции. Так нам объявили.
Nein zum Krieg.
-
- Сообщения: 580
- Зарегистрирован: 20 мар 2015, 11:03
- Страна, Регион, Область: Россия
- Город: Россия
- Благодарил (а): 92 раза
- Поблагодарили: 296 раз
Re: Смазка коленно-рычажной системы
Там разве тензодатчика не стоит который усилие смыкания выводит?ЗЮМ писал(а): ↑20 мар 2020, 12:56Доживем до Понедельника.Средний ремонт отдельных узлов ТПА.( многоцелевой) Приоритет Смазка КРМ. План: 1. Ставим плиту и крм в удобное положение. 2. Снимаем двери и ограждения. 3. Маркируем колонны- опорные гайки номерами. 4. Ставим метки на шестернях ( зуб в зуб) механизма монтажной высоты. 5. Развинчиваем крепеж. 6. Выдвигаемые пару колонн. 7. Разсухариваем пальцы. 8. Снимаем питатели смазки на ТО и проверку работы ручным нагнетателем. Смотрим номера выходов. Маркируем трубки. 9. Отсоединяем трубки от конечных точек.10. Извлекаемые пальцы крестовины. 11. Извлекаемые пальцы из рычагов. 12. Извлекаемые рычаги. 13. Демонтируем направляющие колонки крестовины. 14. Демонтируем крестовину, отсоединив от штока цилиндра. 15. Готовим ведро керосина и ванну. 16. Моём все. И машину. 17. Проверяемых степень износа колонн, пальцев, втулок ушей и рычагов. 18. Прочищаем, продуваем каналы смазки. 19. Приобретаемые магистральные трубки. Устанавливаемые пистоны и нипеля. 20. Делаем чертежи на потрепанные вещи. ( На заказ и подготовку к следующему ремонту.) Обратная сборка. Средний ремонт КРМ. 40-80 часов. 2 молотобойца. Кстати пальцы на Куаси 410/100 готовы.27000 руб. Это Москва. За 6 штук. Нормочас от 1500-1800 на все операции. Так нам объявили.
По пальцам, это только ценник на токарные операции или вместе с закалкой/шлифовкой?
-
- Эксперт Гидравлик
- Сообщения: 5583
- Зарегистрирован: 24 окт 2012, 20:41
- Страна, Регион, Область: СССР
- Город: Деревня Малая Малявня
- Откуда: деревня МАЛАЯ МАЛЯВНЯ
- Благодарил (а): 602 раза
- Поблагодарили: 816 раз
Re: Смазка коленно-рычажной системы
Датчик есть. По пальцам ценник: Ценник со всеми операциями 7500р шт.= 45000р. 1) Токарка 2) фрезеровка. 3) сверловка 4) нарезка резьбы. 5) заглушки. 6) Термичка. 7) шлифовка.Ценник Был заметно больше. Как поступили: Купили кругляк Ст 45. Закаленный ТВЧ на глубину 1,5 мм. Нарезанный в размер.Диаметр Ф45-0,05;-0,07. Токарка только торцовка.1) Фрезеровка. 2) сверловка. 3) Нарезка резьбы. 4) заглушки.4500р шт=27000. Можно делать самим при наличии фрезерного и ток. станков. Плакали конечно стонали, типа очень твердость высокая, фрезы летят и прочее. Тоха , а почему про датчик спросил? Честно говоря о нем я не подумал. Подводный камень? ( стоимость твердосплавной фрезы от 2500р.)
-
- Сообщения: 580
- Зарегистрирован: 20 мар 2015, 11:03
- Страна, Регион, Область: Россия
- Город: Россия
- Благодарил (а): 92 раза
- Поблагодарили: 296 раз
Re: Смазка коленно-рычажной системы
Ну камень не камень, я не в курсе что там за датчик стоит. На чуть более свежих демагах стоял S образный датчик натянутый двумя тягами-шпильками. И я вот такой как то раскрутил, будучи еще зеленым, не пометив естественноЗЮМ писал(а): ↑20 мар 2020, 16:13Датчик есть. По пальцам ценник: Ценник со всеми операциями 7500р шт.= 45000р. 1) Токарка 2) фрезеровка. 3) сверловка 4) нарезка резьбы. 5) заглушки. 6) Термичка. 7) шлифовка.Ценник Был заметно больше. Как поступили: Купили кругляк Ст 45. Закаленный ТВЧ на глубину 1,5 мм. Нарезанный в размер.Диаметр Ф45-0,05;-0,07. Токарка только торцовка.1) Фрезеровка. 2) сверловка. 3) Нарезка резьбы. 4) заглушки.4500р шт=27000. Можно делать самим при наличии фрезерного и ток. станков. Плакали конечно стонали, типа очень твердость высокая, фрезы летят и прочее. Тоха , а почему про датчик спросил? Честно говоря о нем я не подумал. Подводный камень? ( стоимость твердосплавной фрезы от 2500р.)

-
- Эксперт Гидравлик
- Сообщения: 5583
- Зарегистрирован: 24 окт 2012, 20:41
- Страна, Регион, Область: СССР
- Город: Деревня Малая Малявня
- Откуда: деревня МАЛАЯ МАЛЯВНЯ
- Благодарил (а): 602 раза
- Поблагодарили: 816 раз
Re: Смазка коленно-рычажной системы
Да видел там что то на вроде компаса.Будем осторожны. Спасибо. И параллельность плит не нарушим. И спаренные силовые детали не разлучим.
Кто сейчас на конференции
Сейчас этот форум просматривают: нет зарегистрированных пользователей и 11 гостей