Полоса на лицевой стороне изделия

- Экструзия с раздувом. Сюда же пишем про инжекцию с раздувом, а также про выдув ПЭТ и тому подобные газообразные дела (про литьё с газом - в "Литьё под давлением").
- All about blow molding technology and all other tecnologies which are using gas in the mold (e.g. PET blowing). Please, to post about gas injection molding in the "Injection molding".
Сообщение
Автор
nikitoz-0803
Сообщения: 42
Зарегистрирован: 12 апр 2016, 09:37
Страна, Регион, Область: Россия Самарская обл.
Город: Сызрань
Благодарил (а): 0
Поблагодарили: 0

Re: Вопрос по выдуву тары.

#31 Сообщение nikitoz-0803 » 04 май 2016, 14:07

[quote="martensito"]1 прилегать должны плотно нижний радиус зависит от внутреннего диаметра головы в вашем случае R=45mm
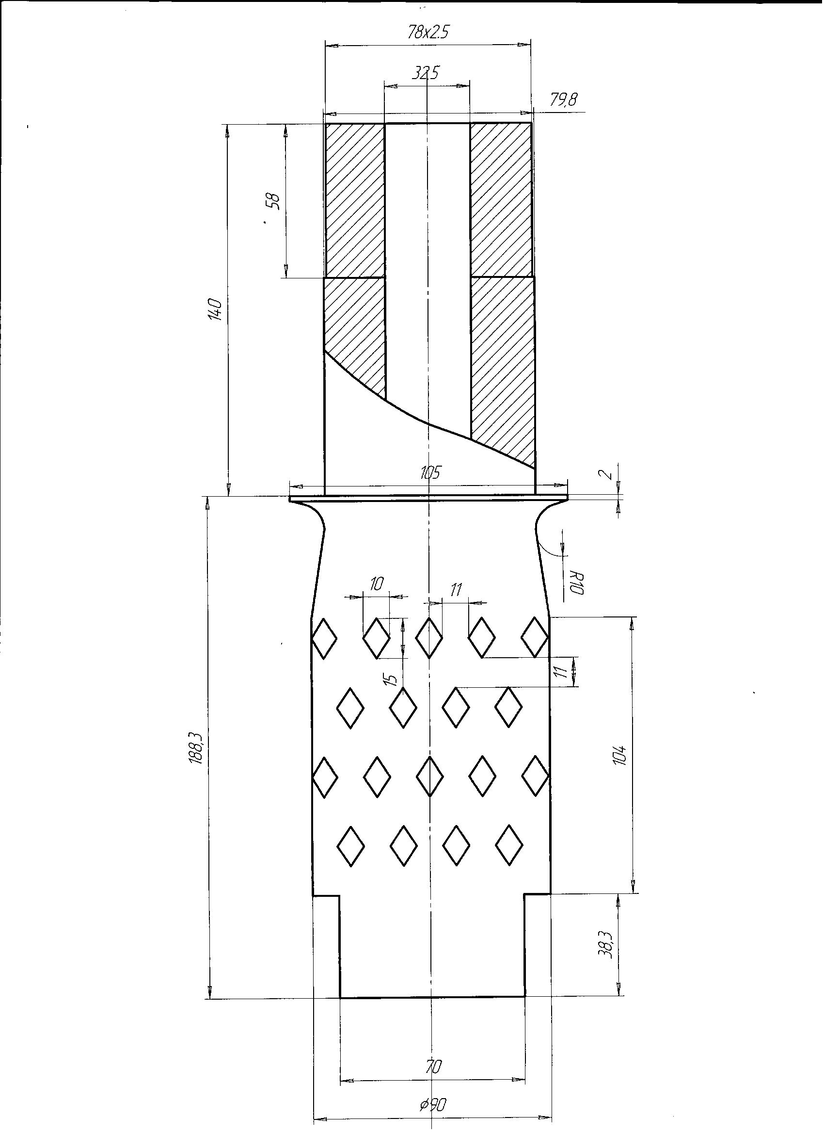
2 длинна окружности / (ширина рассекателя+ 2/3 его же ширины) так же и с высотой 90*3.14/(10+6,7)=17 шт 104/(15+10)=4 ____104/4-15=11 все зависит от размеров
Вложения
martensito посмотрите правильно ли я вас понял.
martensito посмотрите правильно ли я вас понял.

martensito
Сообщения: 55
Зарегистрирован: 20 сен 2014, 14:07
Страна, Регион, Область: беларусь
Город: витебск
Благодарил (а): 9 раз
Поблагодарили: 3 раза

Re: Вопрос по выдуву тары.

#32 Сообщение martensito » 04 май 2016, 16:34

да вы правильно всё поняли
Вложения
Матрица с рассекателеми.jpg

nikitoz-0803
Сообщения: 42
Зарегистрирован: 12 апр 2016, 09:37
Страна, Регион, Область: Россия Самарская обл.
Город: Сызрань
Благодарил (а): 0
Поблагодарили: 0

Re: Вопрос по выдуву тары.

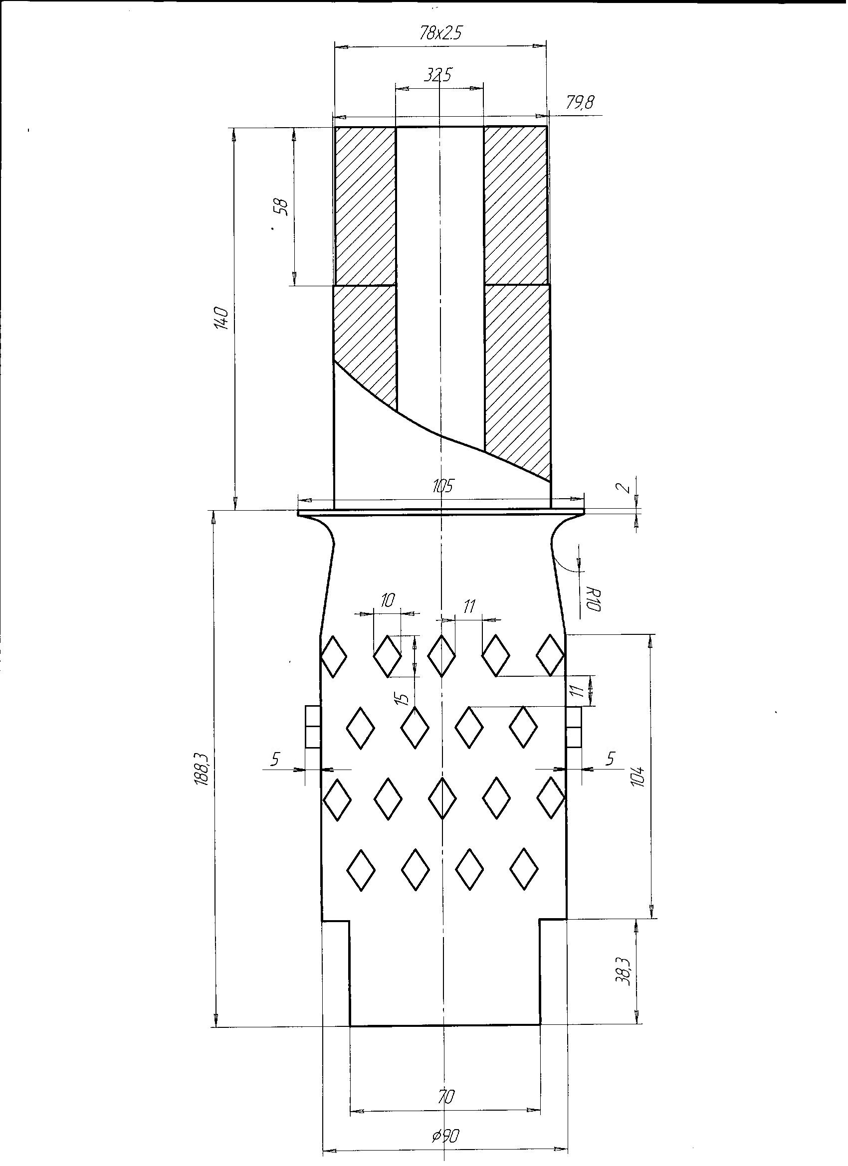
#33 Сообщение nikitoz-0803 » 11 май 2016, 14:01

martensito сделал раскладку по матрице у меня получилось 56 рассекателей, оставить так и попробовать, или можно уменьшить сразу количество рассекателей? И еще на мой прошлый вопрос вы прислали ответ с рисунком в котором указан размер одного сегмента рассекателя в 5 мм. таким образом у меня образуется зазор между радиусом головки и рассекателями в 3.5 мм. на стенку, 7 мм. на диаметр оставить так, или сделать так что бы рассекатели плотно прилегали к плоскости внутренней части головки?????

martensito
Сообщения: 55
Зарегистрирован: 20 сен 2014, 14:07
Страна, Регион, Область: беларусь
Город: витебск
Благодарил (а): 9 раз
Поблагодарили: 3 раза

Re: Вопрос по выдуву тары.

#34 Сообщение martensito » 11 май 2016, 23:37

с рассекателями надо пробовать можно уменьшить но оставьте пространство для маневра
плотно нельзя проверено будет образовываться что то типа шва зазор 3.5 мм норм не будет разнотолщинности по диаметру

nikitoz-0803
Сообщения: 42
Зарегистрирован: 12 апр 2016, 09:37
Страна, Регион, Область: Россия Самарская обл.
Город: Сызрань
Благодарил (а): 0
Поблагодарили: 0

Re: Вопрос по выдуву тары.

#35 Сообщение nikitoz-0803 » 12 май 2016, 08:51

martensito писал(а):с рассекателями надо пробовать можно уменьшить но оставьте пространство для маневра
плотно нельзя проверено будет образовываться что то типа шва зазор 3.5 мм норм не будет разнотолщинности по диаметру

Окей о результатах сообщу как только добьемся какого то результата.

nikitoz-0803
Сообщения: 42
Зарегистрирован: 12 апр 2016, 09:37
Страна, Регион, Область: Россия Самарская обл.
Город: Сызрань
Благодарил (а): 0
Поблагодарили: 0

Re: Вопрос по выдуву тары.

#36 Сообщение nikitoz-0803 » 25 май 2016, 12:18

И так о результатах переделки матрицы. Не совсем удовлетворила переделка на фото видны так же подмытые полосы.
Вложения
image (3).jpg
image (2).jpg
image (1).jpg

Лорик
Сообщения: 243
Зарегистрирован: 22 мар 2015, 00:17
Страна, Регион, Область: Россия
Город: Нижний Новгород
Благодарил (а): 156 раз
Поблагодарили: 51 раз

Re: Вопрос по выдуву тары.

#37 Сообщение Лорик » 25 май 2016, 22:18

Стало лучше или теперь количество полос увеличилось?

martensito
Сообщения: 55
Зарегистрирован: 20 сен 2014, 14:07
Страна, Регион, Область: беларусь
Город: витебск
Благодарил (а): 9 раз
Поблагодарили: 3 раза

Re: Вопрос по выдуву тары.

#38 Сообщение martensito » 25 май 2016, 22:51

полосы пошли сразу при запуске или появились позже?
так выглядит последствия нагара на голове

nikitoz-0803
Сообщения: 42
Зарегистрирован: 12 апр 2016, 09:37
Страна, Регион, Область: Россия Самарская обл.
Город: Сызрань
Благодарил (а): 0
Поблагодарили: 0

Re: Вопрос по выдуву тары.

#39 Сообщение nikitoz-0803 » 26 май 2016, 07:29

Полосы пошли сразу же после прогрева и запуска, полосы похожи не совсем сказать на то что резанные но сами полосы чуть темнее основного тона. С первого момента запуска немного ушел от совета martensito и попробовал на варианте исполнения рассекаетелей когда они плотно прилегают к голове результат отрицательый были слишком выявленные полосы зато разностенность была идеальная, вторым этапом обработали капли таким образом что бы между ними и головкой был зазор 3.5 мм. На стенку, результат на фото.

nikitoz-0803
Сообщения: 42
Зарегистрирован: 12 апр 2016, 09:37
Страна, Регион, Область: Россия Самарская обл.
Город: Сызрань
Благодарил (а): 0
Поблагодарили: 0

Re: Вопрос по выдуву тары.

#40 Сообщение nikitoz-0803 » 26 май 2016, 11:13

Сегодня же с утра обратил внимание на то что остаточный под дутый шар который висел на выходе из дорн стакана ребристый снаружи.

nikitoz-0803
Сообщения: 42
Зарегистрирован: 12 апр 2016, 09:37
Страна, Регион, Область: Россия Самарская обл.
Город: Сызрань
Благодарил (а): 0
Поблагодарили: 0

Re: Вопрос по выдуву тары.

#41 Сообщение nikitoz-0803 » 26 май 2016, 11:22

Вот фото
Вложения
image-1.jpg
image.jpg

nikitoz-0803
Сообщения: 42
Зарегистрирован: 12 апр 2016, 09:37
Страна, Регион, Область: Россия Самарская обл.
Город: Сызрань
Благодарил (а): 0
Поблагодарили: 0

Re: Вопрос по выдуву тары.

#42 Сообщение nikitoz-0803 » 26 май 2016, 16:26

Лорик писал(а):Стало лучше или теперь количество полос увеличилось?
Количество полос увеличивалось когда рассекатели были проточены по внутреннему диаметру головы, после того как сняли с капель несколько мм. стало чуть получше но далеко не идеально. как например на других машинах изделия выходят равномерно окрашенные.

Аватара пользователя
kei0112
Сообщения: 1819
Зарегистрирован: 25 янв 2012, 15:14
Страна, Регион, Область: Беларусь
Город: Минск
Благодарил (а): 133 раза
Поблагодарили: 141 раз

Re: Вопрос по выдуву тары.

#43 Сообщение kei0112 » 26 май 2016, 18:30

не удивлен.
в каждом из нас спит гений. и с каждым днем всё крепче.
МИРУ - МИР!

nikitoz-0803
Сообщения: 42
Зарегистрирован: 12 апр 2016, 09:37
Страна, Регион, Область: Россия Самарская обл.
Город: Сызрань
Благодарил (а): 0
Поблагодарили: 0

Re: Вопрос по выдуву тары.

#44 Сообщение nikitoz-0803 » 26 май 2016, 22:15

Уважаемые помогите еще советом. Что можно еще помудрить.?

martensito
Сообщения: 55
Зарегистрирован: 20 сен 2014, 14:07
Страна, Регион, Область: беларусь
Город: витебск
Благодарил (а): 9 раз
Поблагодарили: 3 раза

Re: Вопрос по выдуву тары.

#45 Сообщение martensito » 26 май 2016, 22:58

nikitoz-0803 писал(а):Сегодня же с утра обратил внимание на то что остаточный под дутый шар который висел на выходе из дорн стакана ребристый снаружи.
это нормально потому что остаточный под дутый шар вылез так скать самотеком в режиме образуется давление в голове и эти огрехи по идее должны уйти почему это не происходит у Вас непонятно если можно дайте больше информации (темп. сырье ТТХ экструдера )
обратил внимание на канистре (фото 2 ) идет холодный чулок может непрогрев вобщем больше информации

кстати если красители металик то с проблемой повозится придется долго чтоб найти решение

nikitoz-0803
Сообщения: 42
Зарегистрирован: 12 апр 2016, 09:37
Страна, Регион, Область: Россия Самарская обл.
Город: Сызрань
Благодарил (а): 0
Поблагодарили: 0

Re: Вопрос по выдуву тары.

#46 Сообщение nikitoz-0803 » 27 май 2016, 10:11

Материал ПНД 273-83, температурный режим начиная с первой зоны это головка 200, 200, 190,180, 170,165-зона загрузки.(на дорн стакане нагревательного элемента нет.) Материал на выходе с дорн стакана в пределах 230-240 градусов замерял пирометром. Краситель Баско серебристый перламутр. Шнек ф90 мм. соотношение L/D 90/25. Полный цикл 22 сек.

martensito
Сообщения: 55
Зарегистрирован: 20 сен 2014, 14:07
Страна, Регион, Область: беларусь
Город: витебск
Благодарил (а): 9 раз
Поблагодарили: 3 раза

Re: Вопрос по выдуву тары.

#47 Сообщение martensito » 27 май 2016, 22:30

nikitoz-0803 писал(а): температурный режим начиная с первой зоны это головка 200, 200, 190,180, 170,165-зона загрузки.(на дорн стакане нагревательного элемента нет.) Материал на выходе с дорн стакана в пределах 230-240 градусов замерял пирометром
проверьте термоконтроллеры явно что то не то

цикл пробовали увеличить

Ответить

Вернуться в «Выдувное формование/Blow molding»

Кто сейчас на конференции

Сейчас этот форум просматривают: нет зарегистрированных пользователей и 2 гостя